1.1.1 Жидкостные термометры расширения
Принцип действия основан на различие коэффициентов объемного (теплового?) расширения термометрического вещества (ртуть, спирт, эфиры) и оболочки, в которой оно находится (термометрическое стекло).
Коэффициентом объемного расширения определяется как
, 1/°С,
где V0, Vt1, Vt2 - объемы жидкости при 0 °С, температурах t1 и t2 соответственно.
Чувствительность термометра зависит от разности коэффициентов объемного расширения термометрической жидкости и стекла, от объема резервуара и диаметра капилляра. Чувствительность термометра обычно лежит в пределах 0,4…5 мм/°С (для некоторых специальных термометров 100…200 мм/°С).
Для защиты от повреждений технические термометры монтируются в металлической оправе, а нижняя погружная часть закрывается металлической гильзой.
1.1.2 Термометры расширения твердого тела
Принцип действия основан на изменении линейных размеров твердых тел при изменении температуры. К этой группе приборов относятся дилатометрические и биметаллические термометры
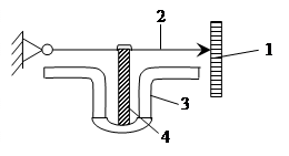
ü Конструктивное исполнение дилатометрических термометров основано на удлинении (расширение) при нагреве стержня, изготовленного из сплава с большим коэффициентом теплового расширения (никель и железо)

1 – шкала;
2 – рычаг;
3 – защитный кожух;
4 – стержень.
Применяется для местного контроля.
или на преобразовании измеряемой температуры в разность абсолютных значений удлинений двух стержней, изготовленных из материалов с существенно различными термическими коэффициентами линейного расширения:
, 1/град,
где l0, lt1, lt2 - линейные размеры тела при 0 °С, температурах t1 и t2 соответственно.
В силу того, что Db мала, дилатометрические термометры применяются в качестве различного рода тепловых реле в устройствах сигнализации и регулирования температуры.
ü Биметаллические термометры основаны на деформации биметаллической ленты при изменении температуры.
Обычно применяются биметаллические ленты, согнутые в виде плоской или винтовой спирали. Один конец спирали укреплен неподвижно, второй - на оси стрелки. Угол поворота стрелки равен углу закручивания спирали, который пропорционален изменению температуры.
Биметаллические термометры обеспечивают изменение температуры с относительными погрешностями 1 - 1,5 %.
Достоинства: - простота конструкции.
Недостатки: - ограниченный диапазон измерения;
- сложность дистанционной передачи данных.






