Шпоночные соединения. Шпонка – это деталь, которая устанавливается а пазах двух соединяемых деталей для передачи крутящего момента

Шпонка – это деталь, которая устанавливается а пазах двух соединяемых деталей для передачи крутящего момента.

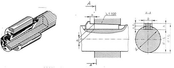
На половину высоты шпонка входит в паз вала и на половину – в паз ступицы колеса. Боковые грани шпонки передают вращение от вала к ступице и обратно.

По форме шпонки подразделяются на призматические и сегментные (ненапряженные соединения), так же клиновые (напряженные соединения).


Шпоночные соединения


- с помощью призматической шпонки

- с помощью сегментной шпонки – применяются на коротких ступицах и валах небольших диаметров


- с помощью клиновой шпонки – применяются в механизмах с высокой точностью, для предотвращения перекоса деталей


В шпоночном соединении между пазом ступицы и верхней гранью шпонки должен быть зазор. Размеры шпонок и глубина пазов на валу и в ступице определяются стандартом и зависят от диаметра вала. Длину шпонки l принимают Lст- (5…6) мм.

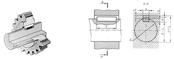
3. Шлицевые соединения

Шлицевое соединение можно рассматривать как многошпоночное, в котором шпонки и пазы под них выполнены заодно с валом и ступицей и расположены параллельно их осям. Шлицевые соединения, как и шпоночные, используются для передачи крутящего момента.

Шлицевые соединения широко применяются в автотракторной, авиационной, станкостроительной промышленности. Наличие большого числа шлицев (зубьев) позволяет передавать более значительные крутящие моменты и обеспечивает лучшую центровку ступицы и вала.


Изображение на чертеже вала и ступицы шпоночного соединения:


Шлицевые соединения могут быть с прямобочным, эвольвентным и треугольным профилем шлица.


Соединения шпонкой

- прямобочный профиль:

(z) 8 – число зубьев, (d) 36 – внутренний диаметр (D) 40 – наружный диаметр (в) 7 – ширина зубьев

- эвольвентный профиль – имеет повышенную прочность и технологичность

D – 50 – диаметр делительной окружности, m – 2 - модуль


- треугольный профиль – применяют в неподвижных шлицевых соединениях деталей для передачи небольших крутящих моментов


4. Штифтовое соединение

Штифт – это гладкий стержень цилиндрической или конической формы. Штифты используют для жесткого соединения или точной установки деталей при сборке. Конические штифты, в отличии от цилиндрических, можно использовать многократно.






Подборка статей по вашей теме: