![]()
Рис. 8.1 – Схема работы бульдозера при разработке грунтов: а – резание, б – транспортирование с подрезанием, в – отсыпка, г – откат назад (холостой ход). |
Рис.8.2 –Схемы устройств и основные параметры гусеничных бульдозеров: а – с поворотным отвалом; б - с неповоротным отвалом; в – схема вертикального перекоса отвала | ||||||
![]()
Рис 8.3 – Типы бульдозерных отвалов: 1 – прямой поворотный, 2 – прямой неповоротный, 3 – полусферический, 4 – сферический, 5 – сферический для сыпучих материалов, 6 – с толкающей плитой.
|
|
Рис. 8.4 – Гусеничный бульдозер с неповоротным отвалом: а - конструктивная схема, б - кинематическая схема отвала | ||||
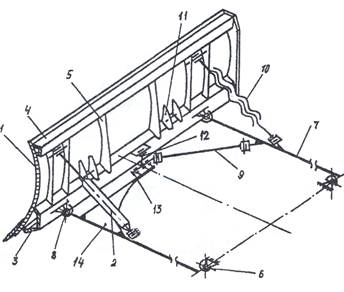
Рис. 8.5 – Конструктивная схема гусеничного бульдозера с поворотным отвалом
|
Рис.8.6. - Пневмоколесный бульдозер-погрузчик ДЗ-133
| ||||
Рис.8.7 – Пневмоколесный бульдозер БелАЗ-7823
| |||||


Рис 8.3 – Типы бульдозерных отвалов: 1 – прямой поворотный, 2 – прямой неповоротный, 3 – полусферический, 4 – сферический, 5 – сферический для сыпучих материалов, 6 – с толкающей плитой.
Рис. 8.5 – Конструктивная схема гусеничного бульдозера с поворотным отвалом
Рис.8.6. - Пневмоколесный бульдозер-погрузчик ДЗ-133
Рис.8.7 – Пневмоколесный бульдозер БелАЗ-7823






