

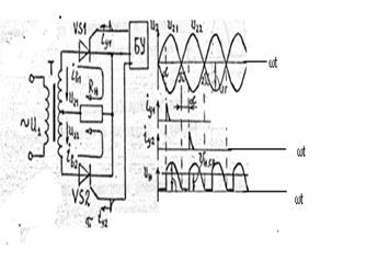
Однофазный УВ с выведенной средней точкой трансформатора
С помощью БУ импульсы тока i Y смещаются по фазе относительно напряжений U 21, U 22 на угол управления a. Тиристоры открываются с запаздыванием и пропускают ток (только часть полупериода от a до p). Необходимо, чтобы
при
, тогда

Изменяя a можно регулировать U H.ср от 0,9 U 2 до 0, где U H.ср = 0,9 U 2 − среднее значение выпрямленного напряжения в нагрузке при a = 0 (max), при a =180 U H.ср = 0.
Основные характеристики УВ:
1) регулировочная − это зависимость U н.ср. = f(
) (или характеристика управления)
2) внешние −
при
=const


а) б)
. Характеристики УВ






