1.1. Шарикоподшипники.
(вернуться к оглавлению)
По конструкции они сложнее и больше по габаритам опор с трением скольжением, но имеют ряд преимуществ перед ними:
ü в несколько раз меньший момент трения;
ü малую чувствительность к изменению 1°С;
ü высокая точность центрирования оси прибора;
ü большая вибропрочность идолговечность
По характеру нагрузки шарикоподшипники разделяют на:
ü радиально-однорядные (ГОСТ 8338-57);
ü радиально-упорные (магнетные) (ГОСТ 832-62);
ü радиально-упорные насыпные (изготавливаются по специальным техническим условиям).
Роликовые не применяются в авиационном приборостроении, т.к. имеют больший момент трения в сравнении с шариковыми.

Радиальные применяются при наличии радиальных нагрузок. Могут выдерживать и небольшие осевые нагрузки, составляющие от 1/3 до 1/60 от радиальной. Сепараторы обычно делают из стали и бронзы.
Радиально-упорные используются при наличии как радиальных так и осевых нагрузок.
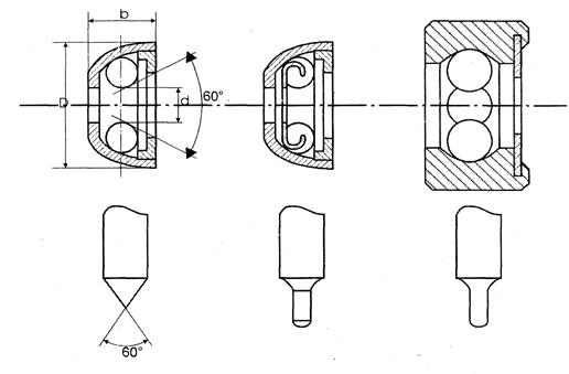
Шарикоподшипники магнетного типа обеспечивают раздельную установку внутреннего и наружного колец, т.е. являются разборными. Бывают подшипники со съемным наружным кольцом (как на рис.) или со съемным внутренним. В скоростных подшипниках магнетного типа применяют текстолитовые сепараторы (Юн-30 тыс. об/мин.). В тихоходных могут быть и металлические сепараторы.
|
|
|
Радиально-упорные насыпные для уменьшения габаритов могут выполняться без внутреннего кольца. С шариками соприкасается сама цапфа, которая может быть либо конической, либо цилиндрической, либо галтельной.

Во избежание взаимного смещения шариков и возникновения при этом значительного трения шарики разделяются сепаратором.
В тех случаях, когда важно иметь минимальное трение используют металлические сепараторы. Сепараторы радиальных шарикоподшипники чаще выполняют из стали (ОХ18Н9; 1Х18Н9; ст. 10), латуни Л-62 и бронзы БРАЖ.
До последнего времени лучшими материалами для сепараторов главных опор считался текстолит. Но при скоростях 60000 * 100000 об/мин он разрушается из-за недостаточной теплостойкости, прочности и износоустойчивости. Поэтому в последнее время используются нейлоновые, капроновые и полиэтиленовые сепараторы.
Нейлоновые сепараторы при скоростях 30000 * 60000 об/мин за 400 часов не имеют значительных следов износа и деформации.
Для повышения прочности полимерные материалы могут выполняться с разными наполнителями. Полимерные материалы, снижая моменты трения главных опор, повышают их качество и долговечность. Их можно использовать в условиях тропического климата.
Шарикоподшипники изготавливают из высокоуглеродистой хромистой стали. Кольца из ШХ-15; шарики - ШХ-6. Кольца и цапфы закаливаются до твердости НКС 61
65, а шарики до ИКС 62
66.
|
|
|
От частоты шарниров и рабочих дорожек колец в значительной мере зависит работа, подшипников. Поэтому в прецизионных подшипниках качество поверхностей должно соответствовать 12
13 классу чистоты.
В зависимости от точности изготовления деталей шариковые подшипники делятся на 8 классов:
- нормальный (Н); - особо высокий (А.В);
-повышенный (П); - прецизионный (А);
-особо повышенный (В.П); - особо прецизионный (СА);
- высокий (В); - сверх прецизионный (С).
В гироскопических приборах применяют подшипники трех самых высоких классов: А, СА и С, т.к. при больших скоростях вращения даже малейшее искажение формы подшипника приведет к значительным динамическим нагрузкам и в конечном итоге к разрушению опор.






