РАЗДЕЛ 7 Обобщенная структура ЦСк. оборудование
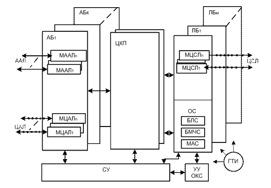
Цифровая система коммутации (ЦСК) характеризуется тем, что ее коммутационное поле коммутирует каналы, по которым информация передается в цифровом виде. Обобщенная структура ЦСК представлена на рисунке 7.1.

ААЛ - аналоговая абонентская линия; ЦАЛ - цифровая абонентская линия;
АБ - абонентский блок; МААЛ - модуль аналоговых АЛ;
МЦАЛ - модуль цифровых АЛ; МЦСЛ - модуль цифровых СЛ;
ЦСЛ - цифровая соединительная линия; СУ - система управления;
ЦКП - цифровое коммутационное поле; ЛБ – линейный блок;
ОС - оборудование сигнализации; БЛС - блок линейных сигналов;
ГТИ - генератор тактовых импульсов; МАС- модуль акустических сигналов;
БМЧС - блок многочастотной сигнализации;
УУ ОКС - устройство управления сетью сигнализации ОКС№7.
Рисунок 7.1 - Обобщенная структура ЦСК
Абонентский блок (АБ) предназначен для согласования аналоговых и цифровых абонентских линий с коммутационным полем станции посредством модулей аналоговых и цифровых абонентских комплектов соответственно.






