Для определения объемов земляных работ по устройству котлованов под водопроводно-канализационные сооружения или траншеи для прокладки сетей водопроводов и коллекторов необходимо знать их основные размеры - ширину, длину и глубину.
Размеры котлованов определяют исходя из общих размеров сооружения в плане, глубины его заложения, крутизны откосов, а также принятых методов выполнения основных производственных процессов. При этом учитывают схему возведения будущего сооружения, определяющую схемы движения кранов и других машин при монтаже сборных или возведении монолитных сооружений, установки опалубки, лесов и подмостей.
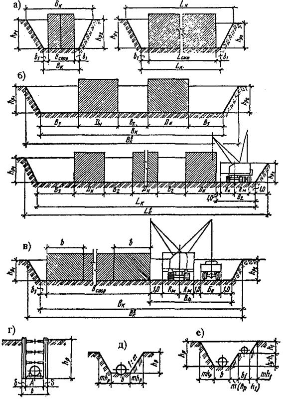
При устройстве систем водоснабжения и водоотведения можно выделить следующие четыре основных схемы их возведения. Схема I (кольцевая) - кран и транспортные средства при возведении сооружения перемещаются вокруг него по берме котлована, не заезжая на его дно; схема II - механизмы движутся по дну котлована за пределами сооружения, по его периметру; схема III - механизмы в процессе строительства сооружения перемещаются непосредственно по его днищу; схема IV предусматривает монтаж сооружения одновременно, т.е. параллельно работающими двумя кранами, при котором конструкции крайних стен и примыкающего пролета сооружения монтируются первым краном с передвижением его и транспортных средств по берме котлована, а конструкции внутри сооружения - вторым краном, передвигающимся по днищу сооружения.
|
|
|
По схеме I возводят обычно небольшие сооружения, ширина которых в плане или диаметр не превышает 15 м. Размеры котлована (ширина Вк и длина LK) при этом определяются исходя из внешних размеров сооружения с небольшим уширением его дна с каждой стороны для удобства выполнения работ (рис. 4.3, а):
(4.1) (4.2)
где Всоор, Lсоор – ширина и длина возводимого сооружения по наружному периметру; b1 - ширина свободного пространства между подошвой откоса выемки и выступающей частью днища сооружения (принимается по условиям техники безопасности и удобства работ не менее 0,6 м).
По схеме II возводят сооружения средних габаритов, размеры которых в плане превышают 15 м при значительном их заглублении и большой массе монтажных элементов. Размеры котлована при этом должны быть достаточными для размещения сооружений, а также для проезда кранов и транспорта вокруг них по дну выемки (рис 4.3,б) и для раскладки сборных конструкций по фронту работ:
(4.3) (4.4)
где DН – диаметр или размер сооружения по наружному периметру; n, n1 – число сооружений или секций в одном ряду соответственно в поперечном и продольном направлениях; В2 – расстояние между сооружениями в свету; В3 – уширение котлована по дну для безопасного выполнения монтажных работ и движения транспорта:
|
|
|
(4.5)
где 1 – просвет между движущимися краном и сооружением (или откосом выемки), м; RM – радиус поворота машинной платформы крана.
При возведении сооружений из монолитного железобетона размеры котлована определяются по тем же формулам, только с добавлением к Вк и Lк удвоенной величины 2bоп (где bоп - ширина опалубочного агрегата или крепления стационарной опалубки и лесов на уровне дна котлована).
По схеме III обычно строят крупные сооружения (рис. 4.3, в) размеры которых в плане в несколько раз превышают 15 м (Всоор > 15 и, м). В этом случае размеры котлована равны:

Рис. 4.3 – Схема для определения размеров котлованов и траншей
а – котлованов малых размеров в плане (Всоор< 15 м), б – то же, средних (Всоор≥ 15 м), в – то же, больших (Всоор> 15 м) г – траншей с вертикальными стенками и креплениями, д – трапецеидальных, е – сложного сечения при совмещенной прокладке трубопроводов
(4.6) (4.7)
где В4 – уширение котлована для монтажа конструкций последней секции сооружения (рис. 4.3, в); l 1 - уширение котлована в торцах сооружения для заезда и выезда крана и транспортных средств (принимается равным 6...7 м и зависит от радиуса их поворота);
(4.8)
где Ба - ширина базы грузовых автомашин на уровне кузова.
По схеме IV строят крупные сооружения при Всоор > 15 м. Размеры котлованов, поскольку уширение их дна на величины B3 или В4 не требуется, могут быть определены по формулам, применяемым при схеме I. Размеры котлованов поверху Вкв и Lкв определяют исходя из их размеров понизу Вк, Lк, глубины выемки Н и принятых коэффициентов заложения откоса m для соответствующих грунтов.
(4.9) (4.10)
Размеры траншей. Наименьшую ширину траншеи по дну Втр. min следует принимать в зависимости от типа и диаметра прокладываемых труб, способа их укладки (см. приложение 1).
Принятую по нормативным значениям ширину траншеи по дну (Втр), если ее предполагается разрабатывать одноковшовым экскаватором, необходимо проверить на ширину ковша принятого экскаватора, которая в зависимости от его вместимости, м3, может быть ориентировочно определена по табличным данным (см. приложение 1) либо по формуле
(4.11)
где q - вместимость ковша выбранного экскаватора, м3.
При этом необходимо учитывать, что при разработке траншей одноковшовыми экскаваторами их ширина должна быть не меньше ширины режущей кромки ковша экскаватора с добавлением в песчаных грунтах и супесях 0,15 м, в глинах и суглинках 0,10 м. Если получится, что ширина траншеи меньше величины bк с добавлением этих запасов, то необходимо либо принимать экскаватор с меньшей шириной ковша или увеличивать проектную ширину траншеи.
При устройстве креплений стенок (см. рис. 4.3, г) ширину траншеи увеличивают на их толщину. Если в траншеях с вертикальными стенками необходима работа людей, то наименьшее расстояние в свету между поверхностью трубопровода (коллектора) и стенками должно быть не менее 0,7 м. Ширина траншеи поверху определяется крутизной ее откосов. Глубина, продольный уклон траншеи устанавливается проектом в зависимости от назначения трубопровода. Для заделки стыковых соединений труб в траншеях отрывают приямки необходимых размеров, указанных в табл. 3 СНиП 3.02.01-87.






