Зимой, при установлении отрицательных температур, происходит замерзание грунта вследствие потери тепла и перехода содержащейся в его порах воды в лед, сопровождающееся изменением его физико-механических свойств (прочности, деформативности, теплопроводности и др.).
Учитывая, что при замерзании механическая прочность грунта, а следовательно и трудоемкость разработки, резко возрастают, стараются проводить мероприятия по предварительной защите грунта от промерзания, обеспечивающие его разработку в талом виде. Таким образом, основными методами подготовки и разработки грунтов в зимний период являются предохранение их от промерзания, тепловое и химическое оттаивание, рыхление и механическая разработка мерзлых грунтов. Факторами, определяющими выбор методов и способов зимней разработки грунта, являются объемы работ, свойства грунта, вид земляного сооружения и конкретные условия строительства.
Предохранение грунта от промерзания выполняют задолго до наступления холодов путем его вспахивания с боронованием, глубокого рыхления, укрытия утепляющими материалами и химической обработки.
|
|
|
Для вспахивания грунта применяют различные плуги с глубиной рыхления не менее 35 см и рыхлители с глубиной рыхления 50... 70 см. Затем грунт боронуют на глубину 15... 20 см. При глубоком рыхлении (на глубину 1,3... 1,5 м) используют одноковшовые экскаваторы с ковшом вместимостью 0,4... 0,65 м3, при этом грунт разрабатывают навымет и укладывают на место смежной (предыдущей) проходки.
В качестве утепляющих материалов используют местные материалы: сухие листья, торф, опилки, солома, камыш, шлак и др. Могут применяться и полимерные материалы, пленки, пенопласт и т.п. Иногда грунт перед вспахиванием подвергают химической обработке, т.е. пропитке поверхностного слоя грунта хлористым кальцием и натрием, нитрит-нитратом натрия, которые понижают температуру замерзания воды в грунте (до - 30°С). Защищенный от промерзания грунт разрабатывают обычным механизированным способом.
Однако, когда грунт не удалось своевременно предохранить от замерзания и по графику работ грунты необходимо разрабатывать в зимнее время, т.е. в мерзлом состоянии, то в этом случае приходится либо их оттаивать, либо разрабатывать в мерзлом виде с использованием специальных средств и методов.
Способы оттаивания мерзлых грунтов основаны на том, что за счет теплоты, передаваемой в слой мерзлого грунта, растапливается лед в его порах и грунт делается талым. Оттаивание грунтов применяют при малых объемах работ, в стесненных условиях, труднодоступных местах и в случаях, когда нельзя использовать более экономичные и менее энергоемкие способы. Оттаивание грунта осуществляют как с помощью естественных источников тепла - солнечного тепла, тепла воды из естественных водоемов, так и искусственных - за счет сжигания твердого, жидкого или газообразного топлива, использования пара или электроэнергии. По направлению распространения тепла в грунте можно выделить следующие три основных способа оттаивания: сверху вниз (поверхностный); снизу вверх (глубинный); по радиальному направлению.
|
|
|
Поверхностное оттаивание производят либо с использованием естественных источников тепла, либо искусственных - горячими газами (огневой способ), в тепляках, отражательными печами, горизонтальными электродами, химическим способом. Оттаивание химическим способом предусматривает введение в грунт раствора хлористого натрия, под действием которого в порах мерзлого грунта растворяются кристаллы льда.
Глубинное и радиальное оттаивание осуществляют гидравлическим, циркуляционными водяными, паровыми и электрическими иглами, а также электродами.
Рыхление и разработку грунтов в мерзлом состоянии осуществляют взрывным или механическим способом.
Взрывной (шпуровой или щелевой) способ является одним из основных способов подготовки мерзлых грунтов к разработке экскаваторами. Он особенно эффективен при глубинах промерзания 0,4... 1,5 м и более и при значительных объемах разработки мерзлых грунтов. Его применяют преимущественно на незастроенных участках, а на застроенных - с использованием укрытий и локализаторов взрыва (тяжелых пригрузочных платформ). При рыхлении на глубину до 1,5 м применяют шпуровой и щелевой методы, а при больших глубинах - скважинный или щелевой. Щели на расстоянии 0,9... 1,2 м одна от другой нарезают щеленарезными машинами фрезерного типа или баровыми машинами. Заряжают щели через одну удлиненными или сосредоточенными зарядами, после чего их сверху забивают песком. Шпуры и скважины располагают в шахматном порядке.
При рыхлении грунта взрывным способом (рис. 4.22, а) участок разбивают на захватки, где на первой из них бурят шпуры, заряжают и взрывают их; на второй работы по условиям безопасности не производят; на третьей ведут разработку грунта. Размеры захваток определяют исходя из сменной производительности экскаватора (экскаваторов).
Механическое рыхление мерзлых грунтов применяют при глубине промерзания 0,4... 1,5 м и небольших по площади выемках котлованов и траншей. При этом осуществляют дробление или скол мерзлого слоя динамическим или статическим воздействием специального сменного рабочего оборудования, установленного на базовой машине (тракторе, экскаваторе и т.п.). Динамическое воздействие обеспечивают за счет удара, вибрации или совместного их воздействия с применением шара- или клин-молота, дизель-молотов, клиновых тракторных рыхлителей и др. Статическое воздействие при разрушении мерзлого грунта обеспечивают за счет внедрения в него рабочего органа, состоящего из одного или нескольких (до 5) зубьев при одновременном движении трактора (тягача).
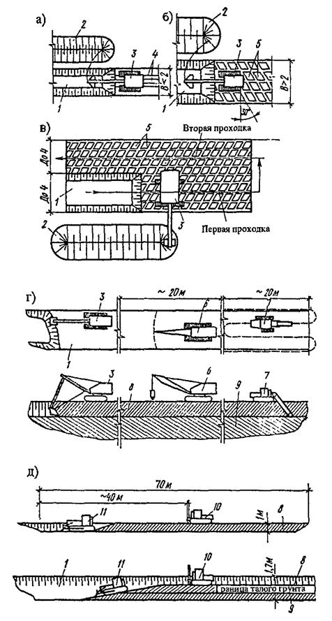
Для рыхления мерзлого грунта (рис. 4.28) механическим способом при разработке котлованов и траншей используют невесные рыхлители и землеройно-фрезерные машины, а также баровые машины (для нарезки мерзлого грунта на блоки), а при вертикальной планировке площадки - навесные рыхлители. Эти машины работают впаре с экскаваторами, которые разрабатывают как разрыхленный мерзлый, так и немерзлый грунт.

Рис. 4.28 – Рыхление мерзлых грунтов при устройстве котлованов
При небольшой глубине промерзания грунта его рыхлят тракторными рыхлителями продольными проходками под углом 60°. Разрыхленный грунт перемещают бульдозером в торец котлована и экскаватором грузят на самосвалы. Последующие слои мерзлого грунта можно разрабатывать рыхлителем сначала поперечными проходками, затем продольными и диагональными. Зуб рыхлителя, в зависимости от свойств грунта и мощности бульдозера, заглубляют на 0,5... 0,8 м.
|
|
|
При большой глубине промерзания часто практикуют блочные методы разработки мерзлых грунтов, когда монолитность их предварительно нарушают нарезкой на блоки (полосы) с помощью специальных машин, оборудованных дисковыми пилами или барами. Обычно используют мелко- и крупноблочные методы разработки грунтов. Мелкоблочный метод (рис. 4.28, б) применяют при рытье небольших котлованов и траншей при глубине промерзания 0,6... 1,4 м. Продольными и поперечными прорезями дискофрезерной машины или барами разрезают мерзлый слой на блоки размером от 0,6 x 0,8 до 1 x 1,1 м, а затем экскаватором с прямой лопатой (вместимость ковша 0,65... 1 м3) грузят мерзлые блоки и разрабатывают талый грунт. Крупноблочный метод используют при разработке котлованов вблизи зданий или сооружений, когда не допускаются сотрясения грунта, неизбежные при ударном и виброударном рыхлении. Мерзлые грунты нарезают на блоки массой 4... 10 т последующим удалением их из забоя бульдозерами (рис. 4.28, в), кранами (рис. 4.28, г) или электролебедками. При использования кранов блоки отрывают и отодвигают от талого основания бульдозерами, а затем с помощью клещевого захвата грузят на самосвалы со снятым задним бортом (рис. 4.28, г). Выемки при этом разбивают на две захватки на первой нарезают блоки, а на второй их краном удаляют и подчищают основание.
Разработку грунтов в мерзлом состоянии можно вести только с помощью мощного землеройного оборудования, которое позволяет разрабатывать мерзлый грунт без его предварительной подготовки (рыхления). В качестве такого оборудования применяют гидравлические экскаваторы. Особенно эффективно они работают при использовании прямых и обратных лопат с ковшами активного действия, в днище которых вмонтированы пневмо-молоты с зубьями, обеспечивающие разрушение мерзлого грунта.
|
|
|
Способы разработки траншей в зимнее время следующие: разработка траншеи в задел, с предохранением грунта от промерзания, без предварительной подготовки, с предварительным рыхлением. Разработку траншей в задел (т.е. заблаговременно) на полный профиль производят в осенний период до наступления морозов. Недостатком этого способа является то, что откосы траншеи с течением времени частично обрушаются, а отвал грунта к моменту засыпки трубопроводов смерзается, что требует его предварительного рыхления перед засыпкой. Способы разработки траншей с предохранением грунта от промерзания принципиально аналогичны способам, рассмотренным выше. Траншеи без предварительной подготовки разрабатывают в тех случаях, когда имеются необходимые технические условия. При глубине промерзания до 0,3 м траншеи можно разрабатывать одноковшовыми экскаваторами, а в грунтах с глубиной промерзания до 1,5 м их на полный профиль можно отрывать роторными экскаваторами.
Способ разработки траншеи с предварительным рыхлением грунта взрывным или механическим способом применяют при промерзании грунта на глубину более 0,4 м. Рыхление производят шпуровыми зарядами или с помощью рыхлителей. Разрыхленный грунт планируют бульдозером, а разработку траншеи осуществляют одноковшовым экскаватором. Протяженность участка разрыхляемого грунта необходимо принимать равной сменной производительности экскаватора во избежание повторного смерзания грунта.
Темпы ведения земляных работ при рытье траншей в зимнее время необходимо строго согласовывать с темпами изоляционно-укладочных работ на трубопроводе, так как при опережении земляных работ даже на 2...3 дня возникает опасность смерзания отвала грунта. Это потребует либо предварительного разрыхления грунта в отвале перед засыпкой трубопровода (что сделать не всегда легко), либо присыпки труб перед обратной засыпкой.
При разработке траншей в мерзлых грунтах чаще всего используют несколько типов машин, каждая из которых подготавливают фронт работ для машин, выполняющих последующие операции. Например, расчистка бульдозером поверхности грунта от снега позволяет приступить к рыхлению или прорезанию мерзлого грунта рыхлителями (баровыми машинами), которые, в свою очередь, подготавливают фронт работ экскаватору и т.д. При глубине промерзания до 1,3 м траншеи, неширокие котлованы можно разработать обратными лопатами с ковшом вместимостью 0,65 м3 и выше при предварительном нарезании прорезей через 0,4... 0,5 м баровой машиной. Причем при ширине траншей до 2 м достаточно сделать продольные прорези вдоль траншей, а при ширине более 2 м делают и поперечные прорези под углом 30°, нарезая при этом блоки в виде ромбов. Широкие траншеи или котлованы (шириной до 8 м) разрабатывают двумя торцовыми проходками экскаватора. При разработке широких траншей для прокладки коллекторов в мерзлых грунтах при значительной глубине промерзания обычно применяют баровые машины, экскаваторы с клинмолотом и экскаваторы с обратной лопатой.
Засыпка траншей с трубопроводами в зимних условиях. Если строительство трубопроводов осуществляют поточно-совмещенным методом (трубопровод укладывают в траншею непосредственно после ее разработки), обратную засыпку его талым грунтом осуществляют бульдозером, как и в обычных условиях. В случае смерзания грунта в отвале, например при нарушении поточности, трубопровод в траншее во избежание повреждения изоляции присыпают на высоту не менее 0,2 м выше трубы талым грунтом. Дальнейшую засыпку трубопровода мерзлым грунтом, не содержащим комьев более 5... 10 см, выполняют бульдозерами.
Рекомендуемая дополнительная литература
1. СНБ 5.01.01-99 Основания и фундаменты зданий и сооружений. – Мн.: Министерство архитектуры и строительства Республики Беларусь, Мн., 1999. – 36 с.
2. СНиП 3.02.01-87. Земляные сооружения, основания и фундаменты / Госстрой СССР – М.: ЦИТП Госстроя СССР, 1988. – 128 с.
3. Пособие П11-01 к СНБ 5.01.01-99. Геотехнические реконструкции оснований зданий и фундампентов сооружений. – Мн.: Министерство архитектуры и строительства Республики Беларусь, Минск, 2001. – 120 с.
4. Пособие П17-02 к СНБ 5.01.01-99. Проектирование и устройство подпорных стен и креплений котлованов. – Мн.: Министерство архитектуры и строительства Республики Беларусь, Мн., 2003. – 95 с.
5. Земляные работы (Справочник строителя) / Под ред. Л.В. Гриншпуна. – М.: Стройиздат, 1992. – 352 с.
Тема 5. Бетонные и железобетонные работы