Поскольку большинство водопроводных и канализационных сооружений устраивают заглубленного и полузаглубленного типа, после их возведения выполняют значительные объемы работ по обратной их засыпке. Учитывая, что обратные засыпки траншей, приямков и пазух котлованов в большинстве случаев служат основанием дорог, отмосток, а внутри зданий основанием под полы, все они должны выполняться с обязательным уплотнением для обеспечения требуемой их прочности, устойчивости и беспросадочности. Необходимая степень уплотнения грунта и высокое качество обратных засыпок на практике обеспечиваются послойным уплотнением грунта при условии отсыпки его слоями одинаковой толщины. Каждый отсыпанный слой грунта уплотняют равным числом проходов (ударов) по одному следу. Уплотнение каждого слоя грунта машинами ведут так, чтобы последующие проходы по одному следу происходили по всей поверхности рабочей карты, причем во избежание пропусков рекомендуется перекрывать последующими проходами предыдущие на 0,1 - 0,15 м. В процессе уплотнения грунта в стесненных местах необходимо соблюдать меры предосторожности против повреждений подземных конструкций, коммуникаций и гидроизоляции.
Уплотнение грунтов в котлованах со сложными фундаментами и подземными конструкциями при возведении, например, насосных станций, когда внутри них образуются замкнутые полости, тупики и узкие проходы, значительно затрудняется, так как в них нельзя применить крупногабаритные машины. Поэтому обратную засыпку в таких условиях необходимо выполнять сразу же после возведения подземной части здания или сооружения, когда конструкции надземной части не препятствуют работе машин с бермы котлована. Грунт с помощью экскаватора, оборудованного грейфером или системой транспортеров, подают на рабочую карту в пределах участка, ограниченного подземными конструкциями. Разравнивают его в зависимости от формы и размеров пазухи малогабаритным бульдозером или микробульдозером. Уплотняют грунт электротрамбовками или подвесной вибротрамбовкой. Для этой цели могут быть также использованы свайные вибропогружатели, установленные на металлический поддон. В замкнутых полостях уплотнять грунт удобнее подвесными к крану грунтоуплотнителями, а в пазухах, связанных между собой проходами, - самопередвигающимися виброплитами и ручными трамбовками.
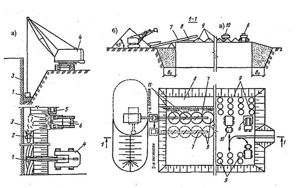
Уплотнение грунтов в узких и глубоких пазухах шириной менее 1,4 м (предельный размер, допускающий работу малогабаритного бульдозера) связано с определенными трудностями. При этом следует выделить пазухи шириной 0,7... 1,4 м, в которых может работать человек, и шириной до 0,7 м, в которые доступ рабочего невозможен. Засыпку наружных пазух, образуемых подземными конструкциями и крутыми откосами котлована, выполняют бульдозерами (рис. 4.24, а). Разравнивают грунт слоями заданной толщины в нижней части пазухи микробульдозером, который подают в пазухи краном, а затем, по мере расширения пазухи (более 1,4 м), малогабаритным бульдозером. Уплотняют грунт послойно подвесными вибротрамбующими плитами или свайными вибропогружателями на металлических поддонах, подвешенных к крану, а также с помощью пневмотрамбовок, работающих от передвижного компрессора.
Засыпку въездных траншей, а также приямков и пазух котлованов чаще всего производят бульдозерами с уплотнением обычными грунтоуплотняющими машинами (катками, трамбующими плитами, виброкатками).
Засыпку закрытых сооружений, имеющих покрытия (резервуаров, горизонтальных отстойников и т.п.) в зависимости от несущей способности и формы покрытия, производят тремя способами: с помощью звеньевых ленточных конвейеров с погрузкой грунта экскаваторами; автосамосвалами, доставляющими грунт непосредственно на покрытие, где его разравнивают бульдозерами; самоходными ленточными конвейерами на базе гусеничных тракторов в комплекте с экскаваторами (без заезда на покрытие). Преимуществом применения самоходного ленточного конвейера является значительный диапазон обслуживаемой площадки - до 20 м, считая от оси вращения машин. Грунт отсыпают, постепенно меняя позицию грунтоукладчика или длину вылета конвейера, и распределяют по поверхности равномерно (рис. 4.24, б).

Рис. 4.24 – Засыпка пазух котлованов и устройство насыпей на покрытиях сооружений
а - засыпка и уплотнение грунта в пазухе котлована, б - устройство насыпи ленточным конвейером, в – то же, автосамосвалами и бульдозерами; 1 - вибротрамбовка, 2 - микробульдозер, 3 - подземная часть сооружения, 4 - кран-экскаватор, 5 - резерв грунта на первый слой, 6 - бульдозер, 7 - конвейер, 8 - спланированная насыпь, 9 - отвалы грунта, 10 - автосамосвалы, 11 - скребки для сбрасывания грунта с конвейра
Засыпку траншеи с проложенным коллектором в большинстве случаев производят бульдозером (рис. 4.25, а) по челночной схеме или по поперечно-челночной (при засыпке больших по протяженности и глубоких траншей). При этом вначале устраивают съезды для малогабаритного бульдозера и подают грунт по обе стороны коллектора (рис. 4.25, б). Грунт в траншеях на участке 10... 15 м по обе стороны от коллектора (тоннеля) разравнивают бульдозером, а в недоступных местах - малогабаритным бульдозером. Засыпку ведут послойно, причем толщину первого слоя принимают равной 1 м, а последующих - 0,4... 0,6 м (рис. 4.25, в). Уплотняют

Рис. 4.25 – Засыпка траншей коллекторов и трубопроводов
а - общая схема засыпки бульдозером, б - засыпка песчаным грунтом, в - первоначальный этап засыпки пазух коллектора, г - засыпка слоев поверх коллектора, д - засыпка траншей бульдозером по косопоперечной схеме, е - то же, по косоперекрестной схеме; 1 - бульдозер, 2 - резерв грунта, 3 - коллектор, 4 - вибротрамбовка, 5 - малогабаритный бульдозер, 6 - направление движения трамбовки, 7 - то же, бульдозера, 8 - съезд бульдозера, 9 - траншея, 10 - трубопровод
грунт в пазухах коллектора малогабаритной вибротрамбовкой параллельными проходами. Вибротрамбовку с одной стороны коллектора на другую перемещают малогабаритным бульдозером. Засыпку и разравнивание грунта выше коллектора производят бульдозером, с помощью которого одновременно подают грунт для малогабаритного бульдозера (рис. 4.25, г). Подача грунта для засыпки коллекторов может также осуществляться экскаваторами. При разравнивании и уплотнении как связанного, так и песчаного грунта над коллектором или тоннелем толщину слоя грунта под работающим бульдозером определяют расчетом, исходя из несущей способности покрытия коллектора (тоннеля).
Обратную засыпку траншеи следует вести сразу же после укладки труб, что позволит избежать обрушения стенок траншеи, заиливания труб в результате атмосферных осадков, а также пересушивания или переувлажнения грунта в отвалах. Засыпку грунта в траншеи с трубопроводами рекомендуется выполнять бульдозерами (рис 4.25, д, е). При этом вначале косыми проходами бульдозера предварительно уменьшают крутизну откоса отвала грунта, одновременно подавая его в первый слой засыпки. Грунт в траншею подают в объеме, обеспечивающем заданную толщину отсыпаемого слоя, в соответствии с темпами его разравнивания и уплотнения. Способ засыпки траншей с уложенным трубопроводом одноковшовым экскаватором (обратная засыпка) используют как в обычных трассовых условиях, так и на заболоченных участках. Засыпать траншеи следует с максимальным разрывом во времени после изоляционно-укладочных работ и в прохладное время суток (лучше всего утром). Засыпку надо производить с обеспечением сохранности труб и изоляционного покрытия, а также его общего проектного положения.
Для передвижения экскаватора по отвалу вначале двумя проходами бульдозера планируют его верх на ширину до 7 м. Грунт спланированного отвала для засыпки траншеи разрабатывают экскаватором торцовым забоем при движении его на перекидных еланях по оси отвала.
Для непрерывной засыпки траншей размельченным грунтом применяют траншеезасыпатели шнекового и роторного типов. Наиболее эффективными являются роторные траншеезасыпатели, которые можно использовать как для засыпки трубопровода разрыхленным грунтом, так и для снятия растительного слоя, присыпки дна траншеи мягким грунтом перед укладкой трубопровода. Достоинства траншеезасыпателей роторного типа - высокое качество засыпки трубопровода, возможность рытья смерзшегося бруствера.
Траншеезасыпатели нельзя использовать при засыпке железобетонных трубопроводов, поскольку до проведения предварительных испытаний стыки труб не должны быть засыпаны, а последующую засыпку после испытаний выполняют послойно с уплотнением, что не может быть обеспечено этими машинами. Требованиям обратной засыпки и уплотнения грунта наиболее отвечает вибротрамбующее оборудование для одноковшового гидравлического экскаватора и трубоукладчика.
Засыпку железобетонных трубопроводов больших диаметров осуществляют преимущественно одноковшовыми экскаваторами с грейферным оборудованием поочередно с двух сторон трубы. Экскаватор передвигается вдоль траншеи со стороны кавальера и осыпает грунт на всем участке. Технологическая последовательность процесса обратной засыпки и уплотнения грунта с использованием вибротрамбовочного оборудования показана на рис 4.26.
Первоначально отсыпают, разравнивают и уплотняют слой грунта у первой трубы (рис. 4.26, а). Одновременно с этим отсыпают и разравнивают слой грунта у второй трубы на той же стороне. Во время его уплотнения отсыпают и разравнивают грунт с другой стороны трубы, при уплотнении которого отсыпают и разравнивают слой по той же стороне у первой трубы. Таким образом проходит цикл уплотнения первого слоя с одной стоянки машин на всей захватке.
Уплотнение последующего слоя начинают с этой же позиции в обратном порядке (рис. 4.26, б) с переходом на другую сторону трубопровода от второй трубы к первой. Затем производят отсыпку, разравнивание третьего слоя (рис. 4.26, в) с позиции, где было закончено уплотнение второго слоя. Переход при этом с одной стороны трубопроводa на другую осуществляют на первой трубе (рис. 4.26, г).
На каждой позиции работе экскаватора с трамбовкой предшествует отсыпка слоя экскаватором с грейфером. Схематически последовательность уплотнения одинакова для нечетных (1, 3, 5) четных (2, 4, 6) слоев отсыпаемого и уплотняемого грунта.
До проведения гидравлических испытаний грунт уплотняют на высоту 0,5D, оставляя при этом приямки нетронутыми. После испытаний и устранения возможных нарушений производят засыпку с уплотнением грунта до высоты, превышающей на 0,2 м наружный диаметр трубопровода. Первоначально забивают приямки до высоты предыдущей засыпки. Засыпку двух смежных приямков по обеим сторонам трубопровода осуществляют в такой же последовательности для каждой позиции уплотняемого слоя и соответственно последующих слоев грунта, как показано на рис. 4.26, д, при уплотнении пазух основной части трубопровода.
После того как по высоте засыпки уровень сравнивается, механизмы от позиционной схемы (двух смежных труб или приямков) переходят на работу в створе всего участка. Отсыпают и разравнивают грунт на всем участке по одну сторону трубопровода, при его уплотнении производят отсыпку и разравнивание слоя грунта по другую сторону трубопровода, затем уплотнение.

Рис. 4.26 – Схемы уплотнения грунта обратной засыпки железобетонного трубопровода большого диаметра (а – г) и последовательность этих работ (д)
1 – 4 - последовательность уплотнения отсыпаемых слоев грунта, 5 - экскаватор с грейфером, 6 - то же, с трамбовкой, 7, 8 - места стоянки машин при уплотнении грунта, 9, 10, 11 - проходы машин
Засыпка траншей с вертикальными стенками существенно затруднена из-за необходимости выполнения работ в очень стесненных условиях. Пазухи между трубопроводами и стенками траншеи засыпают вручную местным грунтом, подаваемым с бровки бульдозером, слоями толщиной 0,1 м и уплотняют ручными электротрамбовками. После засыпки пазух до верха трубы последующие слои грунта разравнивают микробульдозером и уплотняют электротрамбовкой слоями 0,3 м при числе проходов, определяемом опытным уплотнением.






