Одним из прогрессивных направлений совершенствования технологии серийного машиностроительного производства является типизация технологических процессов (ТП) обработки отдельных поверхностей, типовых сочетаний поверхностей и изготовления деталей в целом.
Работу по типизации ТП начинают с проведения классификации, позволяющей привести всё многообразие заготовок, поверхностей и их сочетаний к минимальному количеству типов, для которых можно разработать типовые ТП обработки. При этом признаки, заложенные в основу классификации, должны удовлетворять условиям, при которых обработка поверхностей, их сочетаний или заготовок могла быть осуществлена по одному и тому же ТП.
Признаками для классификации элементарных поверхностей являются: форма поверхности, размеры, материал изделия, требуемая точность обработки, качество поверхностного слоя. При создании типовых процессов обработки отдельных поверхностей не решается вопрос о типизации исходной заготовки, оборудования и последовательности отдельных операций. Следует отметить, что типовой процесс обработки отдельного сочетания поверхностей и особенно типовой процесс обработки заготовок не всегда состоит из сочетаний типовых процессов обработки отдельных поверхностей.
Под типовыми сочетаниями поверхностей будем понимать сочетание поверхностей, встречающихся у различных заготовок, при котором все элементарные поверхности могут быть обработаны при неизменной технологической базе, одинаковой последовательности операций, установок и переходов на одних и тех же станках, одинаковыми инструментами.
Признаки для классификации типовых сочетаний поверхностей следующие: конфигурация, размеры и точность обработки отдельных поверхностей; материал обрабатываемой заготовки; соотношение размеров отдельных поверхностей и точность их взаимного расположения. Типизация обработки сочетаний поверхностей также не решает задачи типизации исходной заготовки и не всегда определяет последовательность обработки отдельных поверхностей конкретной заготовки.
Примерами разработки типовых процессов обработки сочетаний поверхностей могут служить процессы обработки концентрично расположенных наружных и внутренних поверхностей вращения, взаимно перпендикулярных или параллельных поверхностей, обеспечение соосности обрабатываемых отверстий и точности межосевого расстояния между ними и т.д.
Типизация ТП возможна только путём проведения типизации изготовления деталей. Признаками для изготовления деталей являются: конфигурация детали, её размеры; точность обработки и качество поверхностного слоя; материал заготовки. Это признаки основные, они относятся непосредственно к детали, выявляются непосредственно из рабочего чертежа детали (заготовки) и определяют характер и содержание ТП. Дополнительные признаки, такие, как объём производственного задания, размеры отдельных партий обрабатываемых заготовок, имеющиеся в наличии станки, приспособления, инструменты, т.е. средства технологического оснащения (СТО), система планирования и организации производства и т.п., учитываются при типизации ТП созданием нескольких технически равноценных вариантов типовых процессов.
Технологическая классификация деталей, предложенная профессором А.П. Соколовским, предусматривает 14 классов, характеризуемых общностью технологических задач, решаемых в условиях определённой конфигурации деталей. Она имеет общемашиностроительный характер (валы, втулки, диски, рычаги и т.д.) и может быть расширена добавлением новых классов деталей, характерных для отдельных отраслей промышленности (например, шариковые подшипники, турбинные лопатки и т.п.). Деление классов на группы и подгруппы заканчивается типом – совокупностью деталей одного класса, имеющих в определённых производственных условиях одинаковый маршрут типовых операций, характеризуемых единством содержания и последовательности технологических переходов для группы изделий с общими конструктивными и технологическими признаками. В пределах типа допускаются некоторые отклонения в порядке обработки, возможно исключение или добавление отдельных переходов и операций.
Типизация ТП позволяет:
1) свести огромное количество процессов к минимуму и внести единообразие в обработку сходных деталей;
2) использовать наиболее прогрессивные технологические решения (ТР) и сократить сроки технологической подготовки производства (ТПП);
3) уменьшить количество типов специального оборудования и оснастки и создавать их на базе типовых схем и унифицированных узлов, используя принцип агрегатирования.
Типизацию ТП можно рассматривать как многоэтапную процедуру принятия конкретных ТР, включающую принятие аналитического ТР (определение классификационных признаков деталей) и синтез собственного проектного решения – определение типа деталей и соответствующего типового процесса.
Документация типовых ТП включает в себя классификатор деталей и карты типовых процессов обработки. Карты содержат подробные данные о ТП и отдельных операциях: эскиз заготовки с предельными габаритными размерами, материал, точность обработки и качество поверхностного слоя, последовательность и содержание переходов, оборудование, приспособления и инструменты, режимы обработки, нормы времени (для режимов и норм времени должны быть указаны пределы их изменений для разных размеров заготовок). Типовую технологию в условиях завода разрабатывают в двух вариантах: рабочем, составленном на основании имеющегося оборудования и условий завода, и перспективном, учитывающем все возможности современных видов обработки, новейшего оборудования и прогрессивных методов организации производства.
Использование типовых ТП для изготовления деталей наиболее характерно для крупносерийного и массового производств. В условиях мелкосерийного и серийного производств при изготовлении деталей небольшими партиями возникают большие потери времени, связанные с переналадкой станков при переходе от изготовления одной детали к другой. В этих условиях целесообразно использовать групповой метод обработки, предложенный профессором С.П. Митрофановым. В основе метода (как и при типизации ТП) лежит технологическая классификация заготовок, позволяющая сформировать группы изделий с последующей разработкой технологии их групповой обработки без переналадки или с минимальной переналадкой оборудования.
При классификации заготовок для групповой обработки используют признаки, существенно отличающиеся от признаков типовой технологии. При групповой обработке под классом понимают совокупность изделий, характеризуемых общностью типа оборудования, необходимого для обработки заготовок в целом или отдельных её поверхностей, т.е. при групповой обработке формируют классы заготовок по видам обработки (обработка на токарных станках, фрезерных, сверлильных и др.)
Создание классов является предварительным этапом подготовки групповой обработки. Конечным результатом классификации является формирование групп. Основным признаком для объединения заготовок в группы по отдельным технологическим операциям является общность обрабатываемых поверхностей или их сочетание, при этом в состав группы часто входят заготовки различной конфигурации (рис. 1).В этом смысле понятие группы значительно шире понятия типа, являющегося основой построения ТП.
При формировании группы заготовок дополнительно учитывают также следующие признаки: точность и шероховатость обрабатываемых поверхностей; близость размеров исходных заготовок, позволяющая обрабатывать их на одном и том же оборудовании в однотипных приспособлениях (групповых, переналаживаемых); серийность выпуска заготовок.

Рис.1. Группа заготовок, обрабатываемых в одной
технологической операции
Групповая обработка может ограничиваться отдельными групповыми операциями или применяться для построения группового ТП обработки заготовок в целом.
При проектировании отдельных групповых операций группой называют совокупность заготовок, характеризуемых общностью оборудования, технологической оснастки, наладки и технологических переходов. Группу заготовок создают для выполнения операции на одном и том же станке при его неизменной наладке. В отдельных случаях при переходе к обработке другой заготовки данной группы допускается незначительная подналадка станка (замена режущего инструмента, сменных установочных или зажимных элементов группового приспособления, перестановка линейных и диаметральных упоров и т.п.), которая должна быть осуществлена с минимальной затратой времени.
Совокупность групповых технологических операций, обеспечивающих обработку различных заготовок группы (или несколько групп) по общему маршруту, представляет собой групповой ТП. В этом случае некоторые заготовки или их группы могут пропускать отдельные операции.
Проектирование групповой технологии требует выполнение ряда последовательных процедур:
1) по чертежам изделия завода отбирают детали, которые могут быть изготовлены на одинаковом оборудовании при установке в однотипных приспособлениях с применением одинакового инструмента, при этом учитывают фактическую трудоёмкость обработки отобранных заготовок (деталей) в количестве, обеспечивающем полное выполнение программы в течение определённого планового периода (месяца, квартала, года);
2) устанавливают окончательный состав группы заготовок, обеспечивающий загрузку оборудования в течение выбранного планового периода при минимальных затратах времени на его переналадку для обработки других групп заготовок. Это исключительно важный этап, так как преимущества групповой обработки проявляются в полной мере только в том случае, если между переналадками станка для обработки заготовок различных групп проходит достаточно большой период времени (6...8 смен и более).
В условиях мелкосерийного производства, когда заготовки обрабатывают партиями по 3…10 штук, для создания такой длительности обработки одной группы потребовалось бы объединять в неё большое количество различных по конфигурации заготовок (50…70 наименований), что привело бы к необходимости проектировать сложные многопереходные наладки станков с использованием в основном нормальных режущий инструментов, работающих последовательно. Всё это приводит к снижению производительности, хотя она, конечно, значительно выше, чем при обработке мелких серий заготовок на универсальных станках без групповой переналаживаемой оснастки.
Поэтому при формировании группы рекомендуется провести расчёт рациональных её размеров путём сравнения экономичности обработки большой группы заготовок при редких переналадках станка с последовательной работой режущих инструментов и, как следствие, относительно низкой производительностью выполнения операции с экономичностью обработки нескольких более мелких групп, состоящих из тех же заготовок. В последнем случае, благодаря большей конструктивной и технологической близости входящих в них заготовок, групповые операции могут быть построены с совмещением переходов и применением специальных державок и инструментов. При этом операции будут более производительными, но переналадки станка потребуются чаще.
3) создают комплексную деталь, устанавливают последовательность и содержание переходов групповой операции и разрабатывают схему групповой наладки станка.
Наладку станка разрабатывают для наиболее сложной детали группы, включающей в себя все поверхности, встречающиеся у отдельных деталей группы. В случае, когда такая деталь в группе отсутствует, создают комплексную деталь, т.е. реальную или условную (искусственно созданную) деталь, содержащую все основные элементы, характерные для деталей данной группы, и являющуюся их конструкторско-технологическим представителем.
На рис. 2 приведена схема создания комплексной детали путем искусственного объединения отдельных поверхностей более простых деталей группы. Наладка станка, осуществленная для комплексной детали, позволяет без значительной переналадки обработать любую заготовку группы.

Рис. 2. Формирование комплексной детали:
А – комплексная деталь; Б – И – группа деталей;
1 – 7 – сочетание элементарных обрабатываемых поверхностей
4) проектируют и изготовляют групповую оснастку (приспособления и инструмент) (рис. 3).
Групповые операции с наибольшим успехом применяют для деталей, цикл изготовления которых ограничивается одной операцией (например, токарно-автоматные или токарно-револьверные операции), а также для заготовок, которые после данной операции проходят обработку по индивидуальным процессам или входят в новые группы заготовок, формируемые для других операций (рис. 4).

Рис. 3. Групповая оснастка (1 – 3 – варианты установки
заготовки в приспособление)

Рис. 4. Пример групповой наладки
Типизация ТП и групповая обработка заготовок представляют собой прогрессивные методы унификации технологии, позволяющие перенести высокопроизводительные методы массового производства в условия серийного и даже единичного производств. Каждый из них имеет свою область эффективного применения, причем максимальный успех приносит рациональное сочетание методов типизации ТП и групповой обработки в наиболее выгодных для предприятия условиях.
Технологическая документация на типовые ТП в зависимости от конкретных задач технологической подготовки производства применяется в качестве:
1) рабочей документации для изготовления изделий;
2) информационной основы при разработке рабочих ТП;
3) исходной базы при разработке стандартов на ТП;
4) исходной базы при формировании информационных фондов отрасли и предприятия.
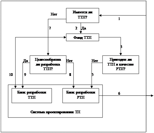
Принципиальная схема технологического проектирования, основанного на использовании разработанного массива ТП, представлена на рис. 5. В табл. 1 приведены возможные варианты последовательности выполнения процедур проектирования рабочего ТП.
При организации технологического проектирования на основе типовой технологии следует учитывать, что типовая форма технологического процесса должна сочетаться с его прогрессивным содержанием, т.е. перспективными технологическими решениями. В этом случае создаются благоприятные условия для значительного сокращения сроков освоения технологических нововведений и их широкого распространения в промышленности.
![]() | |||
![]() | |||
ТЗ на
разработку
ТП
Да
|
ÞАСУП
ß
Производство
Рис. 5. Принципиальная блок-схема проектирования технологических процессов на основе типовых решений
Таблица 1
Варианты выполнения последовательности процедур проектирования
рабочего технологического процесса
| Схема процесса технологического проектирования | Особенности разработки рабочего технологического процесса |
| 1-7-8-6 | Разработка процесса осуществляется в последовательности, принятой для проектирования оригинальных ТП в связи с отсутствием или нецелесообразностью применения типовых технологических решений |
| 1-2-3-4 | Экономически наиболее благоприятный вариант, поскольку исключает необходимость разработки нового исполнения технологической системы и позволяет полностью использовать имеющиеся средства технологического оснащения |
| 1-2-3-5-6 | Разработка процесса значительно проще, чем при проектировании оригинального ТП благодаря высокому уровню преемственности технологических решений |
| 1-7-9-10-3-4 | Разработка трудоемка на первом этапе технологического проектирования, однако первоначальное увеличение объема работ и трудоемкости их выполнения оправданы, если на следующих этапах развития технологии и смены объектов производства можно существенно упростить и сократить цикл технологического проектирования и более эффективно использовать технические средства производства |
Вопросы для самопроверки:
Лекция 10
ТЕХНОЛОГИЯ ПРОИЗВОДСТВА ВАЛОВ
1. Характерные особенности конструкций валов и основные требования к точности их изготовления.
2. Типовые технологические процессы обработки валов.
3. Изготовление ступенчатых валов.
4. Контроль валов.








