В отечественных цветовых пирометрах использован метод красно-синего отношения. Для измерения обоих монохроматических яркостей используют один приемник излучения (фотоэлемент или фотосопротивление) с общим каналом усиления измеряемых сигналов.
Преимущество метода цветовой пирометрии перед другими бесконтактными оптическими способами измерения температуры состоит в том, что в качестве объекта измерения не обязательно иметь АЧТ. Кроме того, исключается влияние излучений, изменения рельефов поверхности, расстояния от пирометра, неселективных поглотителей лучистой энергии, расположенных между объектом измерения и пирометром (сеток, стекол, диафрагм, призм и т.п.).
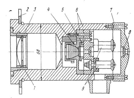
Типичными образцами цветовых пирометров являются приборы ЦЭП – 3М (рис. 3.10.) и ЦЭП – 4.Комплект прибора состоит из трех блоков: датчика, блока электроники, включающего усилительную и решающую схемы, показывающего или регистрирующего прибора.

Рисунок 3.9 – Устройство пирометра с телескопом ТЭРА – 50:
1 – линза; 2 – установочный фланец; 3 – сменная втулка; 4 – термобатарея; 5 – компенсационная катушка; 6 – камера термобатареи; 7 – крышка; 8 – отверстие для наблюдения; 9 – ввод проводов

Рисунок 3.10 – Принципиальная схема измерения температуры цветовым пирометром
1 – оптическая схема; 2 – диск со светофильтрами; 3 – фотоэлемент; 4 – блок измерения; 5 - самописец
Принцип действия прибора основан на автоматическом измерении логарифма отношения спектральных яркостей в красном и синем участке спектра. Вычислительное устройство автоматически осуществляет логарифмирование отношения яркостей. Логарифм спектрального отношения яркостей пропорционален обратным значениям цветовой температуры.
Измеряемое излучение попадает на фотоэлемент через оптическую систему прибора и через обтюратор, вращаемый синхронным двигателем. Обтюратор выполнен в виде диска с отверстиями, закрытыми красными и синими светофильтрами таким образом, что при вращении диска на фотоэлемент попеременно попадает то красная, то синяя энергетическая яркость. Импульсы фототока, пропорциональные красной и синей спектральным энергетическим яркостям, усиливаются и подаются на вход измерительной системы. Фотоэлемент термостатирован. Все эти устройства смонтированы в головке прибора. Усиленный ток подается в измерительный блок, в котором после соответствующих преобразований сигнал поступает в электронную логарифмирующую систему, позволяющую получать линейную шкалу.
В головке датчика находятся также устройства для ручной и автоматмческой регулировки уровня энергетической яркости, индикаторы и органы управления. Для удаления пыли и дыма из поля зрения при измерении температуры открытых объектов в бленду, надеваемую на тубус объектива, подается сжатый воздух. Диапазон измерений температуры составляет 1400—2800°С. Прибор имеет от 3 до 5 поддиапазонов с интервалом 200—400сС. Показания прибора переводятся в градусы Цельсия спомощью градуировочного графика для данного поддиапазона. Градуировку прибора проводят по образцовым температурным лампам. Предельная ошибка измерения цветовой температуры 2000°С равна ±30°С.
Метод бихроматической цветовой пирометрии для измерения и регулирования температуры заключается в том, что на выходе приемника излучения получают два сигнала, пропорциональные спектральным энергетическим яркостям
и
со значениями длин волн
.
В методе бихроматической цветовой пирометрии сигнал для регулирования определяется разностью двух спектральных энергетических яркостей.
Данный метод регулирования цветовой температуры исключает необходимость применения какой-либо схемы или логометра, измеряющего отношение яркостей. На этом принципе работает пирометр РЭД-1, имеющий один фотоэлемент и разделяющий сигналы, пропорциональные соответствующим спектральным энергетическим яркостям во времени, с помощью вращающегося диска со светофильтрами.