До появления метода радиоактивных изотопов перемещение шихты в печи можно было изучать только в верхних горизонтах шахты. Для этого на поверхность шихты помещали на тросиках грузы и по скорости опускания их во время плавки судили о скорости движения шихты. По полученным таким образом опытным данным на малом участке верхнего горизонта шахты (
1 м) судили о характере движения шихты по всей высоте доменной печи, которая, например, в печах объемом 1300
составляет свыше 20 м.
Метод радиоизотопов существенно расширил возможности изучения вопроса и впервые позволил определить время опускания отдельных составляющих шихты на различных уровнях шахты печи и распределение скоростей опускания шихты по радиусу печи, начиная от периферийных слоев и кончая ее центром.
Для опыта выбирают кусок шихтового материала (руда, известняк и др.), высверливают в нем для препарата радиоактивного изотопа отверстие диаметром
6-7 мм на глубину 30÷40 мм. Наружную сторону куска обтачивают, чтобы его можно было поместить в стальную трубу для ввода изотопа в печь. Обычно наружный диаметр куска шихты не превышает 35÷40 мм. В отверстие куска шихты помещают препарат радиоиндикатора - обычно фосфор-32, или кобальт-60, или сурьму-124; масса препарата составляет менее 1 г. После этого отверстие в куске шихты тщательно заделывают огнеупорной массой.
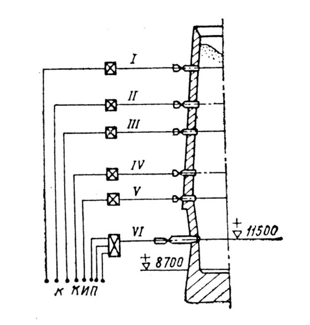
Для ввода «меченого» куска шихты в доменную печь и наблюдения за его движением на различных уровнях шахты печи оборудуются исследовательские площадки. Схема расположения этих площадок для доменной печи объемом 1386
завода им. Дзержинского приведена на рис. 8.1. На уровнях I-VI в шахте печи сделаны отверстия диаметром 50-60 мм для ввода стальных труб в печь.
Стальные трубы служат или для выталкивания штоком «меченного» изотопом куска шихты в печь, или для ввода в движущуюся шихту водоохлаждаемого счетчика радиоактивного излучения. Электрический кабель от счетчиков излучения подведен к пульту кантрольно-измерительных приборов (КИП).
Метод дает исчерпывающую информацию о скорости движения шихты на различных уровнях шахты печи, но очень трудоемок. Кроме этого, исследовательские площадки должны быть оборудованы специальными лебедками для ввода труб со счётчиками излучения в шахту печи.

Рисунок 8.1 – Схема расположения опытных площадок и регистрирующей аппаратуры для изучения движения шихтовых материалов в доменной печи:
I, II, III, IV, V, VI – уровни опытных рабочих площадок с отверстиями в шахте печи; +8700 – уровень рабочей площадки; +11500 – ось воздушных фурм
Второй метод определения времени движения шихтовых материалов можно назвать методом нахождения среднего времени опускания шихты. По трудоемкости он значительно проще первого, здесь изотоп вводится в печь на I горизонте, и по появлению радиоактивности в пробах чугуна находят среднее время пребывания шихты в шахте печи. В качестве радиоиндикатора используют чаще всего препарат красного фосфора-32.
С помощью радиоактивного газа (радон-224), обладающего α-излучением изучали движение газов в шахте доменной печи. Для изучения распределения в горне вдуваемого природного газа использовали Криптон-85. С помощью изотопа фосфор-32 исследовали перемешивание чугуна в горне.






