Дистанционное управление топочным
Обычно паровой котел оборудован несколькими топочными устройствами. При маневрах эти устройства необходимо быстро включать или выключать. Вручную это сделать невозможно. Судовые паровые котлы имеют для этой цели гидравлическую систему дистанционного управления, состоящую из механических приводов, сервомоторов, трубопроводов и арматуры. Приводы и сервомоторы размещают на фронте котла, рядом с топочными уст-
ройствами, а управление ими выносят на главный пульт. Управление может быть ручным или автоматическим.
| Рис. 2.9. Воздухонаправляющее устройство |
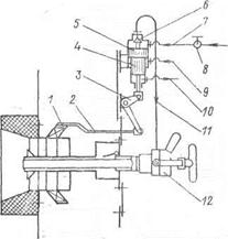
На рис. 2.10 показана схема дистанционного управления топочным устройством. Система состоит из сервомотора 5, к которому подведен мазутный трубопровод 7 с клапаном 8, трубопровода 9 постоянного давления мазута, сливного трубопровода 10 и трубопровода 11 подачи мазута к форсунке 12. Механический привод системы представляет собой рычаг 3 и тяги 2, соединенные с регистром 1 воздухонаправляющего устройства.
|
|
|
Рис. 2.10. Схема дистанционного управления топочным устройством
|
Дистанционное включение в работу топочного устройства осуществляется следующим образом. Вручную или автоматически открывают клапан 8, и мазут от топливного насоса поступает в верхнюю полость сервомотора 5. Под давлением мазута поршень 4, преодолевая давление из трубопровода 9, перемещается сверху вниз и передвигает регистр 1, связанный со штоком поршня рычагом 3 и тягами 2. Регистр сдвигается влево и открывает доступ воздуха из кожуха котла в каналы между лопатками и далее в топку. Топливный клапан 6 вначале движения поршня 4 остается закрытым. Лишь после того, как регистр будет открыт и воздух поступит в топку, поршень, продолжая двигаться вниз, захватит шток клапана 6 и откроет клапан. Через открытый клапан 6 мазут из верхней полости сервомотора поступит в форсунку, а из нее – в топку. Таким образом, при включении топочного устройства в топку вначале подается воздух, а затем топливо; при выключении сначала прекращают подачу топлива, и через некоторое время перестанет поступать воздух.
При отключении топочного устройства закрывают клапан 8 и тем самым прекращают доступ мазута к верхней полости сервомотора и форсунке. Поршень 4 под давлением мазута из трубопровода 9 поднимается вверх и через рычаг 3 и тяги 2 закрывает регистр воздухонаправляющего устройства. Сливной трубопровод 10 служит для отвода мазута, попадающего в нижнюю полость сервомотора через уплотнения поршня.
Рис. 2.10. Схема дистанционного управления топочным устройством






