И ГИДРОДИНАМИКИ ПАРОВЫХ КОТЛОВ
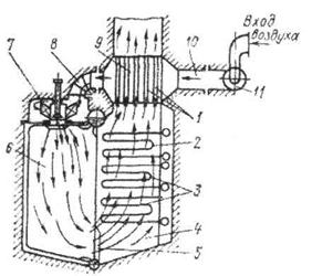
Воздух по каналам-воздуховодам подается к кожуху котла котельным вентилятором. Из кожуха котла через воздухо-направляющие устройства воздух поступает в топку для поддержания горения топлива. Под действием напора, создаваемого вентилятором, газы из топки направляются в газоходы, в которых расположены конвективные поверхности нагрева в виде пучков труб (трубных пакетов). Двигаясь по газоходам, газы омывают пучки труб снаружи, и затем входят в трубы газового воздухоподогревателя. Из воздухоподогревателя газы направляются в дымоход и через дымовую трубу выбрасываются в атмосферу. Такой принцип работы получил название искусственного дутья. Имеются и другие принципы, например, естественной тяги, искусственной тяги и др. Принцип искусственного дутья мало экономичен, но он позволяет в судовых паровых котлах обеспечивать требуемые скорости движения воздуха и газов, что важно для обеспечения эффективной работы агрегатов.
Система каналов для подачи воздуха и движения газов называется газовоздушным трактом (ГВТ) (Рис. 4.1). Воздух и газы, двигаясь в газовоздушном тракте, испытывают сопротивления, которые называются газовыми или аэродинамическими. Движение воздуха и газов с заданной скоростью в газовоздушном тракте обеспечивается при условии, если напор, создаваемый котельным вентилятором
, равен суммарному аэродинамическому сопротивлению газовоздушного тракта котла
, то есть
|
|
|
.
| (4.1) |
Следовательно, чтобы определить требуемый напор котельного вентилятора, необходимо рассчитать суммарное аэродинамическое сопротивление
.
Воздух и газы являются вязкими средами. При движении вязких сред возникают сопротивления трения и местные сопротивления. Сопротивление трения связано с тем, что частицы движущейся вязкой среды прилипают к стенкам, способствуя образованию около них подтормаживающего пристенного слоя, называемого пограничным слоем. В пограничном слое скорость движения уменьшается от максимальной па оси потока до нуля около стенки. Однако основную долю в величине
занимают не сопротивления тре-
ния, а местные сопротивления, связанные с необходимостью преодолевать движущейся вязкой средой какое-либо местное сопротивление: вход в узкий канал, выход из канала в большой объем, поворот и др. При этом в потоке возникают вихри, отрывные течения и т. п., на образование которых тратится энергия потока.
Рис. 4.1. Схема газовоздушного тракта судового парового котла
с вентиляторным дутьем:
– Газовый тракт: 1 – трубы газового воздухоподогревателя; 2 – экономайзер;
3 – основной и промежуточный пароперегреватель; 4 – конвективная шахта;
5 – фестон; 6 – топка
– Воздушный тракт: 7 – воздухонаправляющее устройство; 8 – напорный патрубок горячего воздуха; 9 – межтрубное пространство воздухоподогревателя;
10 – напорный патрубок хоодного воздуха; 11 – вентилятор
|
Суммарное аэродинамическое сопротивление движению воздуха и газов в ГВТ в общем случае можно рассчитать по формуле, Па,
|
|
|
,
| (4.2) |
| где |
| – | суммарное сопротивление трения при движении среды в каналах; |
| – | сумма местных сопротивлений (входа, выхода и т. п.); | |
| – | суммарное сопротивление поперечно омываемых трубных пучков; | |
| – | естественная тяга (самотяга). |
Рассмотрим методы определения величин, входящих в правую часть формулы (4.2).
.
Рис. 4.1. Схема газовоздушного тракта судового парового котла
с вентиляторным дутьем:
– Газовый тракт: 1 – трубы газового воздухоподогревателя; 2 – экономайзер;
3 – основной и промежуточный пароперегреватель; 4 – конвективная шахта;
5 – фестон; 6 – топка
– Воздушный тракт: 7 – воздухонаправляющее устройство; 8 – напорный патрубок горячего воздуха; 9 – межтрубное пространство воздухоподогревателя;
10 – напорный патрубок хоодного воздуха; 11 – вентилятор
,






