Пароперегреватели, экономайзеры,
пароохладители, воздухоподогреватели,
Пароперегреватели служат для перегрева пара, то есть для получения пара, температура которого превышает температуру насыщения при давлении в котле. Использование в энергетической установке перегретого пара вместо насыщенного увеличивает ее к. п. д. на 10–15%, а с повышением температуры перегрева пара на 20–25°С к. п. д. установки возрастает на 1–1,5%. Поэтому ПП являются обязательной составной частью не только главных, но и многих вспомогательных и утилизационных котлов.
В ПП из пароводяного коллектора поступает влажный насыщенный пар, который, проходя внутри труб, омываемых дымовыми газами, сначала подсушивается, а затем перегревается. Для большего перегрева пара ПП размещают в высокотемпературной зоне газохода котла. Пароперегреватель – наиболее теплонапряженный элемент котла.
Пароперегреватели классифицируют по ряду признаков. По назначению выделяют ПП основные и промежуточные (последние применяют в ПТУ с вторичным перегревом пара, например, котел КВГ-80 танкеров типа «Крым». В таких ПТУ пар, отработавший в турбине высокого давления, поступает в промежуточный ПП котла, где вновь перегревается до начальной температуры и направляется к турбине среднего давления главного турбозубчатого агрегата). По тепловосприятию ПП делят на конвективные, конвективно-радиационные и радиационные. Последние два типа из-за более низкой надежности ПП широкого распространения на судах не получили. По конструкции ПП разделяют на петлевые (Рис. 7.7, а, б), змеевиковые (Рис. 7.7, в) и вертикальные двухколлекторные (рис. 7.7, г).
|
|
|
Петлевые ПП выполняют одноколлекторными (Рис. 7.7, а) и двухколлекторными (Рис. 7.7, б, г). Одноколлекторную компоновку применяют при числе петель труб в ПП больше трех. Диаметр коллектора 1 в этом случае (для вальцовки труб, а во время эксплуатации – для осмотра и глушения вышедших из строя петель) составляет не менее 400–500 мм. Внутри коллектора размещают продольную 2 и ряд поперечных 3 перегородок, разделяющих коллектор на ряд камер и служащих для обеспечения необходимой скорости (25–15 м/с) пара. В двухколлекторном варианте размеры коллекторов 4 могут быть существенно меньше. Вальцовку, контроль и глушение трубок ПП в этом случае осуществляют через специальные лючковые затворы (на схеме не показаны). При такой компоновке (Рис. 7.7, б) внутри коллекторов устанавливают только поперечные перегородки.
Наличие перегородок является существенным недостатком петлевых ПП, так как кроме трудностей монтажа и демонтажа их при ремонте неизбежны перетечки пара из одной камеры в другую во время эксплуатации, что снижает перегрев пара, ухудшает работу ПП. Основное преимущество петлевых ПП в том, что при возможном в условиях эксплуатации пережоге какой-либо трубы выходит из строя одна петля, которая составляет относительно малую часть его поверхности нагрева.
|
|
|
| Рис. 7.7. Конструктивные схемы пароперегревателей судовых котлов |
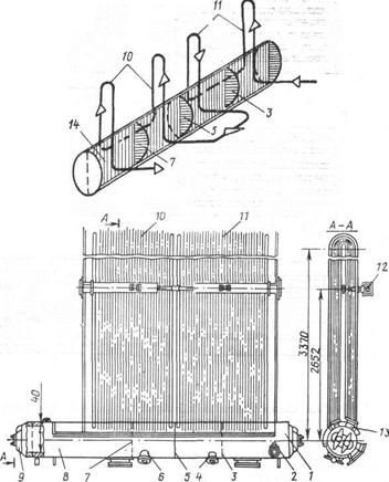
На рис. 7.8 приведены схема движения пара и конструкция одноколлекторного петлевого ПП с вертикальным расположением петель. Такой ПП имеют главные котлы типа КВГ-25, КВГ-34. Коллектор 8 разделен на две части поперечной перегородкой 5, а пучок труб – на две секции 10 и 11. В каждой части коллектора 8 имеется продольная 14 и поперечные 7 и 3 перегородки, которые делают каждую секцию коллектора двухходовой. Это позволяет увеличить скорость перемещения пара в трубах, а следовательно, – интенсивность теплообмена между стенкой трубы и паром, то есть улучшить охлаждение труб ПП. Коллектор пароперегревателя сварен из двух цельнокованых труб, к концам которых приварены днища 1, имеющие эллиптические лазы размером 280х300 мм, закрываемые затвором 9.
Насыщенный пар из пароводяного коллектора котла подводится к патрубку 2, а перегретый – отводится через патрубок 13. Патрубки 6 и 4 служат для присоединения секций ПП к пароохладителю, размещенному в водяном пространстве пароводяного коллектора.
Петли ПП крепят к опорной балке 12, которая охлаждается изнутри воздухом от котельного вентилятора. Крепление труб к балке 12 подвижное. Оно обеспечивает продольное перемещение труб при тепловом расширении. Перемещение осуществляется за счет скольжения ползуна по направляющим кронштейна, приваренным к опорной балке.
Змеевиковые ПП (см. рис. 7.7, в) обладают высокой компактностью, удобством размещения в любой части газохода, не имеют поперечных перегородок в коллекторах 5. Требуемая скорость пара в них достигается за счет использования многоходовых змеевиков 6. На рис. 7.9 приведены схемы одно-, двух- и трехходовых змеек ПП. При постоянном расходе пара увеличение числа ходов приводит к уменьшению сечения для прохода пара, а следовательно, к росту его скорости.
Рис. 7.8. Одноколлекторный петлевой пароперегреватель:
а – схема движения пара; б – конструктивное выполнение ПП
|
Однако в таких конструкциях ПП при работе котла трудно равномерно распределить пар по змеевикам, а на стоянке – полностью осушить змеевики. Кроме того, выход из строя одной из труб приводит к потере значительной части поверхности нагрева ПП, особенно при использовании многоходовых змеевиков.
Поэтому змеевиковые ПП чаще применяют для котлов с высокими параметрами пара и развитой поверхностью нагрева, а также для котлов с принудительной циркуляцией и прямоточных. Надежность работы пароперегревателей в значительной степени зависит от качества соединений труб с коллекторами. Крепление труб к коллекторам ПП производят вальцовкой (см. рис. 7.3, б), сваркой встык (Рис. 7.10, а), либо используют сварно-вальцовочное соеди-
|
|
Рис. 7.10. Крепление труб к коллекторам ПП
|
нение (Рис. 7.10, б, сварка в верхней части по периметру трубы). Сварное соединение труб 1 с коллекторами 2 через промежуточный штуцер 3 чаще применяют в змеевиковых ПП, вальцовочные – в одноколлекторных петлевых.
Водяные экономайзеры (ВЭ) предназначены для подогрева питательной воды, поступающей в котел, теплотой дымовых газов. Их устанавливают в низкотемпературной зоне котла. Подогрев воды в ВЭ на один градус вызывает охлаждение газов на 2,5–3°С, что способствует росту к. п. д. котла. Кроме того, наличие ВЭ способствует снижению размеров парообразующей поверхности нагрева котла, его массы и габаритов.
|
|
|
По конструктивному выполнению ВЭ можно разделить на змеевиковые и петлевые. Наибольшее распространение получили
Рис. 7.11. Гладкотрубный водяной экономайзер
|
змеевиковые конструкции в одно- и многосекционном исполнении. В ВЭ вода, как правило, недогревается до температуры кипения на 30–70°С. Кипящие экономайзеры из-за низкой надежности в судовой практике распространения не получили. Чтобы исключить застаивание паровых и воздушных пузырей вблизи стенок труб, в ВЭ чаще используют восходящее движение воды (прямоток) в трубах. Нисходящее движение применяют только для секций ВЭ, размещенных в зоне более низких температур газа. Водяные экономайзеры изготовляют из гладких труб или труб с наружными ребрами. Последние сложны в изготовлении и менее надежны в эксплуатации (пожароопасны) из-за интенсивного загрязнения золой и сажей.
На рис. 7.11 показан гладкотрубный ВЭ. Он состоит из двух коллекторов 1, 3 и прикрепленных к ним змеевиков 4. Питательная вода поступает в коллектор 1 и, пройдя по змеевикам 4, входит в коллектор 3. Коллекторы жестко связаны с каркасом котла. Для увеличения скорости движения воды коллекторы разделены поперечными перегородками на отдельные камеры, соединенные между собой перепускными трубами 2. Охлаждаемые трубы 5, включенные в питательную магистраль, служат опорами змеевиков ВЭ.
Внутренний диаметр коллекторов ВЭ составляет 100–200 мм, наружный диаметр труб
= 25 ÷ 38 мм, поперечный и продольный относительные шаги труб в змеевиках
1,5. Скорость воды в трубах ВЭ должна составлять 1,5–2,5 м/с. Скорость менее 1,5 м/с может привести к застою газовых пузырей у внутренней стенки труб, а более 2,5 м/с – к неоправданному росту гидравлического сопротивления ВЭ.
Воздухоподогреватели (ВП) применяют для подогрева воздуха, поступающего от котельного вентилятора. В качестве горячего теплоносителя в ВП используют дымовые газы, отработавший пар или воду. Подача в топку горячего воздуха улучшает топочный процесс, способствует повышению температуры газа в топке и газоходе котла. Использование ВП может увеличить к. п. д. котла на 3–5%. Воздухоподогреватели, в которых греющей средой служат продукты сгорания топлива, называются газовыми, а ВП с паровым или водяным обогревом – соответственно паровыми или водяными. Поверхность нагрева ВП может быть выполнена из труб или профильных листов, поэтому ВП могут быть трубчатые или пластинчатые. Трубчатые ВП изготовляют из гладких или оребренных труб обычно круглого поперечного сечения. Находят применение такие трубы эллиптического, овального и каплеобразного сечения.
|
|
|
В судовых котлах чаще применяют газовые ВП рекуперативного типа, в которых греющая среда и воздух разделены непроницаемой стенкой. Однако, как и в стационарных котлах, используют и регенеративные ВП, обычно вращающегося типа. В регенеративных ВП одна и та же поверхность теплообмена (насадка), обычно выполняемая из профильных листов, периодически омывается средами, обменивающимися теплотой: вначале дымовыми газами, затем воздухом. На первом этапе теплоту горячих газов воспринимает и аккумулирует насадка, на втором – воздух воспринимает теплоту от насадки и нагревается.
Конструктивная схема газового рекуперативного трубчатого ВП представлена на рис. 7.12. Дымовые газы 1 омывают трубы 5 изнутри, а воздух (стрелка 4) движется в межтрубном пространстве и омывает трубы ВП снаружи. Трубы крепят к трубным решеткам 3 с помощью сварки. Для обеспечения перемещения труб при тепловом расширении предусмотрена установка компенсатора 2. При эксплуатации сажистые и золовые отложения в таких ВП появляются на внутренней поверхности труб, которую периодически очищают сажеобдувочными устройствами.
Рис. 7.12. Конструктивная схема газового
трубчатого воздухоподогревателя
|
Воздухоподогреватели работают в области низких температур дымовых газов, поэтому их поверхности нагрева могут быть подвержены сернистой коррозии, особенно при использовании низкосортных топлив с большим содержанием серы. Необходимо, чтобы температура стенки труб ВП была выше температуры точки росы, то есть температуры, при которой происходит конденсация водяных паров, содержащихся в продуктах сгорания. Это обстоятельство учитывают при проектировании и эксплуатации ВП. Если воздухоподогреватель отсутствует, то сернистой коррозии подвергаются трубы водяного экономайзера.
Регенеративные вращающиеся газовые ВП (Рис. 7.13, а) менее подвержены сернистой коррозии, так как температура металла насадки периодически меняется. Основным элементом вращающегося ВП является ротор 1, разделенный перегородками 2 на секторы, заполненные профильными листами 3. Ротор установлен на подшипниках 5 в корпусе 7, который для уменьшения протечек воздуха имеет уплотнительные листы 6. Вал 4 ротора вращает с частотой 2–3 об/мин приводной механизм 8 с электродвигателем, мощность которого сравнительно невелика (2–3 кВт). Патрубки 9, 10 (Рис. 7.13, б), присоединенные к верхней и нижней частям корпуса 7, служат для отвода и подвода воздуха и дымовых газов. Котельная установка судна, состоящая из двух котлов, снабжается только одним вращающимся ВП, обеспечивающим подогрев воздуха от температуры 30°С до 250–260°С и снижение температуры уходящих газов с 315–320°С до 130–135°С. Вращающиеся ВП имеют меньшую массу и габариты по сравнению с рекуперативными, обладают малым гидравлическим сопротивлением, надежны и экономичны. Вместе с тем в таких ВП велики протечки воздуха, особенно при износе уплотнений.
Применение в качестве горячего теплоносителя отработавшего пара исключает сернистую коррозию элементов ВП, повышает их надежность в период эксплуатации. Паровые ВП установлены на главных котлах типа КВГ-34. В таких ВП влажный насыщенный пар из раздаточного коллектора направляется внутрь оребренных труб малого диаметра. Оребрение позволяет увеличить поверхность ВП и выполнить его более компактным. Конденсат греющего пара отводится по трубам через сборный коллектор к общему конденсационному сосуду.
|
Рис. 7.13. Вращающийся воздухоподогреватель:
а – общий вид; б – размещение патрубков подвода (отвода)
теплоносителей на ВП
|
Водяные ВП включают перед низкотемпературной секцией основного газового ВП. Они предназначены для предварительного подогрева воздуха, чтобы избежать сернистой коррозии деталей основного ВП, особенно при частичных нагрузках котла. Водяные ВП имеют змеевиковую или петлевую конструкцию с оребрением наружной поверхности труб.
Пароохладители (ПО) служат для получения охлажденного пара (пара пониженных параметров), необходимого ряду вспомогательных механизмов энергетической установки и судна в целом, а также для регулирования температуры перегретого пара. На судах применяют пароохладители рекуперативного и смесительного типов. Рекуперативные ПО обычно размещают в пароводяном (КВГ-25, К.ВГ-34) или водяном (главные котлы судов типа «Сергей Боткин») коллекторах. В смесительных ПО охлаждение пара осуществляется за счет впрыска в пар питательной воды.
Рекуперативный ПО (Рис. 7.14) состоит из раздаточного 1 и сборного 2 коллекторов, соединенных трубами 3, наружная поверхность которых омывается котловой водой, а внутренняя – паром.
| Рис. 7.14. Рекуперативный пароохладитель |
Смесительные ПО (Рис. 7.15) применяют лишь в том случае, когда система водоподготовки судна обеспечивает низкое (1–3 мг/кг) солесодержание питательной воды. Иначе неизбежно загрязнение паропроводов и механизмов (особенно лопаток турбин) солями. Вода 2 подается в корпус смесителя по трубкам, имеющим сопла для распыливания воды против потока 1 перегретого пара. Для лучшего перемешивания воды с паром устанавливают барабаны, имеющие многочисленные узкие щели на своей поверхности. Патрубок 3 служит для спуска воды перед включением смесителя в работу, а 4 – для отвода охлажденного пара.
Надежная и экономичная работа котла возможна только при своевременной очистке его поверхностей нагрева, которые при эксплуатации покрываются со стороны дымовых газов слоем сажистых отложений. Наличие сажи на стенках труб приводит к снижению к. п. д. (растет температура уходящих газов) и температуры перегретого пара, увеличивает пожароопасность «хвостовых» поверхностей нагрева.
Рис. 7.15. Смесительный пароохладитель
|
Сажеобдувочные аппараты (СА) используют для очистки труб от сажи и золы, размещают в газоходе котла (Рис. 7.16) вблизи его отдельных теплообменников 1, 2, 3. На рис. 7.16 приведена схема расположения СА в газовом тракте котла КВГ-34К. Зона действия СА не более 1 м. На большем расстоянии снижается эффективность очистки, которую обычно производят паром давлением 1,2 МПа и температурой 250°С.
Рабочая часть СА – это вращающаяся цилиндрическая труба с рядом сопл, расположенных вдоль образующих цилиндра. В трубу подается пар, который, выходя из сопл, ударяет в стенки труб теплообменников, размещенных в газоходе котла, и тем самым очищает их от загрязнений. Шаг сопл по длине СА обычно согласуют с шагом труб в обдуваемом пучке. Сопла имеют внутренний диаметр около 5 мм и длину 15 мм. Они вварены в стенку вращающейся трубы, которая крепится к трубам теплообменников на специальных кронштейнах. Подвод пара осуществляется через муфту, обеспечивающую возможность излома осей головки СА и сажеобдувочной трубы. В зоне высоких температур (свыше 1000°С) для изготовления сажеобдувочных труб используют жаростойкую сталь Х20Н14С2, а в зоне низких температур – сталь 20.
Рис. 7.16. Схема размещения сажеобдувочных аппаратов
в газоходе котла КВГ-34К
|
Сажеобдувочные аппараты используются также для периодической (примерно через 2000–2500 ч работы) обмывки поверхностей нагрева специальным раствором.
Рис. 7.8. Одноколлекторный петлевой пароперегреватель:
а – схема движения пара; б – конструктивное выполнение ПП
Рис. 7.10. Крепление труб к коллекторам ПП
Рис. 7.11. Гладкотрубный водяной экономайзер
Рис. 7.12. Конструктивная схема газового
трубчатого воздухоподогревателя
Рис. 7.13. Вращающийся воздухоподогреватель:
а – общий вид; б – размещение патрубков подвода (отвода)
теплоносителей на ВП
Рис. 7.15. Смесительный пароохладитель
Рис. 7.16. Схема размещения сажеобдувочных аппаратов
в газоходе котла КВГ-34К






