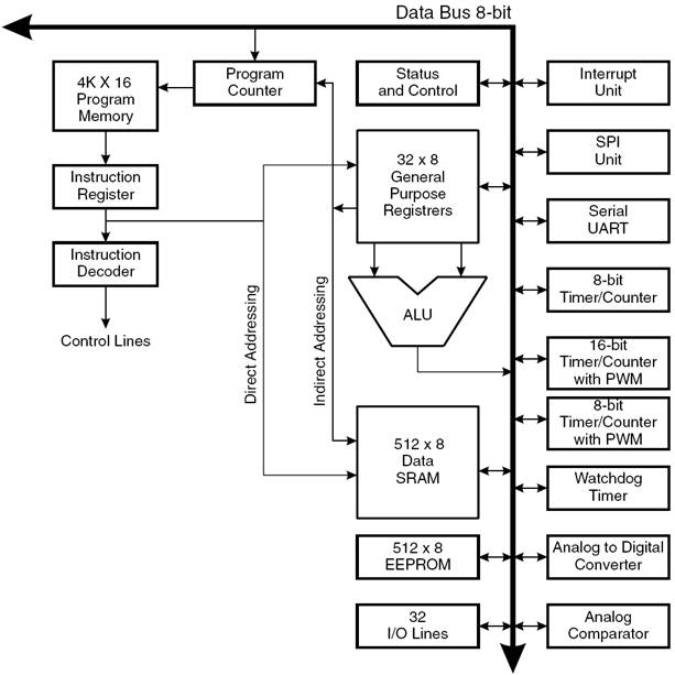
Укрупненная структурная схема микроконтроллера AT90S8535 приведена на рис.4.1 Микроконтроллер имеет 32 8-разрядных регистра общего назначения, называемых также регистровым файлом. Доступ к этим регистрам осуществляется за один машинный цикл. Поэтому за один машинный цикл исполняется одна операция АЛУ. Два операнда выбираются из регистрового файла, выполняется операция, результат ее записывается в регистровый файл - все за один машинный цикл.
Шесть из 32 регистров (R26-R31) можно использовать как три 16-разрядных указателя в адресном пространстве данных, что дает возможность использовать высокоэффективную адресную арифметику. С этими регистровыми парами можно работать как с 16-разрядными регистрами, которые будут называться X (R26, R27), Y (R28, R29) и Z (R30, R31). Регистр Z можно также использовать для адресации таблиц в памяти программ.

Рис.4.1 – Архитектура AT90S8535
АЛУ поддерживает арифметические и логические операции с регистрами, с константами и регистрами. Операции над отдельными регистрами также выполняются в АЛУ.
|
|
|
Кроме регистровых операций, для работы с регистровым файлом могут использоваться доступные режимы адресации, поскольку регистровый файл занимает адреса $00-$1F в области данных (SRAM), обращаться к ним можно как к ячейкам памяти.
В пространстве ввода-вывода 64 адреса отведено для периферийных устройств, таких как управляющие регистры, таймеры/счетчики и другие. Доступ к пространству ввода/вывода может осуществляться непосредственно, как к ячейкам памяти (SRAM), расположенным после регистрового файла ($20-$5F).
Процессоры AVR построены по гарвардской архитектуре с раздельными областями памяти программ и данных. Доступ к памяти программ осуществляется п ри помощи одноуровневого буфера. Во время выполнения команды, следующая выбирается из памяти программ. Подобная концепция дает возможность выполнять по одной команде за каждый машинный цикл. Память программ - это внутрисистемная загружаемая флэш-память.
При помощи команд относительных переходов и вызова подпрограмм осуществляется доступ ко всему адресному пространству. Большая часть команд AVR имеет размер 16-разрядов, одно слово. Каждый адрес в памяти программ содержит одну 16- или 32-разрядную команду.
При обработке прерываний и вызове подпрограмм адрес возврата запоминается в стеке. Стек размещается в памяти данных общего назначения, соответственно размер стека ограничен только размером доступной памяти данных и ее использованием в программе. Все программы пользователя должны инициализировать указатель стека (SP) в программе, выполняемой после сброса (до того как вызываются подпрограммы и разрешаются прерывания). 8-разрядный указатель стека доступен для чтения/записи в области ввода/вывода.
|
|
|
Доступ к 128 байтам статического ОЗУ, регистровому файлу и регистрам ввода/вывода осуществляется при помощи пяти доступных режимов адресации поддерживаемых архитектурой AVR.
Все пространство памяти AVR является линейным и непрерывным.
Гибкий модуль прерываний имеет собственный управляющий регистр в пространстве ввода/вывода, и флаг глобального разрешения прерываний в регистре состояния. Каждому прерыванию назначен свой вектор в начальной области памяти программ. Различные прерывания имеют приоритет в соответствии с расположением их векторов. По младшим адресам расположены векторы с большим приоритетом.






