В системе SECAM поочерёдная передача сигналов
требует согласованной работы электронных коммутаторов кодирующего и декодирующего устройств (см. рисунок 5.18, 5.21).
Эти коммутаторы должны переключаться синхронно и синфазно. Фазировка электронного коммутатора в декодирующем устройстве строится на распознавании цветности (
) принимаемого сигнала с помощью сигнала цветовой синхронизации U ЦС или, как его часто называют, сигнала опознавания. Он формируется из серии 9 импульсов SR и SB трапецеидальной формы, замешиваемых в сигналы
с 7 по 15 строку одного поля и с 320 по 328-ю строку второго в кодирующем устройстве (рисунок 5.20). Начало и конец каждого импульса совпадают соответственно с началом и концом активной части строки. Амплитуда импульсов равна уровням ограничения цветоразностных сигналов, вызванных НЧ предыскажениями, т.е. +1,25 для сигнала
и –1,52 для сигнала
.

Рис. 5.18. Структурная схема кодирующего устройства системы SECAM
Таким образом, при поступлении на частотный модулятор они займут весь диапазон девиации частоты. В строках
частота сместится вверх до 4,756 МГц, а в строках
– вниз до 3,9 МГц. Различие в полярности сигналов SR и SB или соответственно частот в сигнале цветовой синхронизации является признаком передачи той или иной цветности, который используется для распознавания сигналов в приёмнике. Поскольку сигнал цветовой синхронизации передаётся в соответствии с указанными номерами строк во время гасящих импульсов полей, то он не вызывает помех на изображении.
|
|
|

Рис. 5.19. Защитная цветовая вспышка

Рис. 5.20. Формирование сигнала цветовой синхронизации:
а) формирующие сигналы SR и SB;
б) сигнал цветовой синхронизации после частотного модулятора
Структурная схема кодирующего устройства
Сигнал яркости
и цветоразностные сигналы
формируются в матричном устройстве в соответствии с приведёнными ранее соотношениями. Канал яркостного сигнала (рисунок 5.18) включает в себя корректор перекрёстных искажений и широкополосную линию задержки, выравнивающую во времени широкополосный сигнал
и относительно узкополосный сигнал цветности US. Затем сигнал яркости
поступает на сумматор, где смешивается с сигналом цветности и импульсами синхронизации приёмника.
Цветоразностные сигналы
в цепях НЧ-предыскажений подвергаются линейной коррекции с подъёмом на верхних частотах (рисунок 5.16). После предыскажений в цветоразностные сигналы во время обратного хода по кадру замешиваются сигналы цветовой синхронизации SR и SB (см. рисунок 5.20). Дальнейшая обработка и передача сигналов
осуществляется поочерёдно с частотой строк, реализуемой электронным коммутатором. Последний переключается симметричными прямоугольными импульсами (меандром), частота которого в два раза ниже частоты переключения, т.е. равна
/2.
|
|
|
Ограничение цветоразностных сигналов по полосе частот и устранение нежелательных коммутационных помех, возникающих при работе электронного коммутатора, производятся с помощью ФНЧ. Сквозная АЧХ цепи НЧ-предыскажений и ФНЧ приведена на рисунке 5.16. Далее цветоразностные сигналы поступают на амплитудный ограничитель, в котором ограничиваются выбросы, вызванные НЧ-предыскажениями. Уровни ограничения для сигналов
отличаются. Поэтому на амплитудный ограничитель дополнительно подаются симметричные прямоугольные импульсы, которые с частотой строк смещают на соответствующую величину сигналы
относительно постоянных уровней ограничения. Кроме того, размах сигнала
увеличивается в 1,22 раза.
С выхода ограничителя сигнал поступает на частотный модулятор, на входе которого включена схема фиксации уровня. Основной особенностью частотного модулятора в системе SECAM является, во-первых, модуляция сигналами
двух отличающихся по частоте поднесущих, во-вторых, необходимость поддержания с высокой точностью номинальных значений поднесущих. Непосредственная стабилизация этих частот невозможна. В схеме на рисунке 5.18 используется импульсная автоподстройка по сигналам опорных эталонных генераторов. Такой способ позволяет стабилизировать не только частоту, но и начальные фазы колебаний, что необходимо для реализации метода коммутации фазы.
Обычно в качестве модулятора используется генератор с самовозбуждением, обеспечивающий достаточно хорошую стабильность начальной частоты (в момент его включения) и линейность модуляционной характеристики. Автоподстройка частоты и фазы колебаний модулятора по опорным частотам производится во время обратного хода по строке, когда модулирующие цветоразностные сигналы равны нулю, и, следовательно, должна генерироваться частота с номинальным значением одной из поднесущих. Сравнение колебаний модулятора с колебаниями эталонных генераторов осуществляется в фазовом детекторе. Сигнал ошибки через схему фиксации уровня поступает на частотный модулятор только во время обратного хода благодаря подаваемым в это время на схему импульсам фиксации (ИФ).
Частотный модулятор во время фиксирующих импульсов должен подстраиваться к эталонному генератору не только по частоте, но и по фазе. При этом равенство фаз колебаний должно быть обеспечено в самом начале строки. Для обеспечения этого процесса колебания частотного модулятора в конце каждой строки срываются импульсами срыва, и запуск генератора начинается всегда с одной и той же фазы.
Эталонные генераторы подключаются к фазовому детектору поочерёдно с помощью коммутатора, работающего синхронно с коммутатором сигналов
. Стабильность частоты колебаний эталонных генераторов обеспечивается с помощью кварцевых фильтров. Неизменность фазы колебаний в начале каждой строки достигается путём возбуждения генераторов короткими импульсами, следующими с частотой строк.
Таким образом, стабилизация частоты и фазы ЧМ-генератора обеспечивается схемой автоподстройки только в течение интервала обратного хода строчной развёртки. Дальнейшее поддержание точного значения частоты и фазы поднесущей в интервале активной части строки зависит от точности поддержания задаваемого фиксирующей схемой опорного уровня. Поэтому стабильность всего узла модулятора в большой степени определяется качеством работы фиксирующей схемы.
С выхода частотного модулятора сигнал цветности поступает на устройство коммутации фазы, в котором с целью уменьшения заметности поднесущей на изображении производится изменение фазы колебаний по рассмотренному выше закону. Цепь ВЧ-предыскажений обуславливает возникновение в ЧМ-сигнале дополнительной амплитудной модуляции (стандартом не предусмотрена, но желательна для устранения перекрёстных искажений от сигнала яркости в канале сигнала цветности). Далее сигнал подаётся в устройство подавления поднесущей. Подавление осуществляется с помощью импульсов, формируемых генератором управляющих импульсов. Подавление необходимо для того, чтобы колебания поднесущих частот не наложились на синхронизирующие импульсы приёмника. Поэтому оно производится во время кадровых гасящих импульсов за исключением периодов, когда передаётся сигнал цветовой синхронизации, и во время строчных гасящих импульсов, за исключением времени передачи защитных цветовых вспышек.
|
|
|
Передача защитных цветовых вспышек в интервале времени, показанном на рисунке 5.19, необходима для того, чтобы в приёмнике, в амплитудных ограничителях сигнала цветности, режим ограничения успел установиться до начала активной части строки. При отсутствии защитных цветовых вспышек изображение у левого края экрана будет искажено сильными шумами и переходными процессами. Последние имеют место в НЧ-корректоре частотного дискриминатора. Окончательно сформированный сигнал цветности поступает на сумматор, где складывается с сигналами яркости и синхронизации приёмника.
Менее распространённой схемой является схема кодирующего устройства, где коммутация красной и синей строк производится после частотной модуляции. Имея некоторые преимущества, такая схема более громоздка, так как содержит двойной комплект устройств формирования и обработки сигналов
и частотных модуляторов.
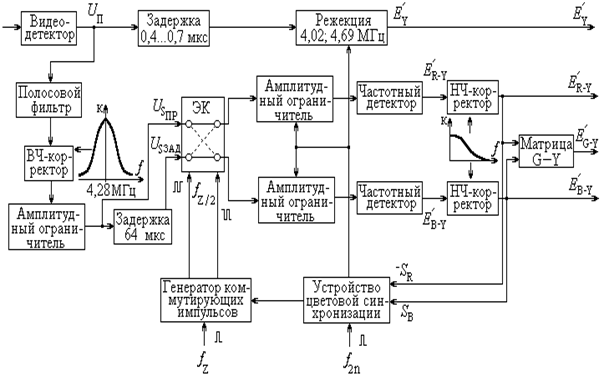
Структурная схема декодирующего устройства
Полный цветовой сигнал U П с видеодетектора (рисунок 5.21) поступает на ВЧ-корректор сигнала цветности, с помощью которого достигается увеличение отношения сигнал/шум и производится выделение из полного сигнала цветности. В профессиональных декодерах для лучшего подавления яркостных компонент дополнительно включается полосовой фильтр. Амплитудно-частотная характеристика корректора является обратной АЧХ цепи ВЧ-предыскажений. В результате в сигнале цветности устраняется амплитудная модуляция, возникшая на передающем конце после прохождения цепи ВЧ-предыскажений. Остаточные явления амплитудной модуляции позволяют судить о качестве настройки ВЧ-корректора и устраняются амплитудным ограничителем, включенным после корректора. Поддерживаемое с помощью амплитудного ограничителя постоянство размаха сигнала цветности независимо от уровня принятого сигнала при глубоком ограничении может сопровождаться увеличением заметности шумов. Поэтому в лучших образцах устройств, уменьшая уровень ограничения, в канал цветности вводят цепь автоматической регулировки усиления.
|
|
|
Ограниченный по амплитуде сигнал цветности поступает на два входа электронного коммутатора ЭК. На один вход он подаётся непосредственно, а на второй – с задержкой на длительность строки. Устройство задержки должно удовлетворять требованию точности и стабильности. Невыполнение этого требования приводит к заметным на экране искажениям в виде зубчатости на вертикальных цветовых переходах. Электронный коммутатор перераспределяет прямой и задержанный сигналы таким образом, что на один из выходов всегда поступает сигнал, соответствующий передаче
, а на другой –
. Коммутатор содержит четыре ветви, из которых две замкнуты, а две разомкнуты. С частотой строк состояние ветвей изменяется на противоположное. Запирание и отпирание ветвей коммутатора производится с помощью симметричных меандров полустрочной частоты и противоположной полярности. После электронного коммутатора разделённые сигналы цветности поступают на вторую ступень амплитудного ограничения, устраняющую помехи и паразитную амплитудную модуляцию, вызванную неравномерностью АЧХ линии задержки и коммутатора.
С амплитудных ограничителей сигналы цветности поступают на частотные детекторы. С их выходов без дополнительных преобразований получают сигналы
(а не
, которые передавались на поднесущей). С этой целью АЧХ детектора в канале R–Y придаётся противоположный наклон по отношению к АЧХ детектора в канале B–Y. Соответственно коэффициентам компрессии подобраны и размахи сигналов цветности на входах частотных детекторов. В большинстве частотных детекторов используются колебательные контуры. Их настраивают на номинальные значения двух поднесущих частот.

Рис. 5.21 Структурная схема декодирующего устройства
системы SECAM
После детектирования цветоразностные сигналы подвергаются низкочастотной коррекции, повышающей отношение сигнал/шум. Амплитудно-частотные характеристики корректоров обратны АЧХ цепей НЧ-предыскажений. Часто с НЧ-корректором совмещают цепь подавления поднесущей частоты, присутствующей на выходе частотного детектора. Эта цепь представляет собой ФНЧ со срезом F В = 2 МГц. Наконец, с помощью матрицы G–Y из цветоразностных сигналов
формируется сигнал
.
Уже отмечалось, что принцип последовательной передачи сигналов в системе SECAM предполагает синхронную и синфазную работу коммутаторов сигналов на передающем и приёмном концах системы. Синхронность обеспечивается формированием коммутирующих импульсов из строчных импульсов. Правильность фазировки достигается с помощью устройства цветовой синхронизации. Из большого разнообразия вариантов его построения в качестве примера рассмотрим функциональную схему на рисунке 5.22. Цветоразностные сигналы с выходов каналов R–Y и B–Y складываются в матрице, состоящей из двух резисторов. Так как сигналы цветовой синхронизации SR и SB разнополярны (рисунок 5.20), а АЧХ частотных детекторов имеют разный знак наклона, то на выходах каналов сигналы SR и SB будут иметь одинаковую полярность. Если коммутатор сфазирован правильно, то полярность отрицательная, если неправильно – положительная. Включенный в среднюю точку матрицы интегрирующий конденсатор образует одиночный импульс отрицательной или положительной полярности. Этот импульс или подтвердит правильность работы генератора коммутирующих импульсов, или скорректирует его, сменив фазу двух меандров, подаваемых на коммутатор. Ключом K на устройство цветовой синхронизации пропускаются только импульсы сигнала цветовой синхронизации. Для этого он открывается импульсами частоты полей f2n с 7-й по 15-ю и с 320-й по 328-ю строки. Рассмотренная схема достаточно помехоустойчива, поскольку импульсные помехи на выходе матрицы вычитаются, а флуктуационные помехи ослабляются путём интегрирования.

Рис. 5.22. Функциональная схема устройства
цветовой синхронизации
Устройство цветовой синхронизации служит также для того, чтобы выключать канал цветности, если передаётся сигнал чёрно-белого или цветного телевидения, но другой системы. В схеме на рисунке выключение производится подачей запирающего напряжения на амплитудные ограничители. Выключение канала цветности в указанных обстоятельствах является необходимым, поскольку в противном случае на экране наблюдаются помехи импульсного и шумового характера.
Рассмотренный метод цветовой синхронизации, называемой кадровой, не является современным. Рекомендациями МККР предусмотрено исключение сигналов кадровой цветовой синхронизации SR и SB с тем, чтобы освободить соответствующие интервалы кадрового гасящего импульса для передачи дополнительной информации, например, телетекста. Для цветовой синхронизации в этом случае могут быть использованы защитные цветовые вспышки (рисунок 5.19). Последние в строках
отличаются по частоте. Путём использования частотного дискриминатора, настроенного на ту или иную частоту, получают с частотой строк импульсы, несущие информацию о том, какая строка передаётся – красная или синяя. Этот метод получил название строчной цветовой синхронизации.
Канал яркости содержит в себе широкополосную линию задержки на 0,4…0,7 мкс для выравнивания времени распространения сигналов в широкополосном яркостном канале и узкополосном канале цветности. Затем сигнал проходит через устройство режекции, подавляющее колебания цветовой поднесущей. Режекторный фильтр настраивается на подавление двух характерных частот: 4,02 и 4,69 МГц. Эти частоты соответствуют передаче жёлтого и голубого цветов, для которых из-за ВЧ-предкоррекции амплитуды поднесущих достигают максимального значения. Для того, чтобы режекция не ухудшила чёткость изображения при передаче чёрно-белых программ, она отключается с помощью управляющего напряжения с устройства цветовой синхронизации.
Эксплуатационные характеристики системы цветного
телевидения SECAM
Вследствие применения частотной модуляции и последовательной передачи цветоразностных сигналов
система SECAM имеет пониженную чувствительность:
- к фазовым искажениям сигнала цветности на поднесущей (в несколько раз меньшую, чем в NTSC), кроме быстрого большого изменения фазы этого сигнала при переходе от одного слабо насыщенного цвета к другому цвету при большом различии их яркостей;
- к искажениям отношения амплитуды сигнала цветности на поднесущей к размаху сигнала яркости;
- к дифференциально-амплитудным искажениям (неравномерности АЧХ тракта);
- к непостоянству скорости магнитной ленты в видеомагнитофоне относительно записывающих и считывающих головок;
- к эхо-сигналам.
Наряду с этими весьма важными достоинствами система SECAM имеет следующие особенности:
- при отношении размаха сигнала яркости к эффективному значению шума, равном 18 дБ и менее, дискриминатор захватывается шумом, и качество цветного изображения резко ухудшается (пороговое свойство частотной модуляции);
- худшая совместимость по сравнению с системой NTSC. В чёрно-белых телевизорах, где отсутствует режекция поднесущей, её рисунок, несмотря на значительно меньший размах сигнала цветности, более заметен, особенно на вертикальных границах между цветами.
- заметное мерцание изображения на горизонтальных границах между различными цветами вследствие потери цветовой чёткости по вертикали. Информация о цвете усредняется, и две соседних строки на переходе воспроизводятся в третьем, искажённом цвете.
- пониженная цветовая чёткость по горизонтали (т.е. на вертикальных границах между различными цветами), что приводит к размытию вертикальных границ между различными цветами и повышенной заметности переходных процессов на этих границах;
- появление искажений изображения в приёмнике при неточной компенсации в нём НЧ и ВЧ-предыскажений, вводимых в кодирующем устройстве на телецентре;
- некоторая сложность осуществления в приёмнике регулировок цветового тона и насыщенности цвета, необходимых при изменении условий освещения помещения;
- необходимость высокой стабильности АЧХ дискриминаторов в канале сигнала цветности приёмника, так как нарушение баланса дискриминатора приводит к изменению цветности изображения при связи дискриминатора с электродами кинескопа по постоянному току;
- некоторое уменьшение зоны обслуживания радиопередатчика в сравнении с передачей программы чёрно-белого телевидения, так как белое в сигнале цветного изображения должно соответствовать уровню 15% в модулированном радиосигнале вместо 12,5%, как это принято в ГОСТ 7845-72 на чёрно-белое телевидение.
Несмотря на эти особенности, система SECAM обеспечивает высокое качество изображения в приёмнике при благоприятных условиях приёма (т.е. если отношение сигнал/шум гораздо больше 18 дБ), не уступающее системам NTSC и PAL. Указанные достоинства системы SECAM особенно важны при передаче сигналов цветного телевидения по линиям связи большой протяжённости.