
Рисунок 13.6 – Структурная схема RC -автогенератора с мостом Вина.
Низкочастотный усилитель имеет постоянный коэффициент усиления и постоянный фазовый сдвиг 3600 между входным и выходным напряжениями в пределах полосы пропускания. ФЧХ цепи ПОС такова, что для одной частоты
создаются преимущественные условия (нулевой фазовый сдвиг между входным и выходным напряжениями). Т.к. коэффициент передачи двухкаскадного усилителя существенно больше отношения
, то выходное напряжение достигнет значения
раньше амплитудного значения, что приведет к значительным искажениям формы колебаний.

Рисунок 13.7 – Искажения формы колебаний.
Линейная отрицательная обратная связь (ООС) приводит к уменьшению коэффициента усиления, а следовательно к уменьшению искажений формы колебаний. Для поддержания
и минимальных искажений формы используют автоматическое регулирование коэффициента усиления в зависимости от амплитуды генерируемых колебаний. Для этого используется цепь нелинейной ООС, когда одним из ее элементов является нелинейное сопротивление. Изменение его сопротивления приводит к изменению глубины ООС, а следовательно коэффициента усиления усилителя.
Мост Вина представляет собой четырехплечный мост переменного тока, два плеча которого состоят из частотно зависимых элементов, а два других – чисто активные.

Рисунок 13.8 – Мост Вина:
R1,R2,C1,C2 – частотозависимая ветвь моста (ветвь ПОС);
R3,R4 – активная ветвь моста (ветвь ООС).
Существует единственная частота
,
на которой фазовый сдвиг между подводимым напряжением
и напряжением на выходе
равен нулю.
Коэффициенты передачи ветви ПОС моста Вина на этой частоте равен
. Следовательно, минимальный коэффициент усиления для обеспечения выполнения БА
. Реальный двухкаскадный усилитель позволяет получить усиление по напряжению намного превышающий
, поэтому такой усилитель охватывается глубокой ООС.

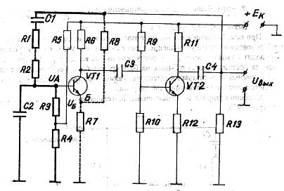
Рисунок 13.9 – RC -генератор с мостом Вина:
VT1, VT2 – усилительные элементы двухкаскадного усилителя;
R1, R2, R3, R4, C2, C2 – частотнозависимая ветвь моста (ветвь ПОС);
R3, R4, R5 – элементы, обеспечивающие режим по постоянному току каскада на VT1;
R6 – нагрузка коллекторной цепи VT1;
R7, R8 – активная ветвь моста (ветвь ООС);
C3, C4 – разделительные конденсаторы, т.е. не пропускают постоянный ток на вход второго каскада и в нагрузку соответственно;
R9,R10 – элементы, обеспечивающие режим по постоянному току каскада на VT2;
R11 – нагрузка коллекторной цепи VT2;
R12 – температурная стабилизация рабочей точки. На R12 образуется сигнал ООС, которым дополнительно охватывается каскад на VT2;
R13 – нагрузка генератора.
БФ выполняется за счет того, что двухкаскадный усилитель на транзисторах, включенных по схеме с ОЭ, имеет полный фазовый сдвиг между сигналами
и
3600. Мост Вина по частоте генерации не вносит фазового сдвига.
БА выполняется следующим образом. Двухкаскадный усилитель, имеющий коэффициент усиления
, охватывают обратной отрицательной связью (в цепях эмиттеров транзисторов отсутствуют конденсаторы и введена активная ветвь моста Вина), которая снижает коэффициент усиления.
При подключении к источнику питания уменьшается потенциал коллектора транзисторов. По частотозависимой ветви моста на вход усилителя (базу VT1) поступает это уменьшение (сигнал ПОС), уменьшая потенциал базы и увеличивая потенциал коллектора. Теперь рост потенциала коллектора поступает по цепи ПОС на вход усилителя и приводит к уменьшению потенциала коллектора и т.д. Таким образом, на выходе будут наблюдаться колебания электрической энергии.
RC-генераторы применяют при радиотехнических измерениях в диапазоне звуковых, низких и очень низких частот.






