
Рисунок 14.1 – Принципиальная схема диодного амплитудного модулятора.
Напряжение модулирующего сигнала
перемещает рабочую точку по квадратичному участку ВАХ диода путем изменения напряжения смещения
на аноде относительно катода. Зависимость тока через диод от времени
имеет сложный характер. Приращения тока различны в положительный и отрицательный полупериоды как несущего, так и модулирующего колебаний. Ток первой гармоники
оказывается промодулированным по амплитуде сигналом
. Напряжение
на выходе колебательного контура, настроенного на частоту несущей
и имеющего полосу пропускания, равную ширине спектра АМ сигнала
, пропорционально току этой гармоники. Остальные гармоники тока отфильтровываются, т.к. сопротивление контура на их частотах практически равно нулю.

Рисунок 14.2 – Временные диаграммы работы диодного амплитудного
модулятора.
Такой же вывод можно получить, воспользовавшись спектральным методом анализа нелинейной цепи. Пусть ВАХ диода представлена полиномом второй степени:
|
|
|
,
где
- коэффициенты аппроксимации;
- бигармоническое воздействие;
- напряжение несущего колебания;
- напряжение модулирующего сигнала.
Вид полинома после подстановки:
.
Подчеркнуты составляющие тока с частотами, сосредоточенными вблизи частоты несущей
. В сумме они образуют ток первой гармоники
, промодулированный по амплитуде модулирующим сигналом:

Напряжение на контуре:
,
где
- входное резонансное сопротивление контура;
- амплитуда напряжения на контуре при отсутствии модуляции;
- коэффициент амплитудной модуляции.

Рисунок 14.3 – Спектр тока через диод.
Т.к. диоды имеют незначительный участок с квадратичной характеристикой, то уровень АМ сигнала на выходе такого модулятора мал.
Для повышения напряжения выходного АМ сигнала диодный модулятор используют в режиме больших значений модулирующего и несущего колебаний. Еще больший его уровень будет, если модулятор выполнить на активном НЭ.

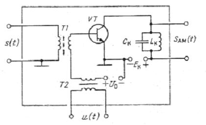
Рисунок 14.4 – Принципиальная схема амплитудного модулятора на
транзисторе.
Напряжение смещения
обеспечивает режим работы транзистора с отсечкой. За счет того, что рабочая точка перемещается модулирующим сигналом
, происходит непрерывное изменение амплитуды и угла отсечки коллекторного тока
. Вследствие этого амплитуда первой гармоники коллекторного тока
меняется во времени пропорционально модулирующему сигналу
. Напряжение на колебательном контуре будет представлять собой АМ сигнал.
Такой же вывод можно получить, воспользовавшись графическим методом анализа нелинейной цепи. Соответствующие построения приведены на рисунке 14.5.
|
|
|

Рисунок 14.5 – Временные диаграммы работы амплитудного модулятора
на транзисторе.
Амплитуда импульсов коллекторного тока:
,
где
- значение амплитуды импульсов тока при отсутствии модулирующего сигнала;
- размерный коэффициент пропорциональности.
Амплитуда первой гармоники коллекторного тока:
.
Амплитуда напряжения на контуре:
,
где
- амплитуда напряжения, обусловленного первой гармоникой коллекторного тока, при отсутствии модуляции;
- коэффициент амплитудной модуляции.
Напряжение на выходе модулятора:
.
При такой модуляции неизбежны искажения: форма огибающей АМ сигнала отличается от формы модулирующего сигнала, т.к. с изменением последнего происходит изменение угла отсечки
и соответственно коэффициента Берга
.






