


Маслоотделители предназначены для отделения масла от холодильного агента. Они бывают паровые и жидкостные.
Паровые маслоотделители устанавливаются после компрессора перед конденсатором. По конструкции и принципу действия паровые маслоотделители делятся:
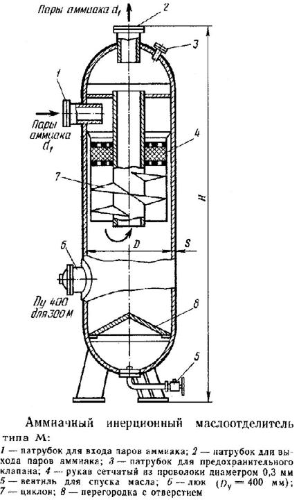
1. инерционные,
2. циклонные,
3. барботажные,
4. сетчатые,
5. комбенированные.
В инерционном маслоотделителе капли масла отделяются за счёт резкого изменения скорости и направления потока. Скорость потока в них должна быть не более 0,5 м/с.
Преимуществом таких маслоотделителей является простота конструкции и низкая стоимость.
Недостатком является малая эффективность маслоотделения (40 - 60%) и невозможность отделения парообразного масла.
В циклонных маслоотделителях установлена спиральная пластина. Парообразный поток поступает на спиральную пластину и закручивается, при этом возникают центробежные силы инерции. Под действием центробежных сил капли масла отбрасываются к внутренней поверхности маслоотделителя, а затем стекают вниз.
|
|
|
Преимуществом является более высокая эффективность маслоотделения (60 - 80%).
Недостатки циклонных маслоотделителей:
1. более высокая стоимость,
2. сложность конструкции,
3. невозможность отделения парообразного масла.
В барботажных маслоотделителях постоянно поддерживается уровень жидкого холодильного агента. Жидкий холодильный агент подаётся из конденсатора через поплавковый регулятор уровня. Горячий пар холодильного агента поступает через заглубленный трубопровод под слой жидкого холодильного агента. Так как температура конденсации пара масла выше температуры конденсации холодильного агента, то при барботировании парообразное масло охлаждается и конденсируется.
Преимуществом является высокая эффективность маслоотделения (80-95%).
Недостатки:
1. трудность поддержания уровня жидкого холодильного агента,
2. необходимость установки маслоотделителя ниже конденсатора на 1,5 – 3 метра.
Комбинированные маслоотделители представляют комбинацию инерционного, сетчатого, циклонного маслоотделителей. Эффективность таких маслоотделителей достигает 99,5%. Недостатком является сложность конструкции, высокая стоимость и гидравлические потери.






