
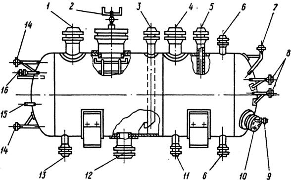
1 – патрубок выхода пара к компрессору; 2 — люк-лаз; 3 — патрубок входа жидкости от регулирующего вентиля; 4 — патрубок входа парожидкостной смеси от камерных приборов; 5 — патрубок входа пара от компрессоров (для компаундных схем); 6 — патрубки для присоединения уравнительной колонки; 7 — штуцер для присоединения предохранительного клапана; 8 — штуцеры для присоединения сигнализаторов уровня; 9 — штуцер для выпуска воздуха и подачи горячего пара; 10 — вентиляционный люк; 11 — патрубок для дренажа масла: 12 — патрубок для выхода жидкости к насосу; 13 — патрубок дренажа жидкости; 14 — штуцеры для присоединения указателя уровня; 15 — термометровая гильза; 16 — штуцер для присоединения манометра.
Предназначен для сбора жидкого холодильного агента из всех аппаратов и сосудов заполненных при работе жидким холодильным агентом. А также применяется на случай оттайки, ремонта, аварии, технической диагностики, испытания и т.д. По конструкции бывают горизонтальные и вертикальные. Преимущества и недостатки аналогичны как и у линейных ресиверов.






