Агрегирование (объединение) нескольких физических линий связи в один логический канал между двумя узлами преследует две цели:
- -увеличение пропускной способности участка сети;
- -повышение надежности участка сети.
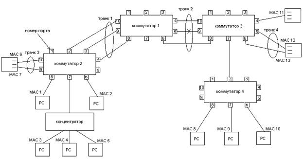
На рис. 6.11 коммутаторы 1 и 3 соединены тремя параллельными линиями связи, что повышает производительность этого участка в три раза. Такое решение может быть более эффективным и экономически выгодным по сравнению с заменой линии на более скоростную (например 3 линии по 100 мб\с на 1 линию 1000мб\с) в том случае, если такая замена потребует замены самого коммутатора, а более высокая скорость в обозримом будущем не понадобиться.
При отказе одной из составляющих агрегированного логического канала, который часто называю транком, трафик распределяется между оставшимся линиями (рис. 6.11). На рисунке. 6.11 примером такой ситуации является транк 2, в котором один из физических каналов (центральный) отказал, так что все кадры передаются по оставшимся двум каналам. Этот пример демонстрирует повышение надежностипри агрегировании.
Механизм агрегирования линий связи стандартизирован в IEEE 802.3ad

Рис. 6. 11. Агрегирование линий связи
Агрегирование линий связи используется как для связей между портами коммутаторов локальной сети, так и для связей компьютером и коммутатором. Чаще всего этот вариант выбирают для высокоскоростных и ответственных серверов. В этом случае все сетевые адаптеры, входящие в транк, принадлежат одному компьютеру и разделяют один и тот же сетевой адрес. Поэтому для протокола IP или другого протокола сетевого уровня порты транка неразличимы, что соответствует концепции единого логического канала, лежащей в основе агрегирования.
Между двумя соседними коммутаторами агрегированный канал связи должен быть сконфигурирован в качестве транка с обоих сторон, т.е. на каждом коммутаторе. При этом все порты коммутатора, принадлежащие транку, считаются одним логическим портом, который фигурируетв таблице коммутации данного коммутатора. Например, на рис. 6.11 для коммутатора 2 таблица коммутации может выглядеть так:
| MAC адрес | № порта |
| MAC 1 | |
| MAC 2 | |
| MAC 3 | |
| MAC 4 | |
| MAC 5 | |
| MAC 6 | |
| MAC 7 | |
| MAC 8 | AL-11 |
| MAC 9 | AL-11 |
| MAC 10 | AL-11 |
| …………… | …………. |
AL-11-логический порт объединяет физически порты 2,3,4
После конфигурирования коммутаторов не будет возникать размножение и зацикливание кадров с неизвестными, широковещательными и групповыми адресами в линиях транка, которые иначе воспринимались бы как петля. Теперь любой кадр, который нужно послать в агрегированный порт (с известным адресом или широковещательный) будет послан только в один из физических портов транка.
Если администратор сети хочет использовать все ее топологические возможности, то технику агрегирования линий связи ему необходимо применять одновременно с алгоритмом покрывающего дерева. Для STA транк должен выглядеть как одна линия связи. Тогда топология сети кроме транков может содержать и одинарные резервные линии связи.






