Цифроаналоговые преобразователи (ЦАП) предназначены для преобразования цифровых сигналов в аналоговые. Такое преобразование необходимо, например, при восстановлении аналогового сигнала, предварительно преобразованного в цифровой для передачи на большие расстояния или хранения (таким сигналов, в частности, может быть звук).
К основным параметрам ЦАП относят разрешающую способность, время установления, погрешность нелинейности и др. Разрешающая способность – величина, обратная максимальному числу шагов квантования выходного аналогового сигнала. Время установления tуст – интервал времени от подачи кода на вход до момента, когда выходной сигнал войдет в заданные пределы, определяемые погрешностью. Погрешность нелинейности – максимальное отклонение графика зависимости выходного напряжения от напряжения, задаваемого цифровым сигналом, по отношению к идеальной прямой во всем диапазоне преобразования.
ЦАП является «связующим звеном» между аналоговой и цифровой электроникой. Существуют различные принципы построения АЦП.
|
|
|
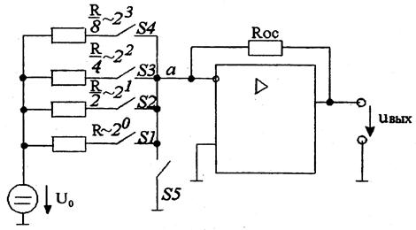
На рис. 18.5 приведена схема ЦАП с суммированием весовых токов. Ключ S5 замкнут только тогда, когда разомкнуты все ключи S1…S4 (при этом uвых =0). U0 – опорное напряжение. Каждый резистор во входной цепи соответствует определенному разряду двоичного числа. По существу этот ЦАП – инвертирующий усилитель на основе операционного усилителя. Если замкнут один ключ S1, то
, что соответствует единице в первом и нулям в остальных разрядах. Модуль выходного напряжения пропорционален числу, двоичный код которого определяется состоянием ключей S1…S4. Токи ключей S1…S4 суммируются в точке «а» причем токи различных ключей различны (имеют разный «вес»). Это и определяет название схемы.

Рис. 18.5. ЦАП с суммированием токов
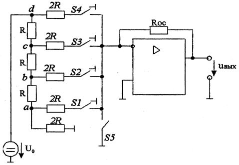
На рис. 18.6 приведена схема ЦАП на основе резистивной матрице R – 2R (матрицы постоянного сопротивления.

Рис. 18.6. ЦАП на основе резистивной матрицы
В схеме использованы так называемые перекидные ключи S1…S4, каждый из которых в одном из состояний подключен к общей точке, поэтому напряжения на ключах невелики. Ключ S5 замкнут только тогда, когда все ключи S1…S4 подключены к общей точке. Тогда напряжение относительно общей точки в каждой следующей из точек «а»…«d» в 2 раза больше, чем в предыдущей. К примеру, напряжение в точке «b» в 2 раза больше, чем в точке «а» (напряжение Ua, Ub, Uc и Ud в указанных точках определяются следующим образом: Ud=U0; Uc=U0/2; Ud=U0/4; Ua=U0/8). Допустим, что состояние указанных ключей изменилось. Тогда напряжения в точках «а»…«d» не изменится, так как напряжение между входами операционного усилителя практически нулевое.
|
|
|
На рис. 18.7 приведена схема ЦАП для преобразования двоично-десятичных чисел.

Рис. 18.7. ЦАП для преобразования двоично-десятичных чисел
Для представления каждого разряда десятичного числа используется отдельная матрица R - 2R (обозначены прямоугольниками). Z0…Z3 обозначают числа, определенные состоянием ключей каждой матрицы R – 2R. Принцип действия становится понятным, если учесть, что сопротивление каждой матрицы равно R. На выходе ЦАП получим
.
Наиболее распространенными являются ЦАП серий микросхем 572, 594, 1108, 1118 и др. В табл. 18.1 приведены параметры некоторых из них.
Таблица 18.1







