Аналого-цифровые преобразователи (АЦП) – это устройства, предназначенные для преобразования аналоговых сигналов в цифровые. Для такого преобразования необходимо осуществить квантование аналогового сигнала, т.е. мгновенные значения аналогового сигнала ограничить определенными уровнями, называемыми уровнями квантования. Характеристика идеального квантования имеет вид, приведенный на рис. 18.8.

Рис. 18.8. Квантование аналогового сигнала
Квантование представляет собой округление аналоговой величины до ближайшего уровня квантования, т.е. максимальная погрешность квантования равна ±0,5h (h – шаг квантования).
К основным характеристикам АЦП относят число разрядов, время преобразования, нелинейность и др. Число разрядов – количество разрядов кода, связанного с аналоговой величиной, которое может вырабатывать АЦП. Разрешающая способность – величина, обратная максимальному числу кодовых комбинаций на выходе АЦП. Так, 10-разрядный АЦП имеет разрешающую способность (210=1024)-1, т.е. при шкале АЦП, соответствующей 10 В, абсолютное значение шага квантования не превышает 10 мВ. Время преобразования tпр – интервал времени от момента заданного изменения сигнала на входе АЦП до появления на его выходе соответствующего устойчивого кода.
|
|
|
Характерными методами преобразования являются следующие: параллельного преобразования аналоговой величины и последовательного преобразования.
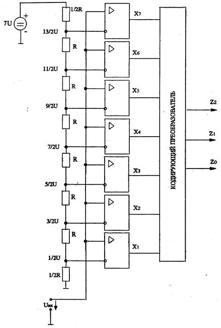
Рассмотрим АЦП с параллельным преобразованием входного аналогового сигнала (рис. 18.9). По параллельному методу входное напряжение одновременно сравнивают с n опорными напряжениями и определяют, между какими двумя опорными напряжениями оно лежит. При этом результат получают быстро, но схема оказывается достаточно сложной. Например, если Uвх>3/2U, но меньше 5/2U, то на выходе двух нижних ОУ появляется напряжение + Епит, что приводит к появлению на выходах кодирующего преобразователя (КП) кода 010.
Рассмотрим конкретный вариант АЦП с последовательным преобразованием входного сигнала (последовательного счета), который называют АЦП со следящей связью (рис. 18.10). В АЦП рассматриваемого типа используется ЦАП и реверсивный счетчик, сигнал которого обеспечивает изменение напряжения на выходе ЦАП.

Рис. 18.9. АЦП с параллельным преобразованием
Настройка схемы такова, что обеспечивается примерное равенство напряжений на входе Uвх и на выходе ЦАП – U. Если входное напряжение Uвх больше напряжения U на выходе ЦАП, то счетчик переводится в режим прямого отсчета и код на его выходе увеличивается, обеспечивая увеличение напряжения на выходе ЦАП. В момент равенства Uвх и U счет прекращается и с выхода реверсивного счетчика снимается код, соответствующий входному напряжению.
|
|
|

Рис. 18.10. АЦП с последовательным преобразование входного сигнала
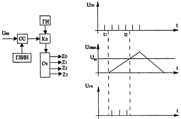
Метод последовательного преобразования реализуется и в АЦП время-импульсного преобразования (АЦП с генератором линейно изменяющегося напряжения – ГЛИН) (рис. 18.11).

Рис. 18.11. Последовательное АЦП с время-импульсным преобразованием
Принцип действия рассматриваемого АЦП основан на подсчете числа импульсов в отрезке времени, в течение которого линейно изменяющееся напряжение (ЛИН), увеличиваясь от нулевого значения, достигает уровня входного напряжения Uвх. Используются следующие обозначения: СС – схема сравнения; ГИ – генератор импульсов; Кл – электронный ключ; Сч – счетчик импульсов. Отмеченный на временной диаграмме момент времени t1 соответствует началу измерения входного напряжения, а момент времени t2 – равенству входного напряжения и текущего напряжения ГЛИН. Погрешность измерения определяется шагом квантования времени. Ключ Кл подключает к счетчику генератор импульсов от момента начала измерения до момента равенства Uвх и UГЛИН. Через UСч обозначено напряжение на входе счетчика. Код на выходе счетчика пропорционален входному напряжению. Одним из недостатков этой схемы является невысокое быстродействие.
Наиболее распространенными являются АЦП серий микросхем 572, 1107, 1138 и др. (табл. 18.2).
Таблица 18.2

Из таблицы видно, что наилучшим быстродействием обладает АЦП параллельного преобразования, а наихудшими – АЦП последовательного преобразования.






