Особенности эксплуатации напорных рукавов
Напорные рукава укладывают в отсеки кузова пожарного автомобиля в соответствии с инструкцией по эксплуатации автомобиля. Во избежание интенсивного износа напорных рукавов необходимо строго выполнять требования по их размещению и креплению в отсеках пожарного автомобиля.
Напорные рукава, расположенные на катушках, закрывают специальным чехлом из плотной водонепроницаемой ткани.
Запрещается устанавливать на пожарную машину неисправные и грязные напорные рукава.
При прокладке рукавных линий необходимо следить, чтобы напорные рукава не имели резких перегибов. Стараться не допускать их прокладку по острым или горящим (тлеющим) предметам, поверхностям, залитым горючесмазочными материалами или химикатами. В лестничных клетках следует прокладывать рукавные линии между маршами, не загромождая при этом проходы и лестницы. Прокладка рукавных линий по улице, дороге, двору, должна производиться по возможности на непроезжей части, а в местах движения автотранспорта напорные рукава должны быть защищены рукавными мостиками.
|
|
|
При прокладке рукавных линий через заборы, окна и другие препятствия, где возможны резкие перегибы напорных рукавов, следует использовать рукавное колено (седло) (рис. 7).

Рис. 7. Использование рукавного колена
Для закрепления рукавной линии, прокладываемой в вертикальном направлении по стене, внутри здания или по пожарной лестнице, необходимо применять рукавные задержки из расчета не менее одной задержки на напорный рукав (рис. 8).

Рис. 8. Рукавные задержки
Запрещается сбрасывать на рукавные линии части разбираемых конструкций, а также сбрасывать напорные рукава с крыш и верхних этажей зданий. Рукава должны переносить пожарные, а спускать с высоты их следует при помощи веревок или других приспособлений.
Во избежание гидравлических ударов и разрывов напорных рукавов подачу воды в рукавную линию осуществляют путем постепенного открытия клапанов напорных патрубков насоса и разветвлений. Запрещается резко повышать давление в насосе, а также резко перекрывать пожарный ствол.
При возникновении течи в напорном рукаве она должна быть немедленно устранена путем установки рукавных зажимов. В зависимости от размера повреждения напорного рукава могут использоваться следующие рукавные зажимы:
а) ленточный зажим (рис. 9) для ликвидации течи из отверстий диаметром до 2 см или разрывов длиной до 3 см;

Рис. 9. Ленточный зажим
б) корсетный зажим (рис. 10) для ликвидации течи из продольных разрывов длиной до 10 см.

Рис. 10. Корсетный зажим
В качестве зажима может быть использован также отрезок напорного рукава того же диаметра длиной 25¸30 см, который до навязки пожарных соединительных головок надевается на напорный рукав. При появлении течи во время работы на пожаре давление в напорном рукаве сбрасывается и отрезок (зажим) перемещается на место повреждения.
|
|
|
Рукавные колена, задержки, зажимы, мостики и другие приспособления относятся к пожарно-технической продукции и должны изготавливаться по технической документации, утвержденной в установленном порядке.
При использовании напорных рукавов на пожарах в книге службы указывают их диаметр и номера, в случае выхода напорных рукавов из строя или получения повреждения - дополнительно характер повреждения. Дата и характер повреждения в четырехдневный срок заносятся ответственным за эксплуатацию рукавов в формуляр напорного рукава.
После окончания тушения пожара при сборке напорных рукавов зажимы снимают, а место течи отмечают.
При эксплуатации напорных рукавов в зимнее время необходимо:
забирать воду для подачи в напорные рукава из открытых водоисточников на больших глубинах, где ее температура несколько выше, чем у поверхности;
подачу воды производить по одной магистральной линии, при этом насос должен работать на повышенных оборотах с не полностью открытым напорным патрубком, что позволяет несколько повысить температуру воды в напорных рукавах от трения ее о рабочее колесо и стенки корпуса насоса;
во избежание замерзания воды в напорном рукаве необходимо убедиться в устойчивой работе центробежного насоса, сливая воду через второй напорный патрубок, к которому не присоединена напорная линия. Через 15-20 с нужно увеличить число оборотов вала насоса и плавно подавать воду в магистральную линию, одновременно закрывая запорную арматуру (клапан, задвижка) второго патрубка;
во избежание замерзания воды в рукавных линиях при температуре минус 20 °С и ниже к разветвлению присоединяется максимум рабочих линий, увеличивается скорость подачи воды, при этом не прекращается полностью подача воды из пожарных стволов, а когда по условиям работы бывает нужно на непродолжительное время перекрыть пожарные стволы, то часть воды сбрасывается через свободный патрубок разветвления;
после окончания тушения пожара необходимо воду немедленно слить из напорных рукавов. Вмерзшие в лед напорные рукава следует отогреть паром, горячим воздухом или применять компресс из кошмы, смачиваемой горячей водой.
Перед складированием напорных рукавов места сгибов необходимо оттаять. В случае сплошного промерзания напорных рукавов сборку их следует проводить без сгибов и переломов, при этом перевозить их надо на грузовых автомобилях с прицепами или другим способом, не допуская механических повреждений, укладывая напорные рукава во всю длину.
При тушении пожаров в условиях низких температур необходимо использовать рекомендации заводов-изготовителей напорных рукавов.
По истечении срока службы, указанного в формуляре, напорные рукава должны быть заменены новыми. В случае, если после окончания срока службы напорные рукава сохранили свои качества и не подверглись старению (определяется при внешнем осмотре), их допускают к эксплуатации только после испытания на герметичность под давлением.
Особенности технического обслуживания
Отмачивание (оттаивание)
Доставленные на рукавную базу (пост) или в часть использованные на пожаре или учении напорные рукава должны полностью оттаять в теплом помещении. Для этого может быть использована ванна с водой (рис. 5). Чтобы ускорить процесс оттаивания, ванну закрывают сверху крышками и в нее подают горячую воду. Эта же ванна используется для отмачивания загрязненных напорных рукавов.
|
|
|
Мойка
После оттаивания или отмачивания напорные рукава подают на мойку. Загрязненные напорные рукава очищают от грязи при помощи специальных рукавомоечных машин, а при их отсутствии - щетками с использованием воды.
Внешний осмотр
Внешний осмотр напорных рукавов, находящихся в эксплуатации, проводят после каждого применения, но не реже одного раза в месяц, а при хранении на складе и рукавных базах - не реже одного раза в год.
Рукава подвергают осмотру на наличие маркировки, возможных внешних повреждений или дефектов.
Наружную поверхность напорного рукава, включая пожарные соединительные головки и места их соединения с напорным рукавом, проверяют внешним осмотром на изменение цвета, наличие пятен, порезы, проколы, смятие, трещины и т.д.
По результатам осмотра принимают решение об их испытании или ремонте.
Испытания
Испытания напорных рукавов, находящихся в эксплуатации, проводятся после каждого применения, но не реже одного раза в 6 месяцев. После ремонта или по истечении гарантийного срока хранения, указанного в эксплуатационной документации, их испытывают на герметичность под давлением.
Напорные рукава из натуральных волокон (льняные и льноджутовые) перед испытаниями заполняют водой под давлением от 0,2 (2) до 0,4 (4) МПа (кг/см2) и выдерживают в течение 5 мин. Данные напорные рукава под испытательным давлением после намокания льняных нитей каркаса не должны иметь свищей, кроме пылевидных.
Напорные рукава допускается испытывать в виде линии до пяти штук, одного условного прохода.
При гидравлическом испытании напорный рукав или линия из напорных рукавов присоединяется к насосу с манометром. К другому концу напорного рукава или линии присоединяется перекрывной пожарный ствол или трехходовое разветвление. В соединениях между испытываемыми рукавами и применяемой арматурой должна быть обеспечена герметичность. После удаления воздуха и заполнения линии водой постепенно поднимают давление воды в напорном рукаве до испытательного. Под этим давлением держат линию в течение времени, необходимого для осмотра напорного рукава (линии из напорных рукавов) по всей длине и соединений в месте навязки их на пожарные соединительные головки. Появление свищей и капель воды не допускается (исключение составляют перколированные напорные рукава).
|
|
|
Результаты испытания заносятся в формуляр напорного рукава.
Сушка
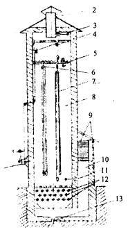
Сушить напорные рукава можно в башенных, камерных и других сушилках. Башенная сушилка (рис. 11) должна иметь калорифер или другие приборы для подогрева воздуха.

Рис. 11. Схема башенной сушилки:
1 - лебедка; 2 - короб для отвода воздуха; 3 - шибер; 4 - трос; 5 - верхняя решетка; 6 - ролик для подвески; 7 - напорный рукав; 8 - сушильная камера; 9 - жалюзи; 10 - короб для подвода воздуха; 11 - шибер, 12 - калорифер; 13 – водосток.
Развешивать напорные рукава для сушки нужно равномерно по всему сечению шахты. Плотность заполнения должна быть от 10 до 15 напорных рукавов на 1 м2. Подъем их производится лебедкой.
В камерных сушилках напорные рукава сушат свернутыми в свободную скатку с зазорами 20¸25 мм между витками.
При отсутствии рукавных сушилок напорные рукава следует сушить:
вне помещения при температуре воздуха плюс 20 °С и выше при относительной влажности не выше 80 %. Их развешивают или раскладывают на решетчатом наклонном стеллаже. При этом они должны быть защищены от прямого действия солнечных лучей и осадков;
в помещении с достаточно нагретым воздухом или с теплоизлучающими приборами напорные рукава располагают так же, как и в сушилках или на решетчатых стеллажах, на расстоянии не менее 1 м от теплоизлучающих приборов. В обоих случаях продолжительность сушки не должна превышать 24 ч.
Сушить напорные рукава следует согласно инструкции по эксплуатации для каждого типа напорного рукава.
Запрещается сушить их непосредственно на отопительных батареях и котлах.
Не допускается подвешивать их для сушки на металлических неокрашенных предметах.
Скатка и перекатка
После сушки напорные рукава скатывают. Скатка может быть одинарной или двойной. Для скатывания может быть использовано специальное приспособление.
Во избежание преждевременного износа скатанных рукавов при длительном хранении может производиться их перекатка на другое ребро.
Периодичность перекатки напорных рукавов должна соответствовать эксплуатационной документации на конкретный напорный рукав.






