Воздушно-механическая пена предназначена для тушения пожаров жидких (класс пожара В) и твердых (класс пожара А) горючих веществ. Пена представляет собой ячеисто-пленочную дисперсную систему, состоящую из массы пузырьков газа или воздуха, разделенных тонкими пленками жидкости.
Получают воздушно-механическую пену механическим перемешиванием пенообразующего раствора с воздухом. Основным огнетушащим свойством пены является ее способность препятствовать поступлению в зону горения горючих паров и газов, в результате чего горение прекращается. Существенную роль играет также охлаждающее действие огнетушащих пен, которое в значительной степени присуще пенам низкой кратности, содержащим большое количество жидкости.
Важной характеристикой огнетушащей пены является ее
кратность – отношение объема пены к объему раствора пенообразователя, содержащегося в пене. Различают пены низкой (до 10),
средней (от 10 до 200) и высокой (свыше 200) кратности. Пенные стволы классифицируются в зависимости от кратности получаемой пены
(рис. 3.23).


| | | | | | |
| | | Для получения пены низкой кратности | |
| | | | Комбинированные для получения пены низкой и средней кратности | |
| | | | Для получения пены средней кратности | |
| |
| |

Рис. 3.23. Классификация пенных пожарных стволов
Пенный ствол – устройство, устанавливаемое на конце напорной линии для формирования из водного раствора пенообразователя струй воздушно-механической пены различной кратности.
Для получения пены низкой кратности применяются ручные воздушно-пенные стволы СВП и СВПЭ. Они имеют одинаковое устройство, отличаются только размерами, а также эжектирующим устройством, предназначенным для подсасывания пенообразователя из емкости.
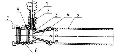
Ствол СВПЭ (рис. 3.24) состоит из корпуса 8, с одной стороны которого навернута цапковая соединительная головка 7 для присоединения ствола к рукавной напорной линии соответствующего диаметра, а с
другой – на винтах присоединена труба 5, изготовленная из алюминиевого сплава и предназначенная для формирования воздушно-механической пены и направления ее на очаг пожара. В корпусе ствола имеются три камеры: приемная 6, вакуумная 3 и выходная 4. На вакуумной камере расположен ниппель 2 диаметром 16 мм для присоединения шланга 1, имеющего длину 1,5 м, через который всасывается пенообразователь. При рабочем давлении воды 0,6 МПа создается разрежение в камере корпуса ствола не менее 600 мм рт. ст. (0,08 МПа).
Рис. 3.24. Ствол воздушно-пенный с эжектирующим устройством типа СВПЭ:
1 – шланг; 2 – ниппель; 3 – вакуумная камера; 4 – выходная камера;
5 – направляющая труба; 6 – приемная камера; 7 – соединительная головка;
8 – корпус
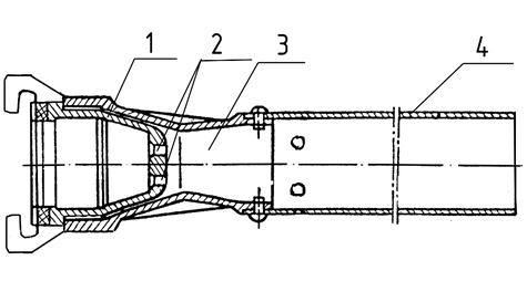
Принцип образования пены в стволе СВП (рис. 3.25) заключается в следующем. Пенообразующий раствор, проходя через отверстие 2 в корпусе ствола 1, создает в конусной камере 3 разрежение, благодаря которому воздух подсасывается через восемь отверстий, равномерно расположенных в направляющей трубе 4 ствола. Поступающий в трубу воздух интенсивно перемешивается с пенообразующим раствором и образует на выходе из ствола струю воздушно-механической пены.
Рис. 3.25. Ствол воздушно-пенный СВП:
1 – корпус ствола; 2 – отверстие; 3 – конусная камера; 4 – направляющая труба
Принцип образования пены в стволе СВПЭ отличается от СВП тем, что в приемную камеру поступает не пенообразующий раствор, а вода, которая, проходя по центральному отверстию, создает разрежение в вакуумной камере. Через ниппель в вакуумную камеру по шлангу из ранцевого бочка или другой емкости подсасывается пенообразователь. Технические характеристики пожарных стволов для получения пены низкой кратности представлены в табл. 3.10.
Таблица 3.10
| Показатель | Размерность | Тип ствола |
| СВП | СВПЭ-2 | СВПЭ-4 | СВПЭ-8 |
| Производительность по пене | м3/мин | | | | |
| Рабочее давление перед стволом | МПа | 0,4 – 0,6 | 0,6 | 0,6 | 0,6 |
| Расход воды | л/с | - | 4,0 | 7,9 | 16,0 |
| Расход 4 – 6 % раствора пенообразователя | л/с | 5 – 6 | - | - | - |
| Кратность пены на выходе из ствола | - | 7,0 (не менее) | 8,0 (не менее) |
| Дальность подачи пены | м | | | | |
| Соединительная головка | - | ГЦ-70 | ГЦ-50 | ГЦ-70 | ГЦ-80 |
| | | | | | | | |
Для получения из водного раствора пенообразователя воздушно-механической пены средней кратности и подачи ее в очаг пожара используются генераторы пены средней кратности.
В зависимости от производительности по пене выпускаются следующие типоразмеры генераторов: ГПС-200; ГПС-600; ГПС-2000. Их технические характеристики представлены в табл. 3.11.
Таблица 3.11
| Показатель | Размерность | Генератор пены средней кратности |
| ГПС-200 | ГПС-600 | ГПС-2000 |
| Производительность по пене | л/с | | | |
| Кратность пены | | 80 – 100 |
| Давление перед распылителем | МПа | 0,4 – 0,6 |
| Расход 4 – 6 % раствора пенообразователя | л/с | 1,6 – 2,0 | 5,0 – 6,0 | 16,0 – 20,0 |
| Дальность подачи пены | м | | | |
| Соединительная головка | - | ГМ-5 | ГМ-70 | ГМ-80 |
| | | | | | |
Генераторы пены ГПС-200 и ГПС-600 по конструкции идентичны и отличаются только геометрическими размерами распылителя и корпуса. Генератор представляет собой водоструйный эжекторный аппарат переносного типа и состоит из следующих основных частей (рис. 3.26): корпуса генератора 1 с направляющим устройством, пакета сеток 2, распылителя центробежного 3, насадка 4 и коллектора 5. К коллектору генератора при помощи трех стоек крепится корпус распылителя, в котором вмонтирован распылитель 3 и муфтовая головка ГМ-70. Пакет сеток 2 представляет собой кольцо, обтянутое по торцевым плоскостям металлической сеткой (размер ячейки 0,8 мм). Распылитель вихревого типа 3 имеет шесть окон, расположенных под углом 12°, что вызывает закручивание потока рабочей жидкости и обеспечивает получение на выходе распыленной струи. Насадок 4 предназначен для формирования пенного потока после пакета сеток в компактную струю и увеличения дальности полета пены. Воздушно-механическая пена получается в результате смешения в генераторе в определенной пропорции трех компонентов: воды, пенообразователя и воздуха. Поток раствора пенообразователя под давлением подается в распылитель. В результате эжекции при входе распыленной струи в коллектор происходит подсос воздуха и перемешивание его с раствором. Смесь капель пенообразующего раствора и воздуха попадает на пакет сеток. На сетках
деформированные капли образуют систему растянутых пленок, которые, замыкаясь в ограниченных объемах, составляют сначала элементарную (отдельные пузырьки), а затем массовую пену. Энергией вновь поступающих капель и воздуха масса пены выталкивается из пеногенератора.
В качестве пенных пожарных стволов комбинированного типа рассмотрим установки комбинированного тушения пожаров (УКТП) «Пурга», которые могут быть ручного, стационарного и мобильного исполнения. Они предназначены для получения воздушно-механической пены низкой и средней кратности. Технические характеристики УКТП различного исполнения представлены в табл. 3.12. Кроме того, для этих стволов разработаны диаграмма радиуса действия и карта орошения (рис. 3.27), что позволяет более четко оценивать их тактические возможности при тушении пожаров.
Таблица 3.12
| Показатель | Размерность | Установка комбинированного тушения пожара (УКТП) типа | |
| «Пурга-5» | «Пурга-7» | «Пурга-10» | «Пурга-10.20.30» | «Пурга- 20.60.80» | «Пурга-30.60.90» | «Пурга-200–240» | |
| Производительность по раствору пенообразователя | л/с | 5–6 | | | | | | 200–240 |
| Производительность по пене средней кратности | л/с | | | | | | | |
| Дальность подачи струи пены средней кратности | м | | 25–30 | | 45–50 | | | 90–100 |
| Рабочее давление перед стволом | МПа | 0,8 | 0,8 | 0,8 | 0,8 | 0,8 | 0,9–1,2 | 1,0–1,4 |
| Кратность пены | – | | | 60–70 | 30–40 | | | |
| Расход пенообразователя | л/с | 0,36 | 0,4 | 0,8 | 1,8 | 4,8 | 5,0 | 12,0 |
| | | | | | | | | | | | | | | | | |