Применяются для уплотнения и улучшения строительных свойств просадочных макропористых и насыпных пылевато-глинистых грунтов на глубине до 20(м).
Суть метода: устраивается вертикальная скважина (полость) путем погружения металлической трубы (пробойника) d ≈40(см), которая затем засыпается местным грунтом с послойным уплотнением.

Рис.12.11. Схема устройства грунтовых свай способом сердечника:
а – образование скважины забивкой инвентарной сваи; б – извлечение инвентарной сваи; в – заполнение скважины грунтом с трамбованием; 1 – инвентарный башмак; 2 – сердечник; 3 – молот; 4 – трамбовка; 5 – уплотненный грунт заполнения

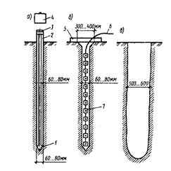
Рис.12.12. Схема образования скважин энергией взрыва:
а – устройство скважины – шпура; б – скважина – шпур, подготовленная к взрыву; в – готовая скважина; 1 – башмак; 2 – буровая штанга; 3 – наголовник; 4 – молот; 5 – деревянный брусок для подвески заряда; 6 – детонирующий шнур; 7 – заряд ВВ
Известковые сваи применяются для глубинного уплотнения водонасыщенных глинистых и заторфованных грунтов. Устраивают их также как грунтовые или песчаные сваи.
Пробуренную скважину dскв =320…500(мм) (или с обсадной инвентарной трубой) заполняют негашеной комовой известью трамбованием.
Стоимость известковых свай довольно низкая, поэтому они относятся к одним из самых дешевых способов улучшения свойств слабых водонасыщенных оснований.






