Управления и защиты
Низковольтные аппараты
Раздел 8
Изолирующие подставки и накладки


Лектор Гузеев Б.В.

БиСТАРТ-Р - реверсивные устройства плавного пуска, динамического торможения и защиты
Реверсивные устройства плавного пуска и динамического торможения БиСТАРТ-Р (разработка НПФ "Битек") - это многофункциональные реверсивные тиристорные пускатели с широким комплексом защитных функций и режимов управления. Устройства плавного пуска БиСТАРТ-Р позволяют кроме мягкого запуска двигателя осуществлять плавный реверс, а также высокоэффективное динамическое торможение электродвигателя. Диапазон мощностей 0.1 - 30 кВт.
Преимущества использования устройств плавного пуска для электродвигателей:
-отсутствие рывков и дерганий при пуске, плавный выход на номинальную скорость;
-значительное увеличение срока службы редукторов, муфт, шпонок, валов, подшипников;
-снижение пусковых токов электродвигателя со стандартных 600-800% до 250-400%;
|
|
|
-защита и диагностика электродвигателей при перегрузке, обрыве фаз, заклинивании и др. (не во всех моделях);
-функция плавного останова для насосов позволяет предотвратить гидроудар из-за быстрой остановки насоса;
-бесконтактная коммутация и высокий срок службы устройств;

Максимальная токовая защита, осуществляемая с помощью максимальных токовых реле, предотвращает рост тока в статорной обмотке электродвигателя. Происходит это путем отключения блок-контактами токовых реле цепи питания пускателя или контактора электродвигателя. Токовые реле включаются во все три фазы двигателя – это позволяет в сетях с заземленной нейтралью усилить защиту от однофазных замыканий на землю. Четвертое реле предназначено для защиты от перегрузки
Поскольку двигатель с короткозамкнутым ротором и имеет большой пусковой ток, но, однако, меньший по сравнению с ним ток застопоривания, затянувшегося пуска (и такое бывает) или кратковременной технологической перегрузки, то предусматривают дополнительное, чтвертое реле, срабатывающее при токах меньших пусковых или реверсивных. Но поскольку настраивается оно на токи меньшие пусковых или реверсивных, то необходимо настраивать ее временную задержку на срабатывание при пуске или реверсе.
Кнопка ПУСК» своим контактом п1.4. запускает двигатель. Сразу же срабатывает токовое реле К4, поскольку пусковой ток 160А запустившегося двигателя превышает уставку реле К4, выставленную на 120А и включает своим контактом к4.1 реле времени РВ1. Реле времени начинает отсчет пяти секунд до своего срабатывания. Остальные реле, настроенные на защиту от коротких замыканий на 280А находятся в отключенном состоянии, поскольку пусковой ток не превышает их уставку и участвуют своими нормально закрытыми контактами в цепочке подачи напряжения на пускатель П1 электродвигателя вместе с нормально замкнутым контактом РВ1.1 реле времени. Далее, если пуск проходит в нормальном режиме, то уже даже раньше выставленной выдержки реле времени РВ1, т.е. при уменьшении пускового тока до величины меньшей 120А (на рис. для примера взято время спадания 2с), реле к4 отключается. Соответственно, выключая своим контактом к4.1 реле времени РВ1, которое так и не успело сработать. Остальные 3с двигатель просто входит в номинальный режим пускового тока. А вот если бы в течение 5с ток двигателя не стал менее 120А сработало бы реле времени и своим контактом РВ1.1 обесточило катушку магнитного пускателя П1. То же самое отключение произойдет, если во время работы ток двигателя превысит 120А в течение 5с.
|
|
|
Магнитный пускатель ПМЛ-6000 совместно с трехфазным тепловым реле РТЛ-3125

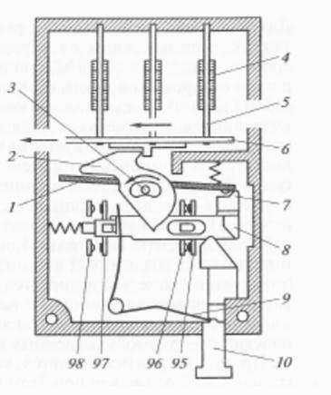
Конструкция механизма теплового реле типов РТЛ-1000 и РТЛ-2000

1 - рычаг, с компенсирующим биметаллическим элементом на его нижней стороне; 2 – фиксирующий кулачок; 3 – ось вращения рычага 1 и кулачка 2; 4 – дополнительный нагревательный элемент; 5 – биметаллический элемент; 6 – изоляционная рамка; 7 – защелка; 8 – подвижная система с контактами; 9 – пружина отключающая; 10 – кнопка взвода механизма в рабочее состояние; 95-98 – контакты






