Любой низковольтный выбираемый аппарат должен удовлетворять следующим основным требованиям [1]:
1. Надежно выполнять заданные функции. В пределах заданного ресурса аппарат должен безотказно, точно, стабильно и четко выполнять требуемые функции.
2. Обладать достаточной электродинамической и термической стойкостью. Аппарат должен выдерживать электродинамические и тепловые перегрузки при кратковременных допустимых критических режимах.
3. Аппарат должен иметь достаточный уровень электрической изоляции и выдерживать возможные перенапряжения в условиях ухудшения состояния изоляции по причине загрязнения и старения.
4. Выдерживать определенную коммутационную нагрузку, т.е. аппарат должен безотказно работать во всех нормальных, а также аварийных режимах в управляемых и защищаемых цепях. Контакты аппаратов должны быть способны отключать и включать токи всех режимов (нормальных и аварийных).
5. Аппарат должен иметь небольшую массу, малые габариты и низкую стоимость, быть надежным, удобным в эксплуатации, технологичным, иметь низкие эксплуатационные затраты.
|
|
|
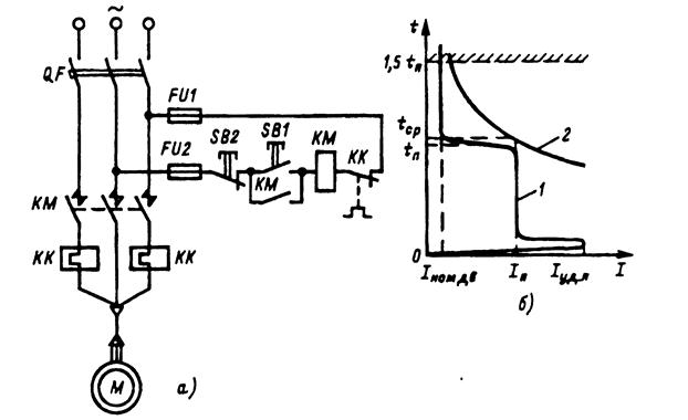
Схема прямого пуска и защиты асинхронного двигателя с короткозамкнутым ротором (а),
(б) - пусковая характеристика двигателя (1) и защитная характеристика теплового реле (2)

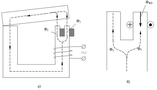
Электромагнитная сила на переменном токе
Fδ =
.
Ф = Фmax sin ωt.
F = Fmax sin2 ωt,
Fmax = Ф2max /(2μ0Sδ).
F = 0,5Fmax(1 – cos 2ωt) = Fср – 0,5Fmaxcos 2ωt. = F'– F' cos2ωt = F'– F".
|







