Раздел 2 КОМПРЕССОРНЫЕ СТАНЦИИ
. 2.1. Состав компрессорной станции
Назначением компрессорной станции (установки) является производство и подача сжатого воздуха потребителям.
Компрессорные станции (рис. 2.1) включают в свой состав устройства для забора воздуха, очистки его от пыли, компрессоры, приводные двигатели, теплообменники охлаждения, вспомогательное оборудование, предназначенное для дополнительной обработки воздуха (осушки, очистки, изменения давления, аккумуляции).
На компрессорной станции могут размещаться только компрессоры с электроприводом (обычно для машиностроительных предприятий) или компрессоры только с паротурбинным приводом (обычно для агрегатов доменного дутья). Находят применение и комбинированные паровоздуходувные и электрические станции ТЭЦ-ПВС.
Если сжатый воздух требуется только для отдельных участков производства, то применяется децентрализованная система производства сжатого воздуха, при которой соответствующее компрессорное оборудование располагается в зданиях соответствующих цехов.
|
|
|
Централизованная система производства сжатого воздуха используется на промпредприятиях, которые имеют большое количество разнородных потребителей, причем эти потребители рассредоточены по территории предприятия. В этом случае сжатый воздух производится на специальных компрессорных или воздуходувных станциях, располагаемых в отдельных зданиях. Сжатый воздух с избыточным давлением до 0,6 МПа производится на воздуходувных станциях.
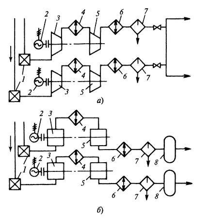
Рис. 2.1. Схема компрессорной станции:
а – с турбокомпрессорами; б – с поршневыми компрессорами; 1 – воздухозаборное устройство и фильтры очистки воздуха от пыли; 2 – привод; 3 – первая ступень (секция) компрессора; 4 – промежуточный холодильник; 5 – вторая ступень (секция) компрессора; 6 – концевой холодильник; 7 – концевой холодильник; 8 – ресивер (воздухосборник)

Рис.2.2 Принципиальная схема компрессорной станции.
Компрессорная станция располагается в отдельном здании и включает основное и вспомогательное оборудование. Основное оборудование составляет компрессор 2 с электродвигателем 3. Вспомогательное оборудование включает фильтр 1, концевой охладитель воздуха 4, влагомаслоотделитель 5 и ресивер (воздухосборник) 6, Кроме того, на компрессорной станции имеются трубопроводы различного назначения с арматурой, необходимая контрольно-измерительная аппаратура.
Забор воздуха осуществляется снаружи компрессорной станции из затемненных и наименее загрязненных мест. Воздух к фильтру должен поступать со всех сторон, что снижает вибрацию стен и окон здания станции
|
|
|
Охладители воздуха разделяются по назначению и месту установки на межступенчатые и концевые. Первые используются для охлаждения воздуха между ступенями сжатия, что повышает экономичность компрессора. В установках небольшой производительности они располагаются непосредственно на цилиндровом блоке компрессора, а на установках большой производительности – вблизи компрессоров как отдельные аппараты.
Концевые охладители устанавливаются исходя из требований эксплуатации и техники безопасности. Снижение температуры воздуха в них позволяет освободить воздух от водяного конденсата и масла в специальных влагомаслоотделителях, а также уменьшает опасность взрыва, поскольку уменьшается время нахождения масла в горячем воздухе. Воздух обычно охлаждают водой.
На компрессорных станциях для очистки сжатого воздуха от влаги и масла устанавливают влагомаслоотделители, которые либо выполняют в виде отдельных кованных аппаратов баллонного типа, либо встраивают в воздухоотделители. Для компрессоров небольшой подачи они вместе с воздухоохладителем располагаются на блоке цилиндров.
Каждый компрессор снабжаются ресивером (воздухосборником), основное назначение которого состоит в выравнивании колебаний давления в воздухопроводах. Ресиверы помещают снаружи помещения, потому что они взрывоопасны. В нижней части ресиверов предусматривают штуцера для продувки с целью удаления скопившихся конденсата и масла.
Бак масляных продувок представляет собой сосуд, который соединен трубопроводами с коллектором масляных продувок. К коллектору подключают воздухоохладители, влагомаслоотделители и ресиверы, подлежащие продувке от скопившихся масла и конденсата. Бак масляных продувок соединяют с атмосферой и всасывающим трубопроводом первой ступени компрессора.
Коммуникации компрессорной станции представляют собой систему трубопроводов для обеспечения установленного оборудования воздухом, водой и маслом.
Предохранительные клапаны устанавливаются между ступенями компрессора на межступенчатых охладителях, ресивере и баке масляных продувок. Их назначение состоит в предохранении установки от чрезмерного повышения давления. На напорном воздухопроводе перед ресивером располагается обратный клапан, предотвращающий подачу воздуха из ресивера в компрессор при его остановке.
Манометры устанавливают на межступенчатых воздузоохладителях, ресивере и баке масляных продувок. Для контроля давления масла в системе смазки ставится манометр на напорном патрубке масляного насоса. Давление охлаждающей воды контролируется по манометру на коллекторе, от которого разводятся водопроводы к отдельным компрессорам.
Наличие охлаждающей воды в системе охлаждения контролируется по сливу воды в воронки на сбросном коллекторе.
Обязательному контролю подлежат температуры воздуха перед каждым охладителем и за ним, а также конечная температура воздуха на выходе из компрессора. Контролируются температуры охлаждающей воды в коллекторе и на выходе из рубашек цилиндров и всех охладителей.