Контактный способ.При контактном способе отвода теплоты объект погружается в охлаждающую среду или ею орошается. При этом охлаждающая среда может изменять свое агрегатное состояние (кипеть), если применяют азот, хладоны. Теплообмен между объектом и охлаждающей средой происходит конвективным путем и характеризуется высокой интенсивностью, малой продолжительностью процесса, небольшими размерами оборудования при его большой производительности, потребностью в малых площадях при установке оборудования. Недостатком способа является возможность ухудшения качества продукта при непосредственном контакте с некоторыми средами.
При бесконтактном способе охлаждение объектов происходит через разделяющую их стенку, а также способом передачи теплоты от охлаждаемых объектов к поверхности теплообмена через подвижную промежуточную среду.
В зависимости от интенсивности циркуляции среды различают систему батарейного охлаждения, воздушную систему и смешанную систему охлаждения.
|
|
|
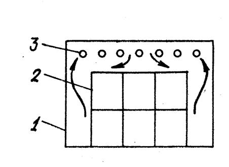
При батарейном охлаждении (рис.6.6) теплота отводится из камеры 1, где находится охлаждаемый объект 2, с помощью батарей 3 (пристенных, потолочных) при свободном движении воздуха у батарей. Недостатком батарейной системы охлаждения является большая неравномерность полей влажности воздуха и температуры в камере, а также недостаточная интенсивность теплообмена между воздухом и поверхностью приборов охлаждения.

Рис.6.6.
В воздушных системахохлаждения предусматривается наличие организованного движения воздуха в охлаждаемом помещении. В воздушных системахохлаждения предусматривается наличие организованного движения воздуха в охлаждаемом помещении. На рис. 6.7 изображена схема воздушного охлаждения с двухканальным распределением воздуха.
Вентилятор 4 отсасывает отепленный воздух из камеры по воздуховоду 1, расположенному под потолком камеры. Проходя через воздухоохладитель 5,воздух охлаждается, осушается и по воздуховоду 6 нагнетается в охлаждаемую камеру. При вентиляции камеры в воздухоохладитель через воздуховод 3 подают наружный воздух, количество которого регулируется шибером 2.
Недостатком воздушных систем является повышенный расход энергии на привод вентилятора и дополнительная тепловая нагрузка от работающего вентилятора.

Рис.6.7






