Ремни должны обладать достаточно высокой прочностью при действии переменных нагрузок, иметь большой коэффициент трения в контакте со шкивом и высокую износостойкость.
Плоские ремни имеют прямоугольное сечение (см. рис. 23.1 б, 23.2) и малую толщину. Их получают путем соединения (склеиванием, сшиванием) концов полос ткани (прорезиненной, хлопчатобумажной, шерстяной, капроновой и др.), кожи и синтетических материалов.
Ремни тканые толщиной 0.5 и 0.7 мм изготовляют из мешковых капроновых тканей просвечивающего переплетения. Их пропитывают раствором полиамида С–6 и покрывают пленкой на основе этого же полиамида, совмещенного с нитрильным каучуком. Растягивающую нагрузку в таких ремнях передают уточные нити ткани. Модуль упругости ремней
Е = 1200-1370 МПа, напряжение начального натяжения ветвей
= 5-10 МПа.
Ремни кордошнуровые прорезиненные выполняют с анидным кордшнуром диаметром 1,1 мм, который располагают в слое резины по винтовой линии. Для обеспечения прочности конструкции на наружной и внутренней поверхностях ремня имеется ткань ОТ-40. Ремни применяют при окружной скорости до 35 м/с.
|
|
|
В промышленности применяют синтетические ремни фирмы "Хаба-сит" (Швейцария) толщиной 0.7-2.8 мм со склеенным стыком. По сравнению с ткаными эти ремни имеют большую (в три раза) прочность и допускают скорость до 100 м/с.
Плоские ремни из синтетических материалов получают преимущественное распространение в высокоскоростных приводах благодаря высокой прочности и большой долговечности (напряжения изгиба в тонких ремнях невелики), хорошему сцеплению ремня со шкивом (коэффициент трения f = 0.5 – 0.6) и высокой тяговой способности, высокая точности вращения.
Круглые ремни (кожаные, капроновые и др.) применяют в машинах малой мощности (швейных и бытовых машинах, настольных станках и др.) (рис. 23.1 в).
Клиновые ремни используются в настоящее время наиболее широко. Они обеспечивают передачам большую тяговую способность и меньшие габариты по сравнении с плоскоременными передачами, могут передавать вращение на несколько валов одновременно, допускают передаточное отношение i = 6 - 8 без натяжного ролика. Однако они менее быстроходны (скорость до 30 м/с), имеют более низкий (на 1-2%)КПД и могут применяться лишь как открытые.
Клиновые ремни изготовляют бесконечными, слойной конструкции (рис. 23.3 а, б), имеющей несущий кордовой слой 1 (работает на растяжение), резиновый или резинотканевый слой 3 и обертку из прорезиненной ткани 2. Несущий слой на основе материалов из химических волокон (капрона, лавсана, вискозы, анида располагают в продольном направлении ремня на нейтральной поверхности для разгрузки его от напряжений изгиба.
|
|
|
Модуль упругости прочных химических волокон и несущего слоя существенно выше модуля упругости резины, поэтому этот слой воспринимает основную часть нагрузки.
Резиновые слои (подушки), расположенные над несущим слоем (в зоне растяжения) и под ним (в зоне сжатия), обеспечивают ремню требуемую форму и демпфирующие свойства. Обертка из прорезиненной ткани придает ремню каркасность, предохраняет внутренние элементы от внешних воздействий и повышает износостойкость.
Клиновые ремни выполняют с углом клина
= 40° и отношением большего основания трапециевидного сечения к высоте
(нормальные ремни) и
(узкие ремни). Размеры поперечного сечения (обозначаются О, А, Б, В, Г, Д, Е по мере увеличения площади) и длина нормальных ремней определены ГОСТ 1284-80.
Получили распространение поликлиновые ремни с высокопрочным полиэфирным кордон в плоской части, также работающие на шкиве с клиновыми канавками. Рекомендуемое число ребер от 2 до 20, допускаемое– 50. При одинаковой мощности ширина такого ремня в 1,5-2 раза меньше ширины комплекта обычных клиновых ремней. Благодаря высокой гибкости допускается применение шкивов меньшего диаметра, чем в клиноременной передаче,
большая быстроходность (до 40-50 м/с) и большие передаточные отношения (до 15).
Шкивы. Их конструктивные формы определяются преимущественно их размерами (обычно наружным диаметром), типом передачи, видом производства (единичное, серийное, массовое), возможностями предприятия-изготовителя.

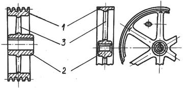
Рис. 23.5
Шкивы большого диаметра выполняют для облегчения с углублениями и отверстиями, а также с четырьмя - шестью спицами (см. рис. 23.5). Такие шкивы условно состоят из трех частей: обода (1) – части шкива, несущей ремень; ступицы (2) – части шкива, с помощью которой его соединяют с валом; спиц (3) (или диска), связывающих обод со ступицей.
Шкивы изготовляют из чугуна марок СЧ 10 и СЧ 15, легких сплавов и пластмасс при работе передачи с небольшими скоростями и из сталей (25Л, 15 и др.) при окружных скоростях свыше 30 м/с.
Особенности монтажа и эксплуатации передач. Начальное натяжение оказывает существенное влияние на работоспособность передач, поэтому его необходимо контролировать. Обычно контроль начального натяжения осуществляют путем прикладывания небольшой поперечной нагрузки (например, груза с силой тяжести Fg= 10-50 Н) посередине ветви и измерения стрелы f провисания ремня под грузом. В этом случае сила начального натяжения
(
–половина свободной длины ветви).






