Метод последовательного частотного анализа может быть реализован плавной перестройкой резонансной частоты узкополосного фильтра. При этом резонансная частота фильтра последовательно совпадает с частотами гармонических составляющих анализируемого сигнала, которые поочередно возбуждают сигналы на выходе фильтра.
Перестройка фильтра в широком диапазоне частот при сохранении высокой избирательности является очень сложной задачей. Поэтому способ последовательного анализа при практической реализации видоизменяется – перемещают не резонансную частоту фильтра, а спектр частот исследуемого сигнала. Перемещение спектра частот реализуется на основе супергетеродинного преобразования частоты анализируемого сигнала. Анализаторы спектра в этом случае называются гетеродинными.
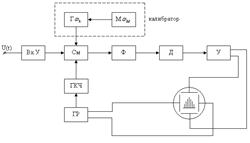
Структурная схема. Работа схемы.
Сигнал с входного устройства (Вх.У) поступает на смеситель (См). Одновременно с ним на смеситель поступает сигнал с генератора качающейся частоты (ГКЧ). Сигнал с генератора качающейся частоты представляет собой синусоидальный сигнал, частота которого изменяется во времени по линейному закону. Этим перемещается спектр сигнала. Преобразованный смесителем сигнал подается на вход узкополосного фильтра (Ф). Когда смещаемая по частоте гармоника входного сигнала попадает в полосу пропускания узкополосного фильтра, в нем возникают колебания. Эти колебания поступают на детектор (Д). Детектор выделяет огибающую этих колебаний. Далее сигнал усиливается и поступает на вертикально отклоняющие пластины ЭЛТ. Управление частотой генератора качающейся частоты и отклонением луча ЭЛТ по горизонтали осуществляется одним и тем же пилообразным напряжением, поступающим от генератора развертки (ГР). Таким образом, горизонтальная ось на экране ЭЛТ является одновременно осью времени и осью частот. На экране ЭЛТ имеем изображение спектра:
Для определения частоты, соответствующей заданной точке на горизонтальной оси, предусмотрен калибратор. Он состоит из генератора (Г
) и модулятора (М
), работающих соответственно на частотах
. Напряжение синусоидальной формы с модулятора модулирует колебания генератора по частоте. Так как модулируемое напряжение синусоидально, спектр сигнала калибратора имеет дискретный вид:

Калибровка производиться следующим образом: спектр дискретного сигнала накладывается на спектр исследуемого сигнала. Регулируя
, добиваются их совмещения. Значение частот отсчитывают по шкале калибратора.






