При параллельной работе СГ автоматическое распределение реактивной нагруз
ки обеспечивают реактивные компенсаторы (см. п. 4. Реактивные компенсаторы).
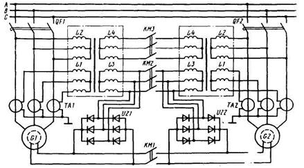
В отсутствие реактивных компенсаторов реактивную нагрузку распределяют при помощи т.н. уравнительных связей (рис. 3.23).

Рис. 3.23. Принципиальная схема различных способов подключения
уравнительных связей между параллельно работающими СГ
Для однотипных генераторов с одинаковым номинальным напряжением возбужде-
ния уравнительную связь устанавливают между обмотками возбуждения, т. е. на стороне постоянного тока. При замыкании контактов КМ1 обмотки возбуждения соединяются па-
раллельно, поэтому любое изменение напряжения на одной из них автоматически приво-
дит к такому же изменению напряжения на другой.
Уравнительные соединения применяют также на стороне переменного тока. Для СГ одинаковой мощности могут быть установлены уравнительные соединения между выход-
ными обмотками L3 компаундирующих трансформаторов. При замыкании контактов КМ2 эти обмотки соединяются параллельно, поэтому изменение напряжения на одной из них вызовет такое же изменение напряжения на другой.
Для СГ разной мощности, имеющих разные напряжения возбуждения, применяют дополнительные обмотки L4 с одинаковыми выходными напряжениями. Если реактивные нагрузки СГ одинаковы, то в уравнительных проводах, соединяющих эти обмотки, токи не протекают. При изменении реактивной нагрузки одного из генераторов возникающие между обмотками L4 уравнительные токи будут подмагничивать магнитопровод одного из компаундирующих трансформаторов и размагничивать магнитопровод другого, что приведет к выравниванию реактивных нагрузок генераторов.