Основные сведения
Судовые выключатели и переключатели – это коммутационные аппараты ручного управления, состоящие из собранных в пакеты секций с контактами. Поэтому они получи-
ли название «пакетные».
Пакетные выключатели предназначены для включения и выключения цепей посто
янного и переменного тока.
Пакетные переключатели предназначены для переключения упомянутых цепей.Не-которые типы переключателей, кроме переключения, позволяют включать и выключать питание переключаемых цепей.
Пакетные выключатели и переключатели делятся по таким признакам:
1. по числу полюсов – на одно-, двух- и трехполюсные;
2. по способу исполнения корпуса – открытые, защищенные и герметические.
Переключатели выполняются на два или три направления.
Пакетные выключатели и переключатели изготовляются на номинальные токи от
10 А до 400 А
Пакетные выключатели
Пакетный двухполюсный выключатель изображен на рис. 4.6.

Рис. 4.6. Пакетный двухполюсный выключатель:
а – общий вид; б – пакет выключателя; в – схема; 1 – крышка; 2 – рукоятка; 3 – изоляторы; 4 – неподвижные контакты; 5 - фибровые шайбы; 6 – подвижные контакты
Выключатель имеет два пакета (рис. 4.6, а), каждый из которых (рис. 4.6, б) вклю
чает в себя подвижный латунный контакт 6 в виде лепестка, два неподвижных контакта 4 и корпус 3 из изоляционного материала.
В исходном положении ось подвижного контакта 6 расположена горизонтально, поэтому этот контакт соединяет через себя левый и правый неподвижные контакты 4. Та-
му состоянию контактов соответствует схема на рис. 4.6, в (нижняя).
При повороте рукоятки выключателя на 90º по часовой стрелке подвижный кон-
такт устанавливается вертикально, поэтому цепь через контакты 6 и 4 обрывается. Такому
му состоянию контактов соответствует схема на рис. 4.6, в (верхняя).
При помощи пружины в верхней части выключателя (не показана) контакты раз-
каются мгновенно при подходе рукоятки к положению, близкому к 90º. Такое мгновенное размыкание контактов способствует уменьшению их обгорания.
Пакетные переключатели
Устройство и принцип действия пакетных переключателей те же, что и пакетных выключателей. Отличие состоит в форме подвижных контактов (рис. 4.7).
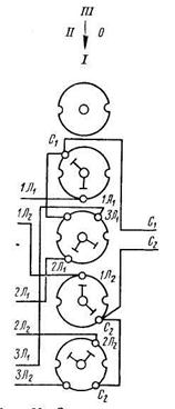
Как видно из рис.4.7, двухполюсный переключатель на три направления имеет че-
тыре контакта, расположенных в направлении сверху вниз. Каждый контакт выполнен в виде цельного лепестка, состоящего из двух частей в виде линий с поперечными черточ-
ками.
При этом угол раствора линий верхнего и третьего сверху контактов составляет 135º, второго и четвертого - 90º.
Схема на рис. 4.7. позволяет поочередно подключить к выходным проводам С
, С
одну из трех питающих сетей с выводами соответственно 1Л
, 1Л
, 2Л
, 2Л
и 3Л
.
В положении контактов, изображенном на рис. 4.7, провод 1Л
соединен с прово-
дом С
через первый сверху подвижный контакт, провод 1Л
с проводом С
- через тре-
тий сверху контакт. Иначе говоря нагрузка, подключенная к выводам С
, С
, подключена к первой сети с выводами 1Л
, 1Л
. Это положение на корпусе переключателя обозначе-
но как «I».

Рис. 4.7. Принципиальная электрическая схема двухполюсного переключателя на три направления:):
0, I, II, III – положения рукоятки переключателя; 1Л
, 1Л
- провода первой питаю-
щей сети; 2Л
, 2Л
- провода второй питающей сети; 3Л
, 3Л
- провода третьей питаю-
щей сети; С
, С
- провода нагрузки
При повороте рукоятки на 90º по часовой стрелке все четыре подвижных контакта также повернутся на этот угол. В результате через второй и четвертый сверху подвижные контакты с выводами С
, С
соединятся выводы 2Л
, 2Л
(положение «II»).
При повороте рукоятки еще на 90º по часовой стрелке через второй и четвертый сверху подвижные контакты с выводами С
, С
соединятся выводы 3Л
, 3Л
(положе-
ние «III»).
При установке рукоятки в положение «0» все четыре подвижных контакта размы-
каются.
Пакетные выключатели и переключатели имеют такие свойства:
1. малые габариты;
2. удобство в монтаже;
3. высокая вибро- и ударостойкость;
4. отсутствует выброс наружу газов и пламени (т.к. дуга в них гасится в замкну
том пространстве);
5. быстрый износ контактной системы и приводного механизма.
Например, допустимое число операций «включено-выключено» при токах от 100
до 400 А и напряжении 220 В – не более 10 000.