Обеспечение непрерывности электроснабжения переключением питания
Развитие полупроводниковой техники позволило перейти от контактных к бескон-
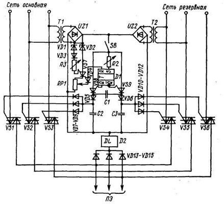
тактным элементам, например, симметричным тиристорам, или, иначе, симисторам (рис. 5.7).

Рис. 5.7. Схема бесконтактного автоматического переключения сетей
В состав силовой части схемы входят:
1. сети основная и резервная;
2. группы симисторов VS1…VS3 и VS4…VS6;
3. приемники электроэнергии ПЭ.
В состав схемы управления входят:
1. Т1, Т2 - понижающие трансформаторы Т1, Т2, предназначенные для питания цепей управления симисторами;
2. UZ1, UZ2 - выпрямительные мостики, для получения постоянного тока цепей управления;
3. VD1, VD2 – cтабилитроны (пороговые элементы);
4. VD3…VD15 – полупроводниковые диоды;
5. D1 – cимметричный триггер R-S-типа;
6. D2 – элемент задержки переключения симисторов;
7. С1…С3 – конденсаторы;
8. SB – выключатель управления.
Схема работает так.
Вначале питание подается в основную сеть.
На выходе UZ1 появляется напряжение, достаточное для пробоя стабилитрона VD1
Через пробитый VD1 образуется цепь тока управления вспомогательного тиристора VS7:
«плюс» на правом выводе UZ1 – пробитый VD1 – диод VD3 – резистор R3 – управляющий электрод – катод VS7 – «минус» на левом выводе UZ1.
Тиристор VS7 открывается, вследствие чего пробивается стабилитрон VD2, через
который и резистор RP1 образуется цепь тока:
«плюс» на правом выводе UZ1 – пробитый VD2 – открытый VS7 – потенциометр RP1 – «минус» на левом выводе UZ1.
На RP1 создается падение напряжения.
При включении выключателя управления SB это напряжение устанавливает триг-
гер D1 в исходное состояние, при котором на прямом выходе
триггера D1 появляется напряжение, отпирающее вспомогательный тринистор VS8 в цепях управления силовыми тринисторами VS1…VS3.
Последние открываются, напряжение основной сети поступает к приемникам ПЭ.
После этого включают резервную сеть
При снижении напряжения основной сети на 10% и более стабилитрон VD2 запира
ется, и триггер переключается во второе состояние, при котором на инверсном выходе 
триггера D1 появляется напряжение, отпирающее вспомогательный тринистор VS9 в це-
пях управления силовыми тринисторами VS4…VS6.
Включение этих тринисторов искусственно задерживается на небольшой промежу
ток времени (несколько десятых с) для того, чтобы ранее успели закрыться тринисторы
VS1…VS3.
Коммутирующий конденсатор С1 предназначен для запирания вспомогательных
тринисторов VS8 и VS9.
Конденсаторы С2 и С3 являются фильтрующими, для сглаживания пульсаций выпрямленного напряжения мостиков UZ1 и UZ2.
Рассмотренные автоматические переключатели сетей выпускаются серийно. Их маркировка состоит из букв АПС, номера серии (величины) – от 2 до 6, шифров значений напряжений (2 – 220 В. 3 – 380 В) и частоты (1 – частота 50 Гц, 2 – частота 400 Гц).
Например, АПС331 расшифровывается так: АПС - автоматический переключатель сетей,
первая цифра 3 – третьей величины (тока), вторя цифра 3 – для сетей напряжением 380 В,
1 – частота 50 Гц.
Бесконтактные АПП (устройства автоматического переключения питания) отлича
ются от рассмотренного АПС только наличием защиты асинхронного двигателя.






