Основные сведения
Обеспечение непрерывности электроснабжения
По степени важности приемники электроэнергии подразделяют на 3 группы:
1. особо ответственные приемники, перерыв в питании которых может привести к аварии судна и гибели людей.
К ним относятся радио- и навигационное оборудование в соответствии с Правила-
ми по конвенционному оборудованию морских судов, рулевое устройство, пожарный на-
сос, аварийное освещение и др. На судах приемники этой группы питаются практически бесперебойно от основной, а при ее обесточивании - от аварийной электростанции;
2. ответственные приемники, обеспечивающие работу СЭУ, управление судном и сохранность груза. В эту группу входит основная часть судовых приемников электроэнер-
гии - насосы, вентиляторы, компрессоры, якорные и швартовные механизмы, грузовые устройства, средства внутрисудовой связи и сигнализации и др. Эти приемники получают питание во всех режимах работы основной СЭС;
3. малоответственные приемники, допускающие перерыв питания в аварийных ситуациях или при перегрузке СЭС - бытовая вентиляция, камбузное оборудование и др.
Для обеспечения непрерывности электроснабжения приемников электроэнергии
применяют следующие способы:
1. установка на судне аварийной электростанции, от шин которой получают пита
ние особо ответственные приемники электроэнергии;
2. резервирование приемников, один из которых, находящийся в работе, считается
основным, а другой – резервным. К таким приемникам относятся, например, рулевые элек
троприводы, устанавливаемые в румпельном отделении в двойном количестве;
3. питание приемников по отдельным фидерам, из которых один проложен от
ГЭРЩ, а другой – от вторичного РЩ или АЭРЩ. При этом фидеры получают питание от разных секций ГЭРЩ, разнесенных на достаточное расстояние друг от друга. Например, рулевые приводы получают питание по двум фидерам, один из которых подключен к ГЭРЩ, а второй – к АЭРЩ. Эти фидера проложены вдоль разных бортов судна;
4. автоматическое переключение питания одиночного приемника электроэнергии с одного фидера на другой, и др.
Рассмотрим некоторые из этих способов
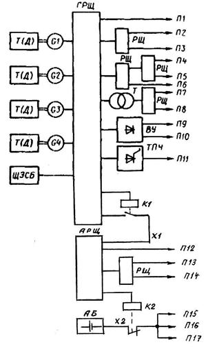
Рассмотрим структурную схему СЭЭС с одной основной и одной аварийной СЭС
(рис. 5.5)

Рис. 5.5. Структурная схема СЭЭС с одной основной и одной аварийной СЭС
В состав схемы входят:
1. главный электрораспределительный щит (ГРЩ), от которого получают пита-
ние ответственные и малоответственные П1…П11 приемники электроэнергии;
2. аварийный электрораспределительный щит (АРЩ), от которого получают пи-
тание особо ответственные приемники П12…П14;
3. аккумуляторная батарея (АБ) аварийного освещения, от которой получают пи-
тание, в основном, светильники малого аварийного освещения (МАО) и некоторые дру-
гие приемники электроэнергии (авральная сигнализация и т.п.) П15…П17.
Внутрь ГРЩ и АРЩ встроены контакторы переменного тока соответственно К1 и К2, катушки которых подключены к шинам ГРЩ (К1) и АРЩ (К2).
Контактор К1 – 3-полюсный, контактор К2 – 2-полюсный.
При нормальной работе основной электростанции катушка контактора К1 получает питание от шин ГРЩ, поэтому контактор К1 включен, и его 3 контакта замкнуты.
Через эти контакты к шинам ГРЩ подключены шины АРЩ.
Следовательно, при наличии напряжения на шинах ГРЩ есть напряжение и на ши-
нах АРЩ. Поэтому группы приемников электроэнергии – П1…П11 и П12…П14 получают питание от основных генераторов G1…G4 СЭС.
Поскольку катушка контактора К2 получает питание от шин АРЩ, этот контактор включен, а его размыкающие контакты разомкнуты. Поэтому приемники П15…П17 отклю
чены от аккумуляторной батареи АБ.
При выходе из строя основной электростанции напряжение на шинах ГРЩ пропа-
дает, поэтому контактор К1 отключается и размыкает свои контакты. Тем самым шины ГРЩ и АРЩ рассоединяются.
По Правилам Регистра, после обесточивании шин ГРЩ должен произойти автома-
тический пуск АДГ (в течение не более 45 с) с последующим его включением на шины
АРЩ. Следовательно, в течение 45 с шины АРЩ обесточены, поэтому контактор К2 от-
ключен, а через его замкнувшиеся контакты К2 от батареи АБ аварийного освещения полу
чают питание приемники П15…П17, в том числе светильники аварийного освещения на-
пряжением 12 (24 В).
После пуска АДГ и его включения на шины АРЩ восстанавливается питание при-
емников П12…П14. Кроме того, повторно включается контактор К2, его контакты размы-
каются, отключая от АБ приемники П15…П17. Аварийные светильники 12 (24) В отклю-
чены.
При выходе из строя аварийной электростанции контактор К2 отключается и через его замкнувшиеся контакты К2 вновь получают питание приемники П15…П17 напряже-
нием 12 (24) В.
Контактор К1 выполняет важную функцию – рассоединяет шины ГРЩ и АРЩ при выходе из строя основной электростанции. Если бы этого контактора не было, т.е. шины ГРЩ и АРЩ были бы постоянно соединены, то при обесточивании основной электростан-
ции и включении АДГ на шины АРЩ все без исключения судовые приемники П1…П14 стали бы получать питание от шин АРЩ.
Поскольку мощность АДГ невелика (обычно не более 150 кВт), одновременное включение на шины АРЩ этих приемников привело бы к перегрузке АДГ и его отключе-
нию.