Основные сведения
Система дистанционной отдачи якоря
Защита по снижению напряжения
При снижении напряжения до 60% и менее якорь реле напряжения KV1 отпадает, его контакты размыкаются, схема управления отключается.
Двигатель отключается от сети и затормаживается.
После восстановления напряжения для продолжения работы сначала надо вернуть рукоятку КК в положение «0», чтобы включилось реле KV1, после чего перевести её в нужное рабочее положение.
На современных транспортных судах применяют 2 вида управления отдачей якоря:
1. местное ручное, при котором все операции по отдаче якоря выполняются
вручную боцманом, находящимся на полубаке непосредственно у брашпиля;
2. дистанционное, из рулевой рубки.
Дистанционное управление из рулевой рубки применяют:
1. в обычных условиях - для постановки судна на якорь;
2. в аварийной ситуации - для экстренного торможения судна, при котором якорь-
цепь вытравливают на грунт и тем самым уменьшают скорость движения судна.
В соответствии с Правилами Регистра, в рулевой рубке должен быть счётчик дли-
ны вытравленной цепи и указатель предельной скорости травления с отметкой предельно допустимой скорости 180 м/мин.
При дистанционной отдаче якоря для управления ленточным тормозом применяет
ся специальное гидравлическое устройство (описано ниже).
Постановка судна на якорь или съёмка с якоря – ответственная операция, в которой участвуют офицеры и рядовой состав. При этом местонахождение и действия каждого члена экипажа строго определены соответствующими руководящими документами, напри
мер, «Уставом службы на судах морского флота» и другими.
В постановке судна на якорь участвуют капитан, старший помощник, 2-й и 3-й помощники, боцман, старший рулевой матрос и матросы.
В рулевой рубке находятся капитан, старший помощник, старший рулевой матрос;
на баке - 3-й помощник, боцман и несколько матросов; на корме - 2-й помощник и матро-
сы.
Связь между рулевой рубкой и баком и кормой – при помощи переносных приёмо-
передатчиков («воки-токи», от англ. walk – ходить, talk – говорить, вместе – говорить на ходу), а также телефонов парной связи «рубка – бак» и «рубка – корма».
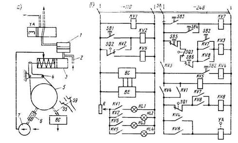
(рис. 12.10, а)
Бустер (от англ. «вooster») – усилитель.
Сервопривод - привод, в составе которого есть усилитель.
К основным элементам схемы относятся:
1 – пневмогидравлический бустер. Бустер – это цилиндр, внутри которого переме-
щается поршень. Поршень делит цилиндр на верхнюю и нижнюю части. В верхней части
находится воздух, в нижней части – масло;
2 – трубопровод масляной системы; служит для подачи масла в нижнюю полость бустера и правую часть силового цилиндра 3;
3 – силовой цилиндр гидропривода; внутри цилиндра перемещается поршень.

Рис. 12.10. Электропривод дистанционной отдачи якоря: а – кинематическая часть; б - электрическая
Поршень делит цилиндр на левую и правую части. В обеих частях цилиндра нахо-
дится масло. Масло поступает: в правую часть – из трубопровода 2, в левую часть – от масляного шестерённого насоса 7;
Кроме того, в левой части находится пружина, стремящаяся переместить поршень вправо.
Шток поршня при помощи горизонтальной тяги соединён с верхним плечом пово
ротного рычага 4;
4 – двухплечий поворотный рычаг; его нижнее (горизонтальное) плечо соединено с ленточным стопором 5;
5 – ленточный стопор в виде ленты, охватывающей цилиндрический тормозной барабан. Левый конец ленты прикреплён к корпусу судна, правый соединён с поворотным рычагом 4.
Сам тормозной барабан механически соединён с якорной звёздочкой (якорная звёз
дочка или, иначе, цепной барабан, через который проходит якорь-цепь, на рис. 134, а не показана);
6 – нереверсивная роликовая муфта; служит для передачи вращения от якорной звёздочки к шестерённому масляному насосу 7 только при спуске якоря;
7 - шестерённый масляный насос, служит для нагнетания масла в левую часть сило
вого цилиндра 3;
YA – катушка электромагнитного золотника. Сам золотник представляет собой цилиндр, внутри которого находится поршень. Поршень делит цилиндр на левую и правую части. В левую часть подаётся воздух из судовой воздушной магистрали с постоянным давлением. Правая часть через отверстие в корпусе соединена с атмосферой;
ВС – сельсин-датчик длины вытравленной цепи; ротор сельсина механически свя-
зан с якорной звёздочкой. На валу ротора ВС находятся два кулачка:
1. кулачок, переключающий контакты микропереключателя SQ2, когда будет
вытравлено 2 м якорь-цепи;
2. кулачок, переключающий контакты микропереключателя SQ3, когда будет
вытравлена полная длина якорь-цепи.
Контакты микропереключателей SQ2 и SQ3 показаны на рис. 12.10, б.
Исходное состояние схемы (рис. 12.10, а)
В исходном состоянии напряжение на катушке YA золотника отсутствует.
Поршень золотника находится в положении, показанном на схеме. При таком поло-
жении поршня правая часть цилиндра золотника сообщена с атмосферой, поэтому пор-
шень бустера 1 давлением масла в нижней части цилиндра приподнят вверх.
Давление масла в нижней части бустера 1 и соединённой с ней правой части цилин
дра гидропривода 3 невелико. Поршень и шток гидропривода занимают положение, пока-
занное на рис. 12.10, а. Сила давления штока на верхнее плечо поворотного рычага неве-
лика, лента плотно охватывает тормозной барабан. Якорная звёздочка неподвижна.






