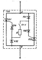
Тиристорным коммутатором называется схема, состоящая из 2-х встречно-парал-
лельно включенных тиристоров и предназначенная для коммутации одного полюса цепи
(рис. 13.33)..

Рис. 13.33.. Схема тиристорного коммутатора переменного тока
К элементам схемы тиристорного коммутатора относятся:
VS1 и VS2 – два встречно-параллельно включённых тиристора;
VD1…VD4 – т.н. развязывающие диоды, предназначены для образования двух и
более цепей постоянного тока при питании этих цепей от одного источника постоянного тока;
R – токоограничивающий резистор в цепи тока управления тиристора, для получе-
ния необходимого значения тока управления (десятки – сотни миллиампер) при питании цепи управления напряжением в десятки и сотни вольт;
К – контакт реле, управляющий включением-выключением тиристоров (катушка реле на схеме не показана).
Для подготовки схемы к работе подают переменное напряжение на её выводы.
В исходном состоянии коммутатора контакт К1:1 реле разомкнут, поэтому тиристо
ры VS1 и VS2 заперты и ток не пропускают. Такое состояние тиристоров равнозначно раз
рыву цепи между точками «А» и «В».
Для включения коммутатора подают питание на катушку реле К1 (катушка на схе
ме не показана), при этом контакт К1:1 замыкается.
В условную положительную полуволну переменного напряжения сети полярность напряжения на выводах «А» и «В» такая: «плюс» на выводе «А», «минус» на выводе «В».
При такой полярности образуется цепь тока управления тиристора VS1:
«плюс» на выводе «А» - VD1 – K1:1 – R – VD4 – управляющий электрод VS1 – ка-
тод VS1 - «минус» на выводе «В».
Тиристор включается и становится диодом, пропуская через себя ток по цепи:
«плюс» на выводе «А» - анод VS1 – катод VS1 - «минус» на выводе «В».
Эта же полуволна напряжения удерживает тиристор VS2 закрытым, т.к. «плюс» на
выводе «А» приложен к катоду VS2, а «минус» на выводе «В» - к аноду VS2. т.е. анодное напряжение с такой полярностью является обратным для тиристора.
По этой же причине во вторую полуволну напряжения («плюс» в точке В, «минус» в точке А) тиристор VS1 автоматически запирается, но возникает аналогичная цепь тока управления тиристора VS2:
«плюс» на выводе «В» - VD3 - R – K1:1 VD2 – управляющий электрод VS2 – катод
VS2 - «минус» на выводе «А».
Тиристор включается и становится диодом, пропуская через себя ток по цепи:
«плюс» на выводе «В» - анод VS2 – катод VS2 - «минус» на выводе «А».
Таким образом, напряжение сети автоматически поочерёдно переключает (комму
тирует) тиристоры, что равнозначно соединению накоротко выводов «А» и «В». Такую коммутацию тиристоров называют естественной.
Из сказанного следует, что тиристорный коммутатор подобен обычному медному
контакту:
1. если тиристоры VS1 и VS2 закрыты, то цепь между точками А и В разорвана,
что равнозначно разомкнутому медному контакту;
2. если же тиристоры открыты, то цепь между точками А и В соединена через ти-
ристоры накоротко, что равнозначно замкнутому медному контакту;
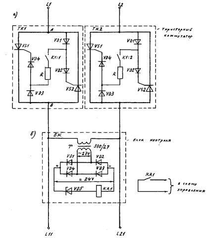
На базе тиристорных коммутаторов были созданы тиристорные контакторы пере-
менного тока.
Тиристорным контактором называется схема, состоящая из 2-х тиристорных комму
таторов ТК1 и ТК2, конструктивно объединенных в одном блоке (корпусе).(рис. 13.34).
Для контроля исправности тиристоров тиристорный контактор может дополняться
блоком контроля исправности тиристоров.

Рис. 13.34 Схема тиристорного контактора и блока контроля
Работа тиристорного контактора ТК1 (ТК2) объяснена выше, поэтому объясним
работу блока контроля исправности тиристоров






