Литература
Технологии параметрически - ориентированного и модельно-ориентированного проектирования.
Одна из реализаций объектного метода проектирования – это модельно-ориентированный подход. Развивается как результат использования знаний о инжиниринге бизнес-процессов, автоматизации проектирования и методах типового проектирования информационных систем. Суть его заключается в следующем. Сначала строится модель предметной области, а затем по ней выполняется моделирование информационной системы, то есть конфигурирование и связывание между собой типовых модулей. Все это проводится с использованием единой системы CASE-средств.
Инструментарий типового проектирования ИС на основе модельно-ориентированной технологии включает в себя следующие элементы:
- Репозиторий (база метаинформации) содержит:
- Множество типовых моделей, которые поставляются разработчиком системы автоматизированного типового проектирования, и расширяются по мере накопления опыта проектирования информационных систем для различных отраслей и типов производства.
- Базовую модель, которая содержит описание всех бизнес-функций, бизнес-процессов, бизнес-объектов, бизнес-правил и элементов организационной структуры, которые поддерживаются программными модулями типовой ИС.
- Модель конкретного объекта автоматизации, которая, возможно, создается с использованием типовых моделей и на основе которой осуществляется конфигурирование программного обеспечения. Строится как структурированное подмножество базовой модели.
Модель бизнес-функций представляет собой иерархическую декомпозицию функциональной деятельности предприятия (подробное описание см. в разделе "Анализ и моделирование функциональной области внедрения ИС").
Модель бизнес-процессов отражает выполнение работ для функций самого нижнего уровня модели бизнес-функций. Для проверки семантической целостности бизнес-процессов, а также для автоматизации их управления разрабатывается набор бизнес-правил.
Модель организационной структуры предприятия представляет собой традиционную иерархическую структуру подчинения подразделений и персонала.
- CASE-средства для проектирования модели объекта автоматизации (мы их рассматривали ранее). Эти средства обычно интегрированы в систему автоматизированного типового проектирования.
- Конфигуратор ИС – программа, которая автоматически генерирует конфигурацию информационной системы по построенной модели предметной области.
Основная литература
1. Бугорский В.Н., Соколов Р.В. Сетевая экономика и проектирование информационных систем. – СПб.: Питер, 2007. – 320с.
2. Вендров, А.М. Проектирование программного обеспечения экономических информационных систем: Учебник. – 2-е изд., перераб. и доп. / А.М. Вендров. – М.: Финансы и статистика, 2005. – 544 с.
- Смирнова Г.Н. и др. Проектирование экономических информационных систем: учебник / Г.Н. Смирнова, А.А. Сорокин, Ю.Ф. Тельнов; под ред. Ю.Ф. Тельнова. – М.: Финансы и статистика, 2005. – 512 с.
Дополнительная литература
1. Ипатова Э.Р., Ипатов Ю.В. Проектирование информационных систем. – Магнитогорск, 2003.
Тема 8. Проектирование интегрированных информационных систем
Цель:
· изучить принципы и особенности проектирования интегрированных ИС;
· изучить системы управления информационными потоками;
· изучить методы и средства организации метаинформации проекта ИС.
Результат обучения. После обучения студент должен:
· знать особенности проектирования интегрированных ИС;
· знать принципы работы систем управления информационными потоками;
· знать методы и средства организации метаинформации проекта ИС.
План:
8.1 Принципы и особенности проектирования интегрированных ИС.
8.2 Открытые информационные системы: основные свойства и межсистемные интерфейсы
8.3 Стандартные методы совместного доступа к базам и программам в сложных информационных системах (интерфейсы CORBA и СОМ, драйверы ODBC).
8.4 Система управления информационными потоками как средство интеграции приложений ИС.
8.5 Методы и средства организации метаинформации проекта ИС.
Архитектура современных КЭИС базируется на принципах клиент-серверного взаимодействия программных компонентов информационной системы.
Под сервером обычно понимают процесс, который обслуживает информационную потребность клиента. В различных архитектурах в качестве процесса может быть поиск или обновление в базе данных, и тогда сервер называется сервером базы данных, или процесс может выполнять некоторая процедура обработки данных, и тогда сервер называется сервером приложения.
Клиентом является приложение, посылающее запрос на обслуживание сервером. Задачей клиента являются инициирование связи с сервером, определение вида запроса на обслуживание, получение от сервера результата обслуживания, подтверждение окончания обслуживания.
Клиент-серверная архитектура реализует многопользовательский режим работы и является распределенной, когда клиенты и серверы располагаются на разных узлах локальной или глобальной вычислительной сети. Пример локальной сети с одним сервером представлен на рис. 12.1. Преимущество локальной сети перед централизованной вычислительной системой заключается в открытом подключении и использовании вычислительных ресурсов с помощью единой передающей среды без пересмотра принципов взаимодействия ранее установленного вычислительного оборудования, то есть простой масштабируемости КЭИС.
В общем случае схема клиент-серверной архитектуры включает три уровня представления: уровень представления (презентации) данных пользователем; уровень обработки данных приложением и уровень взаимодействия с базой данных.
По этой схеме пользователь (клиент) в одном случае вводит данные, которые после контроля и преобразования некоторым приложением попадают в базу данных, а в другом случае запрашивает обработку данных приложением, которое обращается за необходимыми данными к базе данных. Получив необходимые данные, сервер их обрабатывает, а результаты или помещает в базу данных, или выдает пользователю (клиенту) в удобном для него виде, например в виде текстового документа, электронной таблицы, графика, или делает то и другое вместе.
Клиент-серверная архитектура в вычислительной сети может быть реализована по-разному. Выбор конкретной схемы определяется различными вариантами территориального распределенияудаленных подразделений предприятия, требованиями эксплуатационной надежности, быстродействием, простотой обслуживания. Рассмотрим различные схемы клиент-серверной архитектуры.
Файл-серверная архитектура представляет наиболее простой случай распределенной обработки данных, согласно которой на сервере располагаются только файлы данных, а на клиентской части находятся приложения пользователей вместе с СУБД. Файл-сервер представляет собой достаточно мощную по производительности и оперативной памяти ПЭВМ, являющуюся центральным узлом локальной сети. Файл-сервер в среде сетевой операционной системы организует доступ к файлам, полностью эквивалентным файлам операционной системы и расположенным во внешней памяти файл-сервера.
При данном подходе программы СУБД располагаются в оперативной памяти рабочих станций локальной сети, а файлы базы данных - на магнитных дисках файл-сервера. Специальный интерфейсный модуль распознает, где находятся файлы, к которым осуществляется обращение. В связи с этим данная СУБД может работать как с локальными базами данных, так и с центральной базой данных. Синхронизация совместного использования базы данных файл-сервера возлагается на систему управления базами данных, которая должна обеспечивать блокирование записей на время их корректировки, чтобы сделать их недоступными с других рабочих станций.
Использование файл-серверов предполагает, что вся обработка данных выполняется на рабочей станции, а файл-сервер лишь выполняет функции накопителя данных и средств доступа.
Двухуровневая клиент-серверная архитектура основана на использовании только сервера базы-данных (DB-сервера), когда клиентская часть содержит уровень представления данных, а на сервере находится база данных вместе с СУБД и прикладными программами.
DB-сервер отличается от файл-сервера тем, что в его оперативной памяти, помимо сетевой операционной системы, функционирует централизованная СУБД, которая обеспечивает совместное использование рабочими станциями базы данных, размещенной во внешней памяти этого DB-сервера.
DB-сервер дает возможность отказаться от пересылки по сети файлов данных целиком и передавать только ту выборку из базы данных, которая удовлетворяет запросу пользователя. При этом возможно разделение пользовательского приложения на две части: одна часть выполняется на сервере и связана с выборкой и агрегированием данных из базы данных, а вторая часть по представлению данных для анализа и принятия решения выполняется на клиентской машине. Таким образом, увеличивается общая производительность информационной системы в результате объединения вычислительных ресурсов сервера и клиентской рабочей станции.
Обращение к базе данных осуществляется на языке SQL, который фактически стал стандартом для реляционных баз данных. Отсюда сервер баз данных часто называют SQL-сервером, который поддерживается всеми реляционными СУБД: Oracle, Informix, MS SQL, ADABAS D, InterBase, SyBase и др. Клиентское приложение может быть реализовано на языке настольных СУБД (MS Access, FoxPro, Paradox, Clipper и др.). При этом взаимодействие клиентского приложения с SQL-сервером осуществляется через ODBC-драйвер (Open Data Base Connectivity), который обеспечивает возможность пересылки и преобразования данных из глобальной базы данных в структуру базы данных клиентского приложения. Применение этой технологии позволило разработчикам не заботиться о специфике работы с той или иной СУБД и делать свои системы переносимыми между базами данных. За время своего существования ODBC стал стандартом де-факто на алгоритм доступа к разнородным базам данных, и на сегодняшний день насчитывается более 160 прикладных систем, которые работают с источниками информации через драйверы ODBC.
Трехуровневая клиент-серверная архитектура позволяет помещать прикладные программы на отдельные серверы приложений, с которыми через API-интерфейс (Application Program Interface) устанавливается связь клиентских рабочих станций. Работа клиентской части приложения сводится к вызову необходимых функций сервера приложения, которые называются «сервисами». Прикладные программы в свою очередь обращаются к серверу базы данных с помощью SQL запросов. Такая организация позволяет еще более повысить производительность и эффективность КЭИС за счет:
• многократности повторного использования общих функций обработки данных в множестве клиентских приложений при существенной экономии системных ресурсов;
параллельности в работе сервера приложений и сервера базы данных, причем сервер приложений может быть менее мощным по сравнению с сервером базы данных;
• оптимизации доступа к базе данных через сервер приложений из клиентских мест путем диспетчеризации выполнения запросов в вычислительной сети;
• повышения скорости и надежности обработки данных в результате дублирования программного обеспечения на нескольких серверах приложений, которые могут заменять друг друга в сети в случае перегрузки или выхода из строя одного из них;
• переноса функций администрирования системы по проверке полномочий доступа пользователей с сервера базы данных на сервер приложений.
Многоуровневая архитектура «Клиент-сервер» создается для территориально-распределенных предприятий. Для нее в общем случае характерны отношения «многие ко многим» между клиентскими рабочими станциями и серверами приложений, между серверами приложений и серверами баз данных. Такая организация позволяет более рационально организовать информационные потоки между структурными подразделениями в процессе выполнения общих деловых процессов. Так, каждый сервер приложений, как правило, обслуживает потребности какой-либо одной функциональной подсистемы и сосредоточивается в головном для подсистемы структурном подразделении, например, сервер приложения по управлению сбытом - в отделе сбыта, сервер приложения по управлению снабжением - в отделе закупок и т.д. Естественно, что локальная сеть каждого из подразделений обеспечивает более быструю реакцию на запросы основного контингента пользователей из соответствующего подразделения. Интегрированная база данных находится на отдельном сервере, на котором обеспечиваются централизованное ведение и администрирование общих данных для всех приложений.
Выделение нескольких серверов баз данных особенно актуально для предприятий с филиальной структурой, когда в центральном офисе используется общая база данных, содержащая общую нормативно-справочную, планово-бюджетную информацию и консолидированную отчетность, а в территориально-удаленных филиалах поддерживается оперативная информация о деловых процессах. При обработке данных в филиалах для контроля используется плановая и нормативно-справочная информация из центральной базы данных, а в центральном офисе получение консолидированной отчетности сопряжено с обработкой оперативной информации филиалов.
Для сокращения объема передачи данных по каналам связи в распределенной информационной системе предлагается репликация данных, то есть тиражирование данных на взаимодействующих серверах баз данных с автоматическим поддержанием соответствия копий данных. При этом возможны следующие режимы репликации:
• синхронный режим, когда тиражируемые данные обновляются по мере возникновения необходимости одновременно на серверах баз данных во всех копиях. Требуемое быстродействие каналов для синхронного режима - единицы Мбит в секунду;
• асинхронный режим, когда тиражирование данных выполняется в строго определенные моменты времени, например каждый час работы информационной системы. Требуемое быстродействие каналов для асинхронного режима - единицы Кбит в секунду. Асинхронный режим может вызывать откладывание выполнения транзакций до момента обновления
данных.
Направление тиражирования между серверами баз данных
может быть:
• равноправным, т.е. в обоих направлениях;
• сверху-вниз типа «ведущий/ведомый», когда на серверах филиалов содержатся только некоторые подмножества данных центральной базы данных;
• снизу-вверх по консолидирующей схеме, когда при обновлении данных в филиалах в определенные моменты времени обновляется центральная база данных.
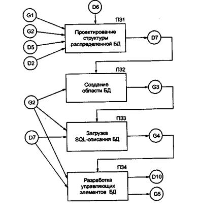
Рассмотрим технологическую сеть техно-рабочего проектирования трехуровневой клиент-серверной КЭИС (рис. 12.3).
1, Разработка общей структуры корпоративной информационной системы (П1)
2. Создание вычислительной сети (ВС) для КЭИС (П2)
3. Создание схемы базы данных (БД) (ПЗ)
4. Создание сервера БД КЭИС (П4)
5. Разработка серверов приложений (П5)
6. Разработка клиентских приложений на рабочих станциях (П6)

Рис. Технологическая сеть проектирования базы данных
в клиент-серверной среде:
D2 - описание выбранного сервера БД; D5 - описание выбранных программных
средств разработки КЭИС; D6 - описание функциональной структуры КЭИС;
D7 - структура базы данных; DIO - сопровождающая документация;
G1 - вычислительная сеть; G2 - СУБД; G3 - область базы данных;
G4 - SQL-описание БД; G5 - SQL-описание БД с управляющими элементами
Под рабочим потоком будем понимать совокупность информационного и материального потоков в цепочке операций делового процесса.
Система управления рабочими потоками (СУРП) - это программный комплекс, который оперативно связывает персонал из различных подразделений предприятия и программные приложения в общий деловой процесс, позволяя его автоматизировать и управлять им как единым целым. СУРП интегрирует по управлению все взаимодействующие элементы рабочего потока, переключает потоки между приложениями, управляет выбором исполнителей операций (как персонала, так и программ). С позиции проектирования ЭИС СУРП обеспечивает выстраивание цепочек автоматизированных рабочих мест, которые обмениваются между собой информацией по вычислительной сети через распределенную базу данных. С позиции многоуровневой клиент-серверной архитектуры СУРП - это управляющая (суперви-зорная) программа, которая регулирует множественное взаимодействие клиентов и серверов приложений и баз данных в длинных транзакциях (рис. 12.5). Таким образом, клиент обращается не напрямую к серверу приложений, а через СУРП, которая выбирает необходимое приложение в зависимости от конкретных событий в деловом процессе.
СУРП создаются на основе использования специального программного обеспечения для организации коллективной (групповой - workgroup) работы в локальных вычислительных сетях. В эту систему входят средства электронного обмена сообщениями и маршрутизации, которые позволяют организовывать непосредственный обмен результатами работы между участниками делового процесса, мониторинг выполнения делового процесса со стороны руководства предприятия, а также инициировать работу исполнителей по завершении выполнения автоматических процедур. Система управления рабочим потоком может быть реализована на основе специализированного программного обеспечения, например Staffware, Workroute, или встроена в контур интегрированной ЭИС, как в системах комплексной автоматизации R/3 и BAAN IY.