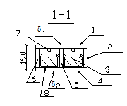
Панели

1- Обшивка (лист фанеры).
2- Поперечное деревянное ребро.
3- Продольное деревянное ребро.
Стеновые панели и нагели покрытий (перекрытия) внешне похожи.
а) стеновая панель.

1. Верхний лист обшивки.
2, 5. Продольные деревянные ребра.
3. Утеплитель.
4. Нижний лист обшивки.
мм.
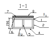
б) панель покрытия для теплых помещений.

6. Прижимные бруски с шагом 25 см.
7. Продухи.
8. Пароизоляция.
мм,
мм.
в) панель перекрытия.
Конструктивно аналогична (б)
мм.
г) панель перекрытия для холодных помещений.

6. Пароизоляция.
7. Утеплитель.
8. Гидроизоляционный ковер.
мм,
мм.
Панели предназначены для использования в качестве стенового заполнения (стеновые панели), настила (панель перекрытия) либо чердачного перекрытия (панель покрытия). Применяются в деревянных промышленных зданиях и деревянных жилых одноэтажных зданиях. Конструктивно выполнены из дощатого каркаса и фанерной обшивки на клею. Выпускаются длиной 6 м, в отдельных случаях 4,5 или 3 м, ширина 1 или 1,5 м во всех случаях. В некоторых случаях каркас может изготавливаться из алюминиевых сплавов, стеклопластиков, стальных профилей. Для обшивки могут применятся стеклопластики, ДВП, ДСП либо асбоцементные листы. В качестве утеплителя могут применяться также сотопласты либо пневматические элементы. Такие элементы обладают малым весом, высокой транспортабельностью, не сложным монтажом, но имеет повышенную стоимость по сравнению с чисто деревянными панелями. Их применение целесообразно в случае когда необходимо резко снизить вес ограждающего элемента либо большое значение имеет транспортно-монтажные расходы.
|
|
|
Панели классифицируют:
1. По назначению:
- Панели стеновые;
- Покрытия;
- Перекрытия.
2. По теплоизолирующей способности:
- Утепленные;
- Не утепленные.
3. По конструкции обшивки:
- однослойные;
- двух;
- трехслойные обшивки.
4. По светопрозрачности:
- Прозрачные;
- Непрозрачные.
5. По форме поверхности:
- Плоские;
- Криволинейные.
Выбор типа панели связан с технико-экономическим обоснованием и как правило решается в процессе конструирования объекта. Для защиты панелей от влаги может применятся ее оклейка рубероидом, а от огня оклейка алюминиевой фольгой. Крепление панелей к несущим конструкциям выполняется с помощью металлических деталей обеспечивающих плотное примыкание панелей не допускающих некоторые смещения. Статический расчет панели проводится как для плит свободно опертых по двум сторонам. Конструктивный расчет ведется, как для элементов коробчатого сечения.
Характеристиками приведенными к характеристикам фанеры (обшивки) являются:
|
|
|
Приведенная площадь
.

Приведенный момент инерции
.
Принятое сечение проверяется на прочность
.
Затем проверяются клеевые швы (при необходимости) далее верхняя обшивка проверяется на местный изгиб под действием массы стоящего человека

В последнюю очередь определяется прогиб панели от нормативной нагрузки.

Такие балки из-за жесткости клеевых швов работают как монолитные изгибаемые элементы. Они могут быть прямоугольного, двутаврового, коробчатого либо рельсового сечения. Высоту балки назначают в пределах
пролета.

Наиболее широкое применение в строительстве получили двух и односкатные балки для несущих конструкций покрытий пролетами 9¸18 м.

Расчет балки выполняется обычными методами строительной механики как для однопролетной шарнирно опертой балки, опасное сечение находится на расстоянии
. Его момент сопротивления
, где
0,85¸0,9 учитывает составность сечения.
В сечении определяется поперечная сила:

и проверяем выбранное сечение по нормальным напряжениям:
;
и в необходимых случаях проверяется прочность клеевого шва.
Жесткость балки также должна находится:

где
- коэффициент учитывающий переменность сечения.
4.3. Клееные балки армированные стальными стержнями
По конструкции внешние балки похожи на неармированные. Применяются когда нужно увеличить несущую способность балки, либо уменьшить ее деформативность без усиления сечения. Иногда применяются для экономии древесины.
Армирование выполняется аналогично армированию железобетонных конструкций. Используется такая же арматура классов А|| - A|V устанавливаемая в растянутой зоне либо при необходимости еще и в сжатой. Площадь арматуры принимается в пределах 3% площади сечения. Арматура укладывается в специальные пазы квадратного сечения со стороны равной диаметру стержня. В пазы укладывается арматура, заливается клей и производится запрессовка. Расчет такой балки сводится к расчету обычной деревянной балки где площадь арматуры приводится к площади сечения балки, дальше выполняется проверка прочности балки на изгиб и проверка жесткости балки по деформации.






