Фермы
Пространственные крепления плоских деревянных конструкций.
Для конструкций типа балок, ферм и прочие кроме нагрузок совпадающих с вертикальной плоскостью балки могут действовать нагрузки в горизонтальной плоскости (ветровые нагрузки, тормозные – крановые и т. п.). Для их восприятия плоские конструкции закрепляют в горизонтальной плоскости специальными связями, они должны обеспечить:
1. Устойчивость сжатого и растянутого поясов;
2. Устойчивость всей конструкции;
3. Передачу горизонтальных усилий на другие несущие элементы.
Как и в стальных каркасах зданий в деревянных каркасах эту роль выполняют:
1) Продольные и ветровые фермы;
2) Плоскости скатов кровли;
3) Горизонтальные ветровые фермы в плоскости нижних поясов;
4) Вертикальные плоскости стоек;
5) Вертикальные плоскости торцевых стен.
Фермы – это балочная конструкция у которой сплошная стенка заменена решеткой из стержней, они соединяются шарнирно в узлах, нагрузка на ферму обычно должна также прикладываться в узлах. Фермы принято классифицировать:
|
|
|
Сегментная.

Наиболее экономичный тип, так как очертания пояса совпадает с очертаниями эпюры изгибающих моментов. При этом продольные усилия в поясах получаются постоянными. Основной недостаток не технологичность.
Треугольная.

Используется в легких кровлях. Недостаток – очень неэкономичны.
Трапециевидные.

Используют при мягких рулонных кровлях.
Многоугольные.

Применяются если необходимо разделение на транспортабельные марки (большие пролеты).
Прямоугольные.

Наиболее распространенный технологический вид.
При проектировании деревянных конструкций, широкое распространение получили металлодеревянные фермы Деревягин. В таких фермах растянутые элементы выполнены из металла (профили) либо арматура, а сжатые элементы (дерево). Между собой элементы соединяются тяжами либо на болтах.

Расчет ферм выполняется в стандартной последовательности:
Назначают генеральные размеры. Пролет определяется архитектурно-строительным решением и кратен 3 или 6 м. высота определяется по эмпирическим формулам из условия минимума веса. Высота на опоре принимается меньше с учетом требуемого уклона кровли. По СНиПу для деревянных ферм необходимо предусматривать строительный подъем величиной 1/200 пролета.
Проводят сбор нагрузок на ферму.
Разбивают пояса на панели и выбирают тип решетки.
Определяют усилия в элементах одним из известных методов (вырезание узлов и т.д.).
Подбирается сечение элементов на основе расчетов по первой группе предельных состояний (прочность, устойчивость) при этом элементы рассчитывают как центрально сжатый либо растянутый. Далее проверяется прочность узлов и выполняется проверка жесткости фермы.
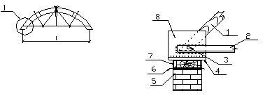
|
|
|

1- Деревянный элемент верхнего пояса.
2- Стальной элемент нижнего пояса из û ë.
3- Стяжной болт.
4- Опорный лист (стальной).
5- Стенка.
6- Гидроизоляция.
7- Мауэрлат.
8- Щека (стальной лист).
Довольно часто верхний пояс выполняют гнутым из одного элемента в этом случае получается некоторое предварительное напряжение повышающее жесткость фермы которое обычно не учитывается в расчетах. Изгиб выполняют в нагретом состоянии, элемент при этом должен быть выполнен из древесины первого сорта.
Если верхний пояс выполнен из отдельных прямолинейных элементов, то расчет выполняется, как для обычной фермы. В случае если верхний пояс криволинейный (выполнен из одного гнутого элемента) то его расчет усложняется.


Из-за кривизны верхнего пояса в нем возникает дополнительный изгибающий момент равный по величине
. Этот момент в случае большой кривизны пояса может достигать значительно большой величины, для его снижения рекомендуется в таких фермах панели покрытия опирать не в узлах. Дальнейший расчет ведется как для обычной фермы с прямолинейными элементами, при этом верхний пояс делится на условные панели между узлами и рассчитывается как прямолинейный сжато-изгибаемый (сжато-растянутый) деревянный элемент. Нижний металлический пояс и решетка рассчитываются и конструируются по нормам для стальных конструкций.