Плоские распорные конструкции
К ним относятся арки и рамы имеющие горизонтальный распор который воспринимается фундаментом либо затяжкой. Как правило их используют в тех случаях когда нужно максимально освободить внутреннее пространство сооружения.
Арки бывают сплошного кругового, стрельчатого, треугольного виды и с криволинейных или прямоугольных элементов, а также решетчатые. Затяжки выполняются из профильной или круговой стали и подвешиваются к аркам или рамам на тяжах.
Преимущества таких конструкций перед фермами заключается в отсутствии решетки состоящей из многих элементов и снижение веса всей конструкции.


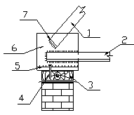
1- Элемент арки.
2- Элемент затяжки (уголок, арматура).
3- Мауэрлат (опорный элемент).
4- Анкерный болт.
5- Опорная пластина.
6- Щека.
7- Стальная торцевая пластина.
Такие арки конструируют пролетом от 12 до 60 м при стреле подъема:
.
Расчет выполняется обычными методами строительной механики. Далее подбирается сечение
, где
,
.
Проверяется прочность и жесткость арки.






