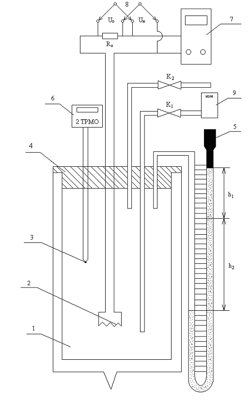
Экспериментальный стенд (рис. 2) включает термоизолированную емкость 1, внутри которой размещен электронагреватель 2 и термоэлектрический преобразователь (хромель-копелевая термопара) 3. Давление внутри емкости измеряется водяным U – образным дифференциальным манометром 5. Электропитание к нагревателю подводится от источника питания 7. Последовательно с нагревателем в цепь электропитания включено образцовое сопротивление Rо, падение напряжения на котором позволяет определить электрическую мощность, подводимую к нагревателю 2. Падение напряжения на нагревателе Uн и на образцовом сопротивлении Uо измеряется мультиметром, подключенным к разъемам 8.
При подготовке стенда к работе U – образный дифманометр заливают дистилированной водой примерно до середины и закрывают открытую трубку резиновой пробкой, закрывают краны К1 и К2, измеряют высоту уровня h1 в закрытом колене дифманометра. Включают измеритель температуры, измеряют температуру t1, включают источник питания, подключают мультиметр для измерения Uн. Включают тумблер Uн и устанавливают ручкой регулировки источника питания значение Uн для первого опыта (в пределах 3…5 В).
После достижения стационарного режима (т.е. постоянного значения температуры t1) снимают показания измерителя температуры t2 и дифманометра h2.

Рис. 2
Повторяют опыт для нескольких значений температуры t1, устанавливая новые значения напряжения Uн.
Между опытами открывают краны К1 и К2 и охлаждают емкость продувкой воздуха от компрессора 9.






