Схема установки представлена на рис. 3.

Рис. 3
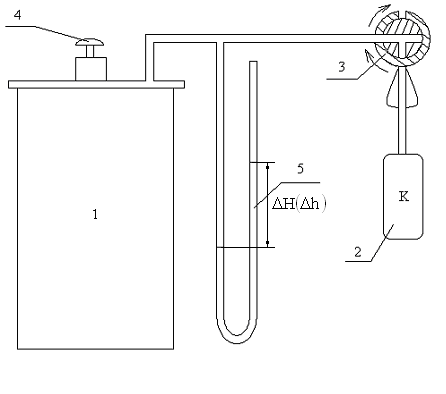
В баллон 1 перед опытом компрессором 2 через трехходовой кран 3 закачивается воздух. Давление в баллоне измеряется U – образным дифманометром 5. После выдержки на протяжении 2…3 минут для выравнивания температур сжатого воздуха и окружающей среды ручкой крана 3 в положении «Регулировка уровня» настраивается начальное давление опыта р1 ≈ 2 кПа (200 мм водного столба). Отсчитываются уровни Н1 и Н2 в коленах дифманометра.
Далее через клапан сброса давления 4 воздух из баллона частично выпускается в атмосферу. Спустя 2…3 минуты, после выравнивания температур, измеряются уровни h1 и h2 в коленах дифманометра.
Показатель адиабаты k определяется из соотношения
. (7)
Рассчитывается среднее значение kср для n опытов:
.
Данные измерений и расчетов заносятся в форму 3.






