Принцип действия основан на зависимости интегральной энергетической яркости тела в широком спектральном интервале от температуры.
Принято считать пирометр радиационным (полного излучения), если в нем используется не менее 90 % всего излучения, поступающего от измеряемого объекта.
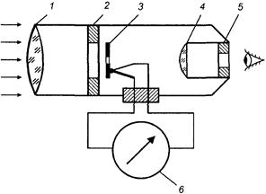
Радиационный пирометр (рис. 77) — это бесконтактный измерительный первичный преобразователь, реагирующий на излучение нагретого тела преимущественно в инфракрасной области спектра с динами волн от 0,75 до 1000 мкм. Оптические линзы и зеркальная система, чувствительные в инфракрасной области спектра, используются, чтобы сфокусировать излучение на миниатюрную термобатарею, состоящую из нескольких последовательно соединенных термоэлектрических преобразователей, или резистивный преобразователь. Радиационные пирометры применяются для измерения не только высоких температур (вплоть до 3500 °С), но и для низких (до —50 °С).

Рис. 77. Радиационный пирометр:
/ — объектив; 2, 5— диафрагмы; 3 — термобатарея; 4 — окуляр; 6 — измерительный прибор






