Для оценки поведения металлов и сплавов в условиях ползучести проводят различные испытания. Обычно в этих испытаниях реализуются условия высокотемпературной и диффузионной ползучести, так как их ведут при температурах выше 0,4 – 0,6 Т пл, соответствующих рабочим температурам жаропрочных металлических материалов.
Основной целью стандартных испытаний на ползучесть при растяжении (ГОСТ 3248 – 81) является определение предела ползучести материала. Предел ползучести – это условное растягивающее напряжение, при котором скорость или деформация ползучести за определенное время достигают заданной величины. В случае высокотемпературной ползучести имеется в виду скорость на установившейся стадии.
Если допуск дается по скорости ползучести, то предел ползучести обозначается буквой σ с двумя индексами – нижний соответствует заданной v n, %/ч, а верхний – температуре испытания, °C. Например, σ
- это предел ползучести при 1100°C и v n=1 · 10-4 %/ч. Если задается относительное удлинение и время его достижения, то в обозначение предела ползучести вводят три индекса: один верхний соответствует температуре испытания, а два нижних – деформации и времени. Например σ
- предел ползучести при 800°C, когда δ= 1 % достигается за 1000 ч.
Испытания проводят на образцах с круглым или прямоугольным сечением рабочей части. Цилиндрический образец с резьбовыми головками имеет диаметр 10 и расчетную длину 100 или 200 мм, плоский – ширину 15 и расчетную длину 100 мм. Допускается использование других образцов с диаметром d 0 ≥ 5 мм и расчетной длиной l 0 = 5 d 0 или 10 d 0.
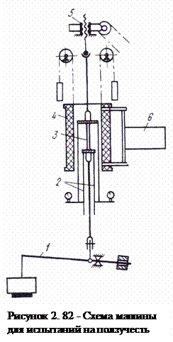
Основные характеристики машин для испытаний на ползучесть и длительную прочность регламентирует ГОСТ 28845 – 90. Испытательная машина должна состоять из следующих основных блоков: нагружающего устройства, нагревательной печи с терморегулятором, приборов для измерения температуры и деформации. Поскольку для определения предела ползучести при одной температуре требуется несколько образцов и испытания продолжаются в течение сотен и тысяч часов, нагружающие устройства конструируют таким образом, чтобы на одной установке можно было одновременно испытывать несколько образцов. Нагрузка на образец обычно подается через рычажную систему, либо непосредственно (подвешиванием груза).
На рис. 2.82 показана принципиальная схема машины для испытаний на ползучесть. Нагружение образца 3 производится рычажной системой 1, соединенной с нижним захватом. Верхний захват связан с механизмом 5, обеспечивающим перемещение образца вдоль вертикальной оси печи.
Во многих машинах во время испытания постоянной поддерживается нагрузка, а не напряжение, которое со временем может несколько повышаться из-за сужения образца. Для обеспечения постоянства напряжения необходимо использовать специальные устройства, автоматически уменьшающие нагрузку по мере удлинения образца.
Поскольку характеристики ползучести очень чувствительны к температуре, должны быть приняты все меры для обеспечения строгого ее постоянства во всех точках расчетной длины образца в течение всего испытания. На схеме (рис. 2.82) образец нагревается в электропечи 4, которая снабжена терморегулятором 6, обеспечивающим достаточно точное поддержание температуры. Для измерения температуры на образце устанавливают две (при l 0 ≤100 мм) или три (при l 0> 100 мм) термопары, горячие спаи которых соприкасаются с поверхностью образца. По стандарту отклонения от заданной температуры в процессе испытания не должны превышать ± (3 – 6)°C.

При определении предела ползучести допуск на удлинение составляет от 0,1 до 1 % за 100 – 1000 ч. В некоторых случаях, например для жаропрочных материалов, используемых в энергомашиностроении, это время может быть больше, вплоть до 100000 ч. Задаваемая скорость ползучести в большинстве случаев колеблется в пределах 10-3 – 10-6 в %/ ч, чаще всего 10-4 – 10-5 %/ ч.
Кривая ползучести при высокой температуре имеет вид, подобный OA’BCD на рис. 2.80. Для расчета предела ползучести испытывают как минимум четыре образца при разных нагрузках (напряжениях). Для сокращения времени испытаний эти напряжения выбирают заведомо больше предела ползучести. Испытания прекращают на стадии установившейся ползучести. Исходя из уравнения (2.38), эта зависимость должна быть линейной. Продолжая прямую, построенную по экспериментальным точкам при относительно высоких σ (до заданного значения v п.уст.), определяют предел ползучести (см. рис. 2.83, б).

Рисунок 2. 83 - Схема определения предела ползучести: а – кривые ползучести при разных напряжениях; б – зависимость скорости установившейся ползучести от напряжения
Если допуск задается по величине удлинения за определенное время, то по первичным кривым ползучести строят зависимость времени достижения заданного значения δ от напряжения и по ней определяют предел ползучести.
Лекция разработана «___»________200__г.
_______________________Фигуровский Д.К.






