Рассматривая свойства и режимы электроприводов постоянного тока, мы интересовались лишь общими соотношениями и главными соразмерностями, не обращая внимания на реализуемость тех или иных режимов, на технические ограничения, играющие решающую роль в любых практических задачах.
Далее мы рассмотрим кратко определение допустимых значений основных координат - тока, момента, скорости.
В основе всех этих оценок лежат номинальные данные двигателя, указываемые обычно на заводском шильдике или в паспорте двигателя.
К таким данным для двигателей, предназначенных для работы в продолжительном режиме, относятся номинальные напряжение Uн, В; ток Iн, А; мощность на валу Рн, кВт; частота вращения nн, об/мин (
1/c); КПД hн; напряжение возбуждения Uвн, В; ток возбуждения Iвн (для двигателей независимого возбуждения), момент инерции Jн, кг×м2, исполнение двигателя IP. Другие сведения обычно в паспорте не приводятся.
Номинальные данные соответствуют одной точке в плоскости
- М с допустимыми и благоприятными значениями всех основных величин в оговоренном (в нашем случае, продолжительном) режиме, хотя в действительности электропривод работает в любых точках и совсем не при номинальных данных.
|
|
|
Номинальные данные используются для построения основных - естественных - характеристик двигателя, служащих, как отмечалось ранее, основой для получения искусственных характеристик при регулировании координат.
В электроприводах с двигателями независимого возбуждения все механические и электромеханические характеристики - прямые линии и для их построения достаточно двух точек, например, точки идеального холостого хода (М = 0, w = w0) и номинального режима (М = Мн и w = wн). Две из указанных координат (Мн и
) должны быть определены по номинальным данным, причем
и Мн = kФнIн, т.е. нужно знать величину kФн. Для ее определения удобно воспользоваться уравнением (3.4) с номинальными величинами, откуда получим:
; (3.13)
здесь неизвестно сопротивление якорной цепи Rя - обмотки якоря, щеточного контакта, дополнительных обмоток, если они используются.
Лучше всего иметь надежную оценку Rя, однако часто это связано с трудностями. Тогда прибегают к грубой (иногда - очень грубой) оценке, построенной на предположении, что половина номинальных потерь DРн - это потери в меди обмотки:
0,5 DРн» Iн2Rя,
откуда
. (3.14)
Номинальный электромагнитный момент Мн, определенный как
Мн = kФнIн,
больше номинального момента на валу

на величину DМ, что следует иметь в виду при расчетах.
Естественные характеристики двигателей при питании от источника тока строятся на основании изложенных соображений по определению параметра Rя и оценке Мн.
|
|
|
Естественные характеристики двигателей последовательного возбуждения, как отмечалось, строятся с использованием универсальных характеристик в относительных величинах.
Относительные величины часто удобны и в обращении с двигателями постоянного тока независимого возбуждения.
Так, приняв за базовые величины Uн, Iн, w н,
и
, получим после простых преобразований:

и
,
где все относительные величины определены как
.
Тогда, приняв U* º Ф* = 1, получим:
w* = 1 - I*R*
или при I* = 1 (при номинальном токе)
w* = 1 - R *. (3.15)
Последнее соотношение позволяет очень просто строить характеристику при заданном R или, наоборот, определять R, если известна характеристика.
Отметим здесь, что обычно относительное сопротивление собственно якорной цепи очень невелико: R*я = 0,02 - 0,05, и жесткость естественной характеристики (R = Rя) весьма высокая:
b ест = (-50) - (-20).
Рассмотрим теперь допустимые (безопасные) пределы изменения основных координат.
Напряжение нормально ограничивается номинальным значением. В реверсивных электроприводах допускается на время реверса двукратное превышение номинального значения.
Магнитный поток также ограничен номинальной величиной, поскольку при ее длительном превышении ток возбуждения, превышающий номинальный, может вызвать недопустимый перегрев обмоток. Кратковременное (до минуты) двукратное увеличение тока возбуждения, используемое, например, в электроприводах с питанием якорной цепи от источника тока, допустимо, однако вследствие насыщения магнитный поток при этом увеличивается незначительно. При форсировках - ускоренном нарастании магнитного потока - допустимо кратковременное 2-3 - кратное превышение номинального напряжения возбуждения.
Скорость по условиям механической прочности нормально ограничена номинальным значением с небольшим 20-30% допустимым превышением; специальные двигатели, предназначенные для работы с ослабленным полем, допускают 3-4 -кратное превышение номинальной скорости.
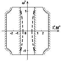
Ток якоря - координата, определяющая надежность работы электропривода. В продолжительном режиме ток на всех скоростях не должен превышать номинального значения при независимом охлаждении двигателя - сплошные линии со штриховкой на рис. 3.12. В двигателях, охлаждаемых собственным вентилятором, в продолжительном режиме необходимо снижать ток на 30-40% при низких скоростях - пунктир на рис. 3.12 во избежание недопустимого перегрева. Кратковременные (секунды) перегрузки по току ограничиваются условиями коммутации машины; допустимые перегрузки обычно не превышают (2-3) Iн - линии с двойной штриховкой на рис. 3.12. Из изложенного следует недопустимость пуска электропривода постоянного тока (кроме микроприводов) прямым включением на номинальное напряжение.

Рис. 3.12. Область допустимых нагрузок электропривода постоянного тока
Момент при полном потоке имеет те же ограничения, что и ток якоря.
Таким образом, зона допустимых значений
и М сравнительно невелика, и рис. 3.12 даёт о ней некоторое представление: внутренняя область относится к продолжительному режиму, внешняя - к кратковременным (секунды) перегрузкам.






