Подготовительные и вспомогательные процессы должны обеспечивать качественное и безопасное производство работ и в зависимости от местных условий и типа возводимого земляного сооружения включают разбивку земляных сооружений, водоотлив и понижение уровня грунтовых вод, временное крепление стенок выемок, искусственное закрепление грунтов.
1. Разбивка земляных сооружений. Разбивка сооружений состоит в установлении и закреплении их положения на местности. Разбивку осуществляют с помощью геодезических инструментов и различных измерительных приспособлений.
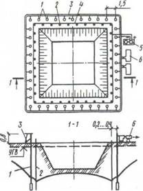
Разбивку котлованов начинают с выноса и закрепления на местности (в соответствии с проектом) створными знаками основных рабочих осей, в качестве которых обычно принимают главные оси здания /—/и //—// (рис.5.2, а). После этого вокруг будущего котлована на расстоянии 2... 3 м от его бровки параллельно основным разбивочным осям устанавливают обноску (рис.5.2, б).

Рис. 5.2.Схема разбивки котлованов и траншей:
а —схема разбивки котлована; б —схема обноски; в —элементы обноски разового использования; г—инвентарная металлическая обноска; д—схема разбивки траншеи; / — /и // — // — главные оси здания; /// — /// — оси стен здания; /—границы котлована; 2—обноска; 3 — проволока (причалка); 4—отвесы; 5—доска; 6 — гвоздь; 7 — стойка
Обноска разового использования (рис. в) состоит из забитых в грунт металлических стоек или вкопанных деревянных столбов и прикрепленных к ним досок. Доска должна быть толщиной не менее 40 мм, иметь обрезную грань, обращенную кверху, и опираться не менее чем на три столбика. Более совершенной является инвентарная металлическая обноска (рис. г). Для пропуска транспортных средств в обноске должны быть разрывы. При значительном уклоне местности обноски делают с уступами.
На обноску переносят основные разбивочные оси и, начиная от них, размечают все остальные оси здания. Все оси закрепляют на обноске гвоздями или пропилами и нумеруют. На металлической обноске оси закрепляют краской. Размеры котлована поверху, понизу и другие характерные его точки отмечают хорошо видимыми колышками или вехами. После возведения подземной части здания основные разбивочные оси переносят на его цоколь.
Для линейно протяженных сооружений (например, для коллектора) устраивают только поперечные обноски, которые располагают на прямых участках через 50 м, на закруглениях — через 20 м (рис. д). Обноску устраивают также на всех пикетах и точках перелома профиля.
2. Водоотлив и понижение уровня грунтовых вод. При устройстве выемок, расположенных ниже уровня грунтовых вод, необходимо: осушать водонасыщенный грунт и обеспечивать таким образом возможность его разработки и устройства выемок; предотвращать попадание грунтовой воды в котлованы, траншеи и выработки в период выполнения в них строительных работ.
Эффективным технологическим приемом решения таких задач является откачка грунтовой воды.
Выемки (котлованы и траншеи) при небольшом притоке грунтовых вод разрабатывают с применением открытого водоотлива, а если приток значителен и толщина водонасыщенного слоя, подлежащая разработке, большая, то до начала производства работ уровень грунтовых вод искусственно понижают с использованием различных способов закрытого, т. е. грунтового водоотлива, называемого еще строительным водопонижением.
Открытый водоотлив предусматривает откачку протекающей воды непосредственно из котлованов или траншей. Приток воды к котловану (дебит) рассчитывают по формулам установившегося движения грунтовых вод.
При открытом водоотливе грунтовая вода, просачиваясь через откосы и дно котлована, поступает в водосборные канавы и по ним в приямки (зумпфы), откуда ее откачивают насосами (рис. 5.3). Водосборные канавы устраивают шириной по дну 0,3...0,6 и глубиной 1...2 м с уклоном 0,01...0,02 в сторону приямков. Приямки в устойчивых грунтах крепят деревянным срубом из бревен (без дна), а в оплывающих —шпунтовой стенкой.

Рис. 5.3. Открытый водоотлив из котлована (а) и траншеи (б):
/—дренажная канава; 2— приямок (зумпф); 3—пониженный уровень грунтовых вод; 4— дренажная пригрузка; 5 — насос; 6—шпунтовое крепление; 7 — инвентарные распорки; 8— всасывающий рукав с сеткой (фильтром); Н—высота всасывания до 5..6 м
Открытый водоотлив, являясь простым и доступным способом борьбы с грунтовыми водами, имеет серьезный технологический недостаток. Восходящие потоки грунтовой воды, протекающей через дно и стенки котлованов и траншей, разжижают грунт и выносят из него на поверхность мелкие частицы. Явление такого вымывания и выноса мелких частиц называют суффозией грунта. В результате суффозии несущая способность грунта в основаниях может снизиться. Поэтому на практике во многих случаях чаще применяют грунтовый водоотлив, исключающий просачивание воды через откосы и дно котлованов и траншей.
Грунтовый водоотлив обеспечивает снижение УГВ ниже дна будущей выемки. УГВ понижается благодаря непрерывной откачки воды водопонизительными установками из системы трубчатых колодцев и скважин, расположенных вокруг котлована или вдоль траншеи.
Для искусственного понижения уровня грунтовых вод разработан ряд- эффективных способов, основными из которых являются иглофильтровый, вакуумный и элекфоосмотический.

Рис. 5.4. Схема иглофильтрового способа понижения уровня грунтовых вод: а —для котлована при одноярусном расположении иглофильтров; 6 —то же, при двухъярусном; в —для траншеи; г —схема работы фильтрующего звена при погружении в грунт и в процессе откачки воды; 1 —насосы; 2 — кольцевой коллектор; 3 —депрессионная кривая; 4 —фильтрующее звено; 5—фильтрационная сетка; 6—внутренняя труба; 7 — наружная труба; 8 — кольцевой клапан; 9 — гнездо кольцевого клапана; 10— шаровой клапан; 11 —ограничитель
Иглофилыпровый способ искусственного понижения грунтовых вод реализуется с использованием иглофильтровых установок, состоящих из стальных труб с фильтрующим звеном в нижней части, водосборного коллектора и самовсасывающего вихревого насоса с электродвигателем.
Стальные трубы погружают в обводненный грунт по периметру котлована или вдоль траншеи.
Фильтрующее звено состоит из наружной перфорированной и внутренней глухой трубы. Наружная труба внизу имеет наконечник с шаровым и кольцевым клапанами. На поверхности земли иглофильтры присоединяют водосборным коллектором к насосной установке (обеспеченной резервными насосами). При работе насосов уровень воды в иглофильтрах понижается и из-за дренирующих свойств грунта, он понижается и в окружающих грунтовых слоях, образуя новую границу уровня грунтовых вод. Иглофильтры погружают в грунт через буровые скважины или путем нагнетания в трубу иглофильтра воды под давлением до 0,3 МПа (гидравлическое погружение). Поступая к наконечнику, вода опускает шаровой клапан, а кольцевой клапан, отжимаемый при этом кверху, закрывает зазор между внутренней и наружной трубами. Выходя из наконечника под давлением, струя воды размывает грунт и обеспечивает погружение иглофильтра. Когда вода всасывается из грунта через фильтровое звено, клапаны занимают обратное положение.
Применение иглофильтровых установок наиболее эффективно в чистых песках и песчано-гравелистых грунтах. Наибольшее понижение уровня грунтовых вод, достигаемое в средних условиях одним ярусом иглофильтров, составляет около 5 м. При большей глубине понижения применяют двухъярусные установки.

Рис. 5.3. Схема вакуумной установки:
а—вакуумная установка; б—схема действия эжекторного иглофильтра; /—центробежный насос низкого давления; 2—циркуляционный резервуар; 3—сборный лоток; 4-—напорный насос; 5 —напорный рукав; 6 — эжекторный иглофильтр; 7— напорная вода: 8—сопло; 9 — всасываемая вода; 10 — обратный клапан; 11— фильтровая сетка
Вакуумный способ водопонижения реализуют применением вакуумных водопонизительных установок. Эти установки используют для понижения уровня грунтовых вод в мелкозернистых грунтах (мелкозернистые и пылеватые пески, супеси, илистые и лёссовые грунты с коэффициентом фильтрации 0,02... 1 м/сут), в которых применять легкие иглофильтровые установки нецелесообразно. При работе вакуумных водопонизительных установок вакуум возникает в зоне эжекторного иглофильтра (рис. 5.3).
Фильтровое звено эжекторного иглофильтра устроено по принципу легкого иглофильтра, а надфильтровое звено состоит из наружной и внутренней труб с эжекторной насадкой. Рабочую воду под давлением 750...800 кПа подают в кольцевое пространство между внутренней и наружной трубами, и через эжекторную насадку она устремляется вверх по внутренней трубе. В результате резкого изменения скорости движения рабочей воды в насадке создается разрежение и тем самым обеспечивается подсос грунтовой воды. Грунтовая вода смешивается с рабочей и направляется в циркуляционный резервуар, из которого избыток воды (за счет поступления грунтовой) откачивается низконапорным насосом или сливается самотеком.
Явление электроосмоса используют для расширения области применения иглофильтровых установок в грунтах с коэффициентом фильтрации менее 0,05 м/сут. В этом случае наряду с иглофильтрами в грунт на расстоянии 0,5... 1 м от иглофильтров в сторону котлована погружают стальные трубы или стержни (рис. 5.4). Иглофильтры подключают к отрицательному (катод), а трубы или стержни — к положительному полюсу источника постоянного тока (анод).
|
Электроды размещают друг относительно друга в шахматном порядке. Шаг, или расстояние анодов и катодов в своем ряду, одинаков—около 0,75... 1,5 м. Аноды и катоды погружают на одну и ту же глубину. В качестве источника электропитания применяют сварочные агрегаты или передвижные преобразователи. Мощность генератора постоянного тока определяют исходя из того, что на 1 м2 площади электроосмотической завесы необходима сила тока 0,5... 1 А, напряжение 30... 60 В. Под действием электрического тока вода, содержащаяся в порах грунта, освобождается и перемещается в сторону иглофильтров. За счет движения этой воды коэффициент фильтрации грунта увеличивается в 5...25 раз.
Рис.5.4. Схема водопонижения с использованием электроосмоса (размеры в м):
/ —иглофильтр (катод); 2 —труба (анод); 3 — коллектор; 4—токопровод; 5—генератор постоянного тока; 6—насос
3. Временное крепление стенок выемок. При разработке выемок в водонасыщенных грунтах или в стесненных условиях, когда при этом невозможно обеспечить требуемое заложение откосов, вертикальные стенки закрепляют специальными временными креплениями. Временная крепь может быть выполнена в виде деревянного или металлического шпунта, деревянных щитов с опорными стойками, щитов с распорными рамками и других конструкций (рис. 5.5).
Шпунтовое ограждение — наиболее дорогой из существующих способов. Применяют при разработке выемок в водонасыщенных грунтах вблизи существующих зданий и сооружений. Шпунт забивают до разработки выемок, чем обеспечивают устойчивое и естественное состояние грунта за ее пределами.
Крепление консольного типа состоит из стоек-свай, защемленных нижней частью в грунте глубже дна выемки. Они служат опорами для щитов (досок, брусьев), непосредственно воспринимающих давление грунта. Крепление консольного типа целесообразно при глубине выемки до 5 м.
Крепление распорного (горизонтально-рамного) типа — наиболее простое в исполнении, его применяют при устройстве траншей глубиной до 4 м в сухих или маловлажных грунтах. Крепление состоит из стоек, горизонтальных досок или дощатых (сплошных и несплошных) щитов и распорок, прижимающих доски или щиты к стенкам траншеи.
|
Рис. 5.5. Схемы временного крепления вертикальных стенок выемок (размеры в м): а—шпунтовое ограждение; 6—консольное; в—консольно-распорное; г—распорное (горизонтально-рамное); д—подкосное; е—инвентарная трубчатая распорная рама; I—анкерная свая; 2—оттяжка; 3—маячная свая (опорная стойка); 4—направляющая; 5—шпунтовое ограждение; 6 —шиты (доски); 7—стойка распорной рамы; 8 — распорка; 9 — наружная труба; 10— внутренняя труба; //—поворотная муфта; 12—опорная часть распорки
Наиболее эффективны инвентарные распорные рамы из трубчатых стоек и распорок ввиду их малой массы, легкого монтажа и демонтажа (рис. 5.5, е). Металлические трубчатые стойки по высоте имеют отверстия для крепления распорок. Распорка телескопического типа состоит из наружной и внутренней труб, поворотной муфты и опорных частей. В зависимости от ширины траншеи расстояние между стойками устанавливают путем выдвижения внутренней трубы из наружной и фиксируют болтом, вставляемым в отверстия труб. Полное прижатие щитов к стенкам выемки осуществляют поворотом муфты с винтовой нарезкой.
При отрывке широких котлованов может применяться подкосное крепление вертикальных стенок. Оно состоит из щитов или досок, прижатых к грунту стойками, раскрепленными подкосами и упорами. Подобное крепление используют ограниченно, так как подкосы и упоры, расположенные в котловане, усложняют производство работ.
4. Искусственное закрепление грунтов. Искусственное закрепление грунтов представляет собой совокупность воздействий, в результате которых повышается прочность грунта; он становится неразмываемым, а в некоторых случаях и водонепроницаемым.
Закрепление грунтов применяют при создании вокруг разрабатываемых выемок водонепроницаемых завес или повышения несущей способности грунтовых оснований. В зависимости от физико-механических свойств грунта, его состояния, требуемой степени и назначения закрепления применяют замораживание, цементацию, битумизацию, химический, термический, электрический, электрохимический и др. способы закрепление грунтов.
Рис. 5.6. Схема искусственного замораживания грунтов (размеры в м): 1—охлаждающая игла; 2—замораживающая наружная труба; 3 — питающая труба; 4 — патрубок для подсоединения к холодильной установке; 5 — замороженный грунт; 6—талый грунт
Замораживание грунтов применяют в сильно водонасыщенных грунтах (плывунах) при разработке глубоких выемок. Для этого по периметру котлована погружают замораживающие колонки из труб, соединенных между собой трубопроводом, по которому нагнетают специальную жидкость — рассол (растворы солей с низкой температурой замерзания), охлажденный холодильной установкой до —20... —25°С (рис. 5.8). Рассол в холодильной установке охлаждают так называемыми хладоагентами — аммиак, реже углекислота (диоксид углерода).
Охлаждающие иглы состоят из наружных труб, закрытых и заостренных снизу, и внутренних, вставленных в них коаксиально и открытых снизу. Рассол поступает во внутреннюю трубу, а в нижней части колонки переходит в наружную трубу, по которой поднимается вверх, после чего направляется к следующей колонке. Окружающий грунт замерзает концентрическими цилиндрами с постепенно увеличивающимися диаметрами. Эти цилиндры смерзаются в сплошную стенку мерзлого грунта, которая выполняет функцию конструкции ограждения временной выемки. Расстояние между колонками зависит от гидрогеологических и температурных условий производства работ, глубины выемки и назначается в среднем от 1,5 до 3
Цементация и битумизация заключаются в инъецирований соответственно цементного раствора или разогретых битумов. Их применяют для пористых грунтов с высоким коэффициентом фильтрации, а также трещиноватых скальных пород.
Химическим способом закрепляют песчаные и лессовые грунты посредством нагнетания в них через инъекторы химических растворов. Химический способ может быть двух- и однорастворный.
|
Рис. 5.7. Схема установки для химического закрепления грунтов:
а —установка; 6 —инъектор; / —распределительный напорный коллектор; 2 — насос; 3—емкость для раствора; 4 — инъектор; 5 — массив закрепленного грунта; 6—слабый грунт; 7 — прочный подстилающий грунт.
Двухрастворное закрепление заключается в последовательном нагнетании в грунт сначала водного раствора силиката натрия Na2SiO3, а затем хлористого кальция СаСl2. Растворы вступают в реакцию и образуют гель кремниевой кислоты п SiO2 x mН2О, который обволакивает зерна грунта и, твердея, связывает их в монолит. Этот способ применяют в достаточно хорошо дренирующих грунтах (коэффициент фильтрации >2 м/сут). При этом прочность грунта достигает 1,5...3 МПа.
Однорастворное закрепление (смесь силиката натрия и отвердителя) применяют для слабодренирующих грунтов с коэффициентом фильтрации менее 0,3 м/сут. Прочность закрепленного грунта составляет 0,3... 0,6 МПа.
Раствор при химическом закреплении нагнетают специальными трубами —инъекторами (рис. 5.7).
Термическое закрепление применяют для лёссовых грунтов. Оно реализуется в результате обжига раскаленными газами, нагнетаемыми через скважину в поры грунта. Газы образуются при сжигании жидкого или газообразного топлива, подаваемого в толщу грунта вместе с воздухом через жаропрочные трубы в заранее пробуренную скважину.
Электрическим способом закрепляют влажные глинистые грунты. Заключается он в использовании эффекта электроосмоса, для чего через грунт пропускают постоянный электрический ток с напряженностью поля 0,5... 1 В/см и плотностью 1...5 А/м2. При этом глина осушается, сильно уплотняется и теряет способность к пучению.
Электрохимический способ отличается от предыдущего тем, что одновременно с электрическим током в грунт вводят через трубу, являющуюся катодом и служащую инъектором, растворы химических добавок, увеличивающие проводимость тока (силикат натрия, хлористый кальций, хлористое железо и др.)- Благодаря этому интенсивность процесса закрепления грунта возрастает.






