Опоры
Оси, валы и муфты
Общим для всех вращающихся деталей является то, что они установлены на осях и валах или соединены с ними.
Ось поддерживает установленные на ней детали, воспринимает поперечные (а иногда и продольные) усилия, но не передает вращающего момента; она работает главным образом на изгиб. Например, оси тормозных колес шасси не вращаются.
Вал передает вращающий момент; он поддерживает вращающиеся детали или соединяет их, испытывая кручение и изгиб, как, например, вал воздушного винта самолета, нагруженный силой тяжести винта и вращающим моментом.
Опорные части осей и валов называются цапфами; цапфа, расположенная на конце, называется шипом (отсюда опора шипа – подшипник), а промежуточная – шейкой.
Муфты служат для передачи вращающего момента от одного вала к другому при их последовательном расположении. В зависимости от назначения, конструкции, принципа действия различают следующие муфты:
жесткие муфты, которые служат для неподвижного соединения строго соосных валов;
|
|
|
компенсирующие муфты, соединяющие валы, оси которых имеют смещение относительно друг друга (радиальное или угловое);
сцепные муфты, обеспечивающие соединение и разъединение валов в работе;
шарнирные муфты, допускающие большие угловые смещения валов;
упругие муфты, сглаживающие неравномерность передаваемого момента;
предохранительные муфты, ограничивающие передаваемый максимальный вращающий момент;
обгонные муфты, обеспечивающие вращение ведомого вала при замедлении или остановке ведущего.
Опорные части валов и вращающихся осей соединяются с неподвижными частями конструкций корпусами подшипников. Подшипники поддерживают вращающиеся оси и валы и воспринимают от них радиальные и осевые нагрузки. Подшипники уменьшают трение, а, следовательно, и износ вращающихся деталей. В зависимости от характера трения рабочих элементов подшипники разделяются на подшипники скольжения и качения.
Подшипники скольжения – это опоры вращающихся деталей, работающие при относительном скольжении поверхности цапфы по поверхности подшипника, разделенных слоем смазки.
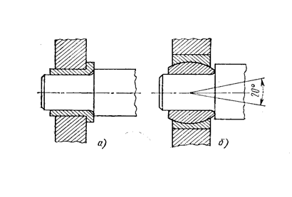
В простейших случаях при периодическом вращении вала подшипник (рис.4.6, а) представляет собой втулку из износоустойчивого материала (бронза, металлографитовый сплав, капрон и др.). При возможных перекосах подшипник делают самоустанавливающимся (рис.4.6, б). Подшипник периодически смазывают густой смазкой через специальные устройства.
При непрерывном вращении вала с достаточно большой скоростью подшипник обычно смазывается принудительно при помощи масляного насоса, подающего смазку в зазор между валом и подшипником. Масло увлекается вращающимся валом, в нем создается гидродинамическое давление, образуется «масляный клин», разделяющий трущиеся поверхности.
|
|
|
Скорость вращения вала, зазор между цапфой и подшипником, вязкость и количество подаваемого масла связаны между собой. При правильном соотношении между ними подшипник скольжения может длительное время эксплуатироваться без заметного износа.

Рис. 4.6. Простейшие подшипники скольжения
Масло не только смазывает трущиеся детали, но и отводит от них тепло, поэтому в масляную систему (например, авиационного двигателя) входят масляные радиаторы, в которых масло охлаждается.
Преимуществами подшипников скольжения являются:
- возможность восприятия больших нагрузок, в том числе и ударных;
- способность гасить вибрации валов;
- малые радиальные габаритные размеры;
- бесшумность работы.
Недостатками подшипников скольжения являются:
- зависимость работоспособности подшипника от условий смазки;
- большой расход смазки;
-большой износ при резко изменяющихся угловых скоростях вращения вала;
- большое трение в покое, а следовательно, потребность в больших пусковых моментах.
Подшипники качения – это опоры вращающихся или качающихся деталей, использующие элементы качения и работающие на основе трения качения.
Подшипники качения (рис.4.7) состоят из типовых деталей:
- наружного и внутреннего колец с дорожками качения;
- тел качения (шариков, роликов, игл);
- сепараторов, разделяющих и направляющих тела качения.

Рис. 4.7. Подшипник качения
Подшипниковые узлы, кроме собственно подшипников качения, могут иметь корпусы с крышками, крепления колец подшипников, устройства смазки и защиты.
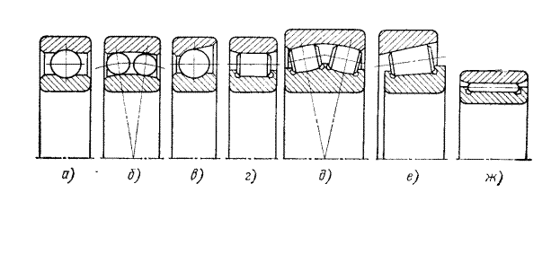
По форме тел качения различают шариковые (рис.4.8, а, б, в) и роликовые (рис.4.8, г – ж) подшипники. При этом ролики в подшипниках могут быть цилиндрическими (рис.4.8, г), коническими (рис.4.8, е), бочкообразными (рис.4.8, д), игольчатыми (рис.4.8, ж).

Рис. 4.8. Разновидности подшипников качения
Подшипники качения имеют международный стандарт, изготавливаются централизованно и относятся к группе деталей массового производства.
По сравнению с подшипниками скольжения они имеют ряд преимуществ:
- высокая взаимозаменяемость;
- малые осевые размеры;
- меньшие потери на трение и в результате меньший нагрев подшипников;
- малая зависимость моментов сил трения от скорости вращения в широком диапазоне;
- меньшие пусковые моменты;
- значительно меньшие требования к уходу, малый расход смазки и т.д.
Из недостатков подшипников качения наиболее важным является высокая, по сравнению с подшипниками скольжения, чувствительность к ударным нагрузкам из-за больших контактных напряжений. Это отрицательное качество в наиболее ответственных узлах в значительной степени может быть ослаблено некоторыми конструктивными решениями опорных узлов (переход от шариковых подшипников к роликовым, использование одновременно нескольких подшипников).
Соединения элементов бывают следующих типов: заклепочные, сварочные, клеевые, резьбовые, штифтовые, зубчатые (шлицевые).
Заклепки (рис.4.9)бывают стальные, из алюминиевых сплавов, из неметаллических материалов (стеклотекстолит, асбест и др.).
Сварные соединения обеспечиваются дуговой электросваркой, аргонодуговой сваркой, контактной сваркой. Сварные швы, выполненные дуговой сваркой, по виду поперечного сечения можно разделить на две основные группы: стыковые (рис.4.10, а – г) и угловые (рис.4.10, е, ж, з). Кроме того, существуют швы по отбортовке (рис.4.10, д) и прорезные (рис.4.10, и).

Рис. 4.9. Типы заклепок
Клеевые соединения могут быть двухслойными и многослойными. Кроме того, соединения могут быть комбинированными: клеесварными и клеезаклепочными.
Резьбовые соединения – соединение деталей с помощью резьбы, обеспечивающее их относительную неподвижность или заданное перемещение одной детали относительно другой.
|
|
|

Рис. 4.10. Типы сварных швов
Резьбы делятся:
- по нарезанной поверхности на наружные (болт, винт) и внутренние (гайка, гнездо);
- по направлению резьбы на правые и левые;
- по числу заходов на однозаходные и многозаходные (двухзаходные, трехзаходные);
- по эксплуатационному назначению на крепежные (метрические и дюймовые), используемые для скрепления деталей и как регулировочные элементы, и специальные (трапецеидальные, упорные, трубные, конические), применяемые для передачи движения в винтовых механизмах, создания герметичных соединений, передачи особо высоких осевых нагрузок и пр.
К основным видам крепежных резьбовых изделий относятся: болт (рис.4.11, а), винт (рис.4.11, б), шпилька (рис.4.11, в) и гайка.

Рис. 4.11. Основные виды крепежных резьбовых изделий